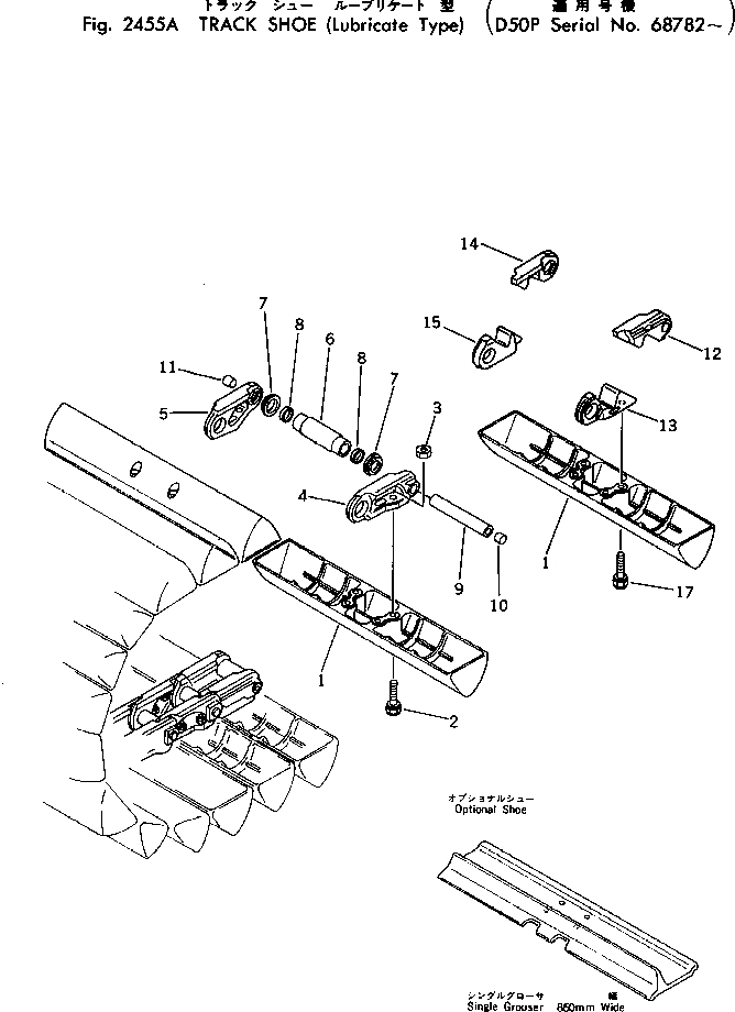
Запчасти Komatsu D50P-16 ГУСЕНИЦЫ (СМАЗЫВ. ТИПА)(№878-) ГУСЕНИЦЫ

Схема запчастей Komatsu D50P-16 - ГУСЕНИЦЫ (СМАЗЫВ. ТИПА)(№878-) ГУСЕНИЦЫ
FIT
1:1
100%

Артикул

Название

Примечание

Количество

|$$1

SWAMP 860MM

-1шт.

|$1

13F-32-01613

TRACK SHOE ASS'Y

SN: 68782-UP

1шт.

|$2

0

TRACK SHOE ASS'Y

SN: ..-68781

1шт.

|$3

0

TRACK SHOE ASS'Y

SN: .-..

1шт.

|$4

0

TRACK SHOE ASS'Y

SN: 68001-.

1шт.

1

13F-32-21110

SHOE,TRACK

SN: 68001-UP

94шт.

2

13F-32-21220

BOLT,SHOE (KIT)

SN: .-UP

360шт.

2

0

BOLT,SHOE (KIT)

SN: 68001-.

360шт.

3

01803-01622

NUT, SHOE (KIT)

SN: 68001-UP

360шт.

|$9

13F-32-00042

TRACK LINK ASS'Y

SN: 68782-UP

1шт.

|$10

0

TRACK LINK ASS'Y

SN: ..-68781

1шт.

|$11

0

TRACK LINK ASS'Y

SN: 68001-..

1шт.

4

130-32-11126

LINK,TRACK, L.H.

SN: 68001-UP

90шт.

5

130-32-11136

LINK,TRACK, R.H.

SN: 68001-UP

90шт.

6

130-32-21140

BUSHING

SN: 68001-UP

94шт.

7

130-32-21160

SEAL ASS'Y

SN: 68001-UP

188шт.

8

130-32-21190

SPACER

SN: 68001-UP

188шт.

9

130-32-21150

PIN

SN: 68001-UP

94шт.

10

198-32-11292

PLUG,LARGE

SN: ..-UP

94шт.

10

0

PLUG,LARGE

SN: 68001-..

94шт.

11

198-32-11311

PLUG,SMALL

SN: ..-UP

94шт.

11

0

PLUG,SMALL

SN: 68001-..

94шт.

12

130-32-21221

LINK, MASTER,L.H., PIN SIDE

SN: 68782-UP

4шт.

12

130-32-21220

LINK,MASTER, L.H., PIN SIDE

SN: 68001-68781

4шт.

13

130-32-21231

LINK, MASTER,L.H., BUSHING SIDE

SN: 68782-UP

4шт.

13

130-32-21230

LINK,MASTER, L.H., BUSHING SIDE

SN: 68001-68781

4шт.

14

130-32-21321

LINK, MASTER,R.H., PIN SIDE

SN: 68782-UP

4шт.

14

130-32-21320

LINK,MASTER, R.H., PIN SIDE

SN: 68001-68781

4шт.

15

130-32-21331

LINK, MASTER,R.H., BUSHING SIDE

SN: 68782-UP

4шт.

15

130-32-21330

LINK,MASTER, R.H., BUSHING SIDE

SN: 68001-68781

4шт.

16

130-32-21240

PIN,DOWEL

SN: 68001-68781

8шт.

17

130-32-21262

BOLT,MASTER LINK

SN: 68782-UP

16шт.

17

130-32-21261

BOLT,MASTER LINK

SN: 68001-68781

16шт.

|$$34

SERVICE KIT

-1шт.

1

13F-32-05000

SHOE BOLT AND NUT K.

SN: .-UP

1шт.

1

0

SHOE BOLT AND NUT K.

SN: 68001-.

1шт.

2

13F-32-21220

BOLT,SHOE

SN: .-UP

50шт.

2

0

BOLT,SHOE

SN: 68001-.

50шт.

3

01803-01622

NUT, SHOE

SN: 68001-UP

50шт.

|$$40

SINGLE 860MM

-1шт.

1

13F-32-01623

TRACK SHOE ASS'Y

SN: 68782-UP

1шт.

1

0

TRACK SHOE ASS'Y

SN: ..-68781

1шт.

1

0

TRACK SHOE ASS'Y

SN: .-..

1шт.

1

0

TRACK SHOE ASS'Y

SN: 68001-.

1шт.

1

13F-32-21210

SHOE,TRACK

SN: 68001-UP

94шт.

2

205-32-51120

BOLT, SHOE (KIT)

SN: .-UP

360шт.

2

0

BOLT, SHOE (KIT)

SN: 68001-.

360шт.

3

01803-01622

NUT, SHOE (KIT)

SN: 68001-UP

360шт.

4

13F-32-00052

TRACK LINK ASS'Y

SN: 68782-UP

1шт.

4

0

TRACK LINK ASS'Y

SN: ..-68781

1шт.

4

0

TRACK LINK ASS'Y

SN: 68001-..

1шт.

4

130-32-11126

LINK,TRACK, L.H.

SN: 68001-UP

90шт.

5

130-32-11136

LINK,TRACK, R.H.

SN: 68001-UP

90шт.

6

130-32-21140

BUSHING

SN: 68001-UP

94шт.

7

130-32-21160

SEAL ASS'Y

SN: 68001-UP

188шт.

8

130-32-21190

SPACER

SN: 68001-UP

188шт.

9

130-32-21150

PIN

SN: 68001-UP

94шт.

10

198-32-11292

PLUG,LARGE

SN: ..-UP

94шт.

10

0

PLUG,LARGE

SN: 68001-..

94шт.

11

198-32-11311

PLUG,SMALL

SN: ..-UP

94шт.

11

0

PLUG,SMALL

SN: 68001-..

94шт.

12

130-32-21221

LINK, MASTER,L.H., PIN SIDE

SN: 68782-UP

4шт.

12

130-32-21220

LINK,MASTER, L.H., PIN SIDE

SN: 68001-68781

4шт.

13

130-32-21231

LINK, MASTER,L.H., BUSHING SIDE

SN: 68782-UP

4шт.

13

130-32-21230

LINK,MASTER, L.H., BUSHING SIDE

SN: 68001-68781

4шт.

14

130-32-21321

LINK, MASTER,R.H., PIN SIDE

SN: 68782-UP

4шт.

14

130-32-21320

LINK,MASTER, R.H., PIN SIDE

SN: 68001-68781

4шт.

15

130-32-21331

LINK, MASTER,R.H., BUSHING SIDE

SN: 68782-UP

4шт.

15

130-32-21330

LINK,MASTER, R.H., BUSHING SIDE

SN: 68001-68781

4шт.

16

130-32-21240

PIN,DOWEL

SN: 68001-68781

8шт.

17

130-32-21252

BOLT, MASTER

SN: 68782-UP

16шт.

17

130-32-21251

BOLT,MASTER

SN: 68001-68781

16шт.

|$$73

SERVICE KIT,(FOR SINGLE)

-1шт.

1

205-32-05010

SHOE BOLT AND NUT K.

SN: .-UP

1шт.

1

0

SHOE BOLT AND NUT K.

SN: 68001-.

1шт.

2

205-32-51120

BOLT, SHOE

SN: .-UP

50шт.

2

0

BOLT, SHOE

SN: 68001-.

50шт.

3

01803-01622

NUT, SHOE

SN: 68001-UP

50шт.

|$$79

OVERSIZE PARTS

-1шт.

|$$80

0.10MM OVERSIZE

-1шт.

6

130-98-09210

BUSHING

SN: 68001-UP

-2шт.

9

130-98-09070

PIN

SN: 68001-UP

-2шт.

|$$83

0.18MM OVERSIZE

-1шт.

6

130-98-09220

BUSHING

SN: 68001-UP

-2шт.

9

130-98-09080

PIN

SN: 68001-UP

-2шт.

Выбрано товаров: 0