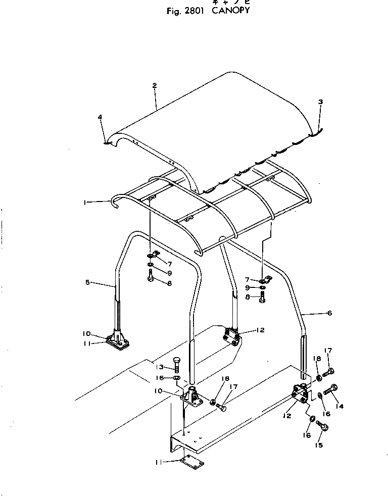
Запчасти Komatsu D50P-16 НАВЕС ОПЦИОННЫЕ КОМПОНЕНТЫ

Схема запчастей Komatsu D50P-16 - НАВЕС ОПЦИОННЫЕ КОМПОНЕНТЫ
FIT
1:1
100%

Артикул

Название

Примечание

Количество

|$0

130-Z06-0010

CANOPY ASS'Y

SN: 65001-UP

1шт.

1

131-906-1124

ROOF

SN: 65001-UP

1шт.

2

131-906-1210

SHEET

SN: 65001-UP

1шт.

3

131-906-1220

ROPE, 8.5M

SN: 65001-UP

1шт.

4

131-906-1230

ROPE, 0.7M

SN: 65001-UP

2шт.

5

130-Z06-6110

POLE

SN: 65001-UP

1шт.

6

130-Z06-6120

POLE

SN: 65001-UP

1шт.

7

131-906-1150

CLIP

SN: 65001-UP

4шт.

8

01010-31435

BOLT

SN: 65001-UP

8шт.

9

01602-01442

WASHER

SN: 65001-UP

8шт.

10

135-Z06-3130

BRACKET

SN: 65001-UP

2шт.

11

130-Z06-6140

PLATE

SN: 65001-UP

2шт.

12

130-Z06-6130

BRACKET

SN: 65001-UP

2шт.

13

01010-31650

BOLT

SN: 65001-UP

8шт.

14

01010-31665

BOLT

SN: 65001-UP

4шт.

15

01010-31645

BOLT

SN: 65001-UP

4шт.

16

01643-31645

WASHER

SN: 65001-UP

16шт.

17

01016-31450

BOLT

SN: 65001-UP

8шт.

18

01580-01411

NUT

SN: 65001-UP

8шт.

Выбрано товаров: 0