Запчасти Komatsu 4D130-1C-P ВОДООТДЕЛИТЕЛЬ И КРЕПЛЕНИЕ ТОПЛИВН. СИСТЕМА

Схема запчастей Komatsu 4D130-1C-P - ВОДООТДЕЛИТЕЛЬ И КРЕПЛЕНИЕ ТОПЛИВН. СИСТЕМА
FIT
1:1
100%

Артикул

Название

Примечание

Количество

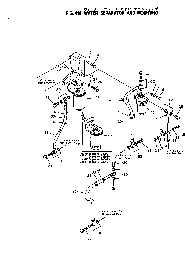
1

600-311-9700

WATER SEPARATOR A.,(SEE FIG.417)

SN: .-UP

1шт.

1

0

WATER SEPARATOR A.,(SEE FIG.417)

SN: 10544-.

1шт.

2

6114-71-6180

BRACKET

SN: 10544-UP

1шт.

3

195-01-14540

COLLAR

SN: 10544-UP

2шт.

4

01010-31045

BOLT

SN: 10544-UP

2шт.

5

01602-01030

WASHER

SN: 10544-UP

2шт.

6

01010-30830

BOLT

SN: 10544-UP

2шт.

7

01602-00825

WASHER

SN: 10544-UP

2шт.

8

01640-00816

WASHER

SN: 10544-UP

2шт.

9

6114-71-6170

TUBE

SN: 10544-UP

1шт.

10

07206-11014

BOLT

SN: 10544-UP

1шт.

11

07206-11014

BOLT

SN: 10544-UP

1шт.

12

07005-01412

GASKET

SN: 10544-UP

4шт.

13

234-43-14690

CLIP

SN: 10544-UP

1шт.

14

195-03-11580

CLIP

SN: 10544-UP

1шт.

15

01010-31020

BOLT

SN: 10544-UP

1шт.

16

01602-01030

WASHER

SN: 10544-UP

1шт.

17

01640-01016

WASHER

SN: 10544-UP

1шт.

18

01580-01008

NUT

SN: 10544-UP

1шт.

19

07271-01440

HOSE

SN: 10544-UP

1шт.

20

07271-01460

HOSE

SN: 10544-UP

1шт.

21

07271-01445

HOSE

SN: 10544-UP

1шт.

22

6130-72-5910

HOSE

SN: 10544-UP

2шт.

23

08034-00519

BAND

SN: 10544-UP

2шт.

24

08034-00310

BAND

SN: 10544-UP

4шт.

25

6114-71-6200

FUEL FILTER ASS'Y,(SEE FIG.411A)(D50A)

SN: 23892-UP

1шт.

25

6114-71-6200

FUEL FILTER ASS'Y,(SEE FIG.412A)(D50P)

SN: 24224-UP

1шт.

25

6114-71-6100

FUEL FILTER ASS'Y,(SEE FIG.411)(D50A)

SN: 10544-23891

1шт.

25

6114-71-6100

FUEL FILTER ASS'Y,(SEE FIG.412)(D50P)

SN: 10544-24223

1шт.

26

01010-31030

BOLT

SN: 10544-UP

2шт.

27

01602-01030

WASHER

SN: 10544-UP

2шт.

28

01640-01016

WASHER

SN: 10544-UP

2шт.

29

07206-11014

BOLT

SN: 10544-UP

5шт.

30

07005-01412

GASKET

SN: 10544-UP

10шт.

1

600-311-9700

WATER SEPARATOR A.,(SEE FIG.417)

SN: .-UP

1шт.

1

0

WATER SEPARATOR A.,(SEE FIG.417)

SN: 10544-.

1шт.

2

6114-71-6180

BRACKET

SN: 10544-UP

1шт.

3

195-01-14540

COLLAR

SN: 10544-UP

2шт.

4

01010-31045

BOLT

SN: 10544-UP

2шт.

5

01602-01030

WASHER

SN: 10544-UP

2шт.

6

01010-30830

BOLT

SN: 10544-UP

2шт.

7

01602-00825

WASHER

SN: 10544-UP

2шт.

8

01640-00816

WASHER

SN: 10544-UP

2шт.

9

6114-71-6170

TUBE

SN: 10544-UP

1шт.

10

07206-11014

BOLT

SN: 10544-UP

1шт.

11

07206-11014

BOLT

SN: 10544-UP

1шт.

12

07005-01412

GASKET

SN: 10544-UP

4шт.

13

234-43-14690

CLIP

SN: 10544-UP

1шт.

14

195-03-11580

CLIP

SN: 10544-UP

1шт.

15

01010-31020

BOLT

SN: 10544-UP

1шт.

16

01602-01030

WASHER

SN: 10544-UP

1шт.

17

01640-01016

WASHER

SN: 10544-UP

1шт.

18

01580-01008

NUT

SN: 10544-UP

1шт.

19

07271-01440

HOSE

SN: 10544-UP

1шт.

20

07271-01460

HOSE

SN: 10544-UP

1шт.

21

07271-01445

HOSE

SN: 10544-UP

1шт.

22

6130-72-5910

HOSE

SN: 10544-UP

2шт.

23

08034-00519

BAND

SN: 10544-UP

2шт.

24

08034-00310

BAND

SN: 10544-UP

4шт.

25

6114-71-6200

FUEL FILTER ASS'Y,(SEE FIG.411A)(D50A)

SN: 23892-UP

1шт.

25

6114-71-6200

FUEL FILTER ASS'Y,(SEE FIG.412A)(D50P)

SN: 24224-UP

1шт.

25

6114-71-6100

FUEL FILTER ASS'Y,(SEE FIG.411)(D50A)

SN: 10544-23891

1шт.

25

6114-71-6100

FUEL FILTER ASS'Y,(SEE FIG.412)(D50P)

SN: 10544-24223

1шт.

26

01010-31030

BOLT

SN: 10544-UP

2шт.

27

01602-01030

WASHER

SN: 10544-UP

2шт.

28

01640-01016

WASHER

SN: 10544-UP

2шт.

29

07206-11014

BOLT

SN: 10544-UP

5шт.

30

07005-01412

GASKET

SN: 10544-UP

10шт.

Выбрано товаров: 0