Запчасти Komatsu SL4D130-1B ВОЗДУХООЧИСТИТЕЛЬ ГОЛОВКА ЦИЛИНДРОВ

Схема запчастей Komatsu SL4D130-1B - ВОЗДУХООЧИСТИТЕЛЬ ГОЛОВКА ЦИЛИНДРОВ
FIT
1:1
100%

Артикул

Название

Примечание

Количество

|$0

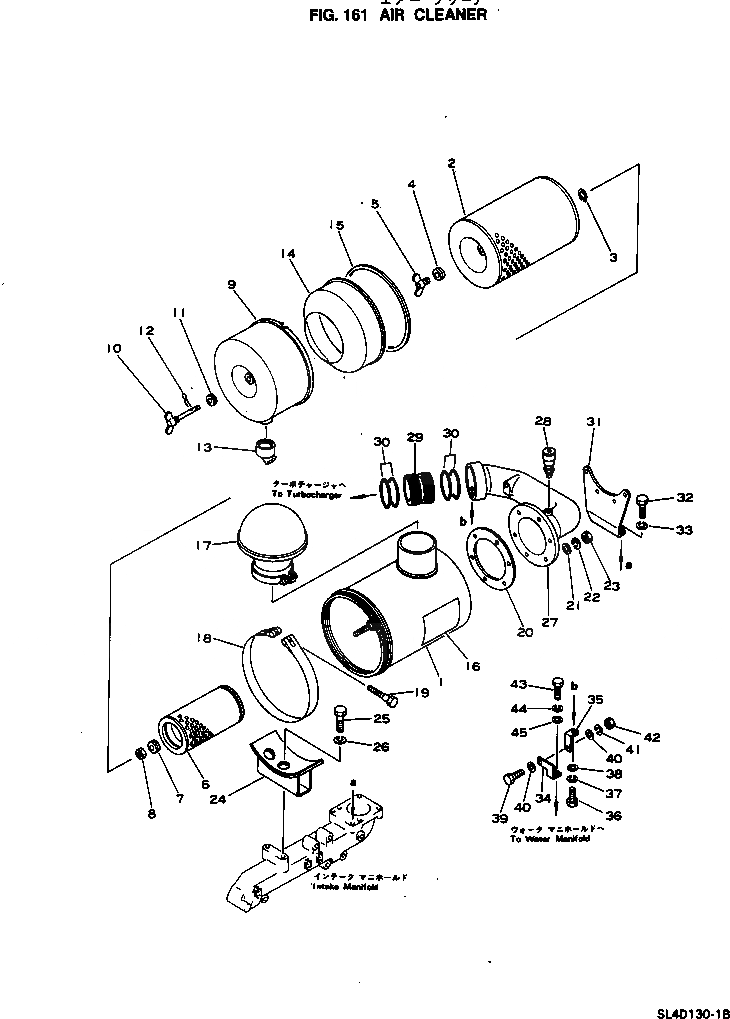
6114-81-7202

AIR CLEANER ASS'Y

SN: 24224-UP

1шт.

1

6114-81-7211

BODY

SN: 24224-UP

1шт.

|$2

6114-80-7101

ELEMENT ASS'Y

SN: 24224-UP

1шт.

|$3

600-181-2500

ELEMENT ASS'Y,OUTER

SN: 24224-UP

1шт.

2

0

ELEMENT,OUTER

SN: 24224-UP

1шт.

3

04064-01510

RING

SN: 24224-UP

1шт.

4

600-181-7511

WASHER

SN: 24224-UP

1шт.

5

600-181-2471

NUT

SN: 24224-UP

1шт.

6

0

ELEMENT,INNER

SN: 24224-UP

1шт.

7

600-181-7511

WASHER

SN: 24224-UP

1шт.

8

600-181-9631

NUT

SN: 24224-UP

1шт.

|$11

600-181-2520

DUST PAN ASS'Y

SN: 24224-UP

1шт.

9

600-181-2580

PAN

SN: 24224-UP

1шт.

10

600-181-2570

BOLT

SN: 24224-UP

1шт.

11

600-181-7511

WASHER

SN: 24224-UP

1шт.

12

04052-01038

PIN

SN: 24224-UP

1шт.

13

600-181-2480

VALVE

SN: 24224-UP

1шт.

14

600-181-2510

GUIDE

SN: 24224-UP

1шт.

15

600-181-2490

GASKET

SN: 24224-UP

1шт.

16

09637-00160

PLATE, INSTRUCTION,(JAPANESE-ENGLISH)

SN: 24224-UP

1шт.

16

09637-30160

PLATE, INSTRUCTION,(ENGLISH)

SN: 24224-UP

1шт.

17

600-181-2440

CAP

SN: 24224-UP

1шт.

18

6691-11-4610

BAND ASS'Y

SN: 24224-UP

1шт.

18

6110-11-4520

PIN

SN: 24224-UP

1шт.

18

6110-11-4530

PIN, WITH THREAD

SN: 24224-UP

1шт.

19

6643-11-4641

BOLT

SN: 24224-UP

1шт.

20

6675-11-4381

GASKET (K1)

SN: 24224-UP

1шт.

21

01640-21016

WASHER

SN: 24224-UP

6шт.

22

01602-01030

WASHER

SN: 24224-UP

6шт.

23

01582-01008

NUT

SN: 24224-UP

6шт.

24

6115-11-4630

BRACKET

SN: 24224-UP

1шт.

25

01010-31020

BOLT

SN: 24224-UP

2шт.

26

01602-01030

WASHER

SN: 24224-UP

2шт.

27

6115-11-4313

PIPE

SN: 24224-UP

1шт.

28

08670-00635

INDICATOR

SN: 24224-UP

1шт.

29

6115-11-4323

PIPE

SN: 24224-UP

1шт.

30

02895-67091

O-RING (K1)

SN: 24224-UP

4шт.

31

6115-11-4621

STAY

SN: 24224-UP

1шт.

32

01010-31025

BOLT

SN: 24224-UP

2шт.

33

01602-01030

WASHER

SN: 24224-UP

2шт.

34

6115-11-4231

PLATE

SN: 24224-UP

1шт.

35

6115-11-4241

PLATE

SN: 24224-UP

1шт.

36

01010-31020

BOLT

SN: 24224-UP

1шт.

37

01602-01030

WASHER

SN: 24224-UP

1шт.

38

01642-21016

WASHER

SN: 24224-UP

1шт.

39

01010-31025

BOLT

SN: 24224-UP

1шт.

40

01642-21016

WASHER

SN: 24224-UP

2шт.

41

01602-01030

WASHER

SN: 24224-UP

1шт.

42

01580-01008

NUT

SN: 24224-UP

1шт.

43

01010-30820

BOLT

SN: 24224-UP

1шт.

44

01602-00825

WASHER

SN: 24224-UP

1шт.

45

01642-20810

WASHER

SN: 24224-UP

1шт.

|$0

6114-81-7202

AIR CLEANER ASS'Y

SN: 24224-UP

1шт.

1

6114-81-7211

BODY

SN: 24224-UP

1шт.

|$2

6114-80-7101

ELEMENT ASS'Y

SN: 24224-UP

1шт.

|$3

600-181-2500

ELEMENT ASS'Y,OUTER

SN: 24224-UP

1шт.

2

0

ELEMENT,OUTER

SN: 24224-UP

1шт.

3

04064-01510

RING

SN: 24224-UP

1шт.

4

600-181-7511

WASHER

SN: 24224-UP

1шт.

5

600-181-2471

NUT

SN: 24224-UP

1шт.

6

0

ELEMENT,INNER

SN: 24224-UP

1шт.

7

600-181-7511

WASHER

SN: 24224-UP

1шт.

8

600-181-9631

NUT

SN: 24224-UP

1шт.

|$11

600-181-2520

DUST PAN ASS'Y

SN: 24224-UP

1шт.

9

600-181-2580

PAN

SN: 24224-UP

1шт.

10

600-181-2570

BOLT

SN: 24224-UP

1шт.

11

600-181-7511

WASHER

SN: 24224-UP

1шт.

12

04052-01038

PIN

SN: 24224-UP

1шт.

13

600-181-2480

VALVE

SN: 24224-UP

1шт.

14

600-181-2510

GUIDE

SN: 24224-UP

1шт.

15

600-181-2490

GASKET

SN: 24224-UP

1шт.

16

09637-00160

PLATE, INSTRUCTION,(JAPANESE-ENGLISH)

SN: 24224-UP

1шт.

16

09637-30160

PLATE, INSTRUCTION,(ENGLISH)

SN: 24224-UP

1шт.

17

600-181-2440

CAP

SN: 24224-UP

1шт.

18

6691-11-4610

BAND ASS'Y

SN: 24224-UP

1шт.

18

6110-11-4520

PIN

SN: 24224-UP

1шт.

18

6110-11-4530

PIN, WITH THREAD

SN: 24224-UP

1шт.

19

6643-11-4641

BOLT

SN: 24224-UP

1шт.

20

6675-11-4381

GASKET (K1)

SN: 24224-UP

1шт.

21

01640-21016

WASHER

SN: 24224-UP

6шт.

22

01602-01030

WASHER

SN: 24224-UP

6шт.

23

01582-01008

NUT

SN: 24224-UP

6шт.

24

6115-11-4630

BRACKET

SN: 24224-UP

1шт.

25

01010-31020

BOLT

SN: 24224-UP

2шт.

26

01602-01030

WASHER

SN: 24224-UP

2шт.

27

6115-11-4313

PIPE

SN: 24224-UP

1шт.

28

08670-00635

INDICATOR

SN: 24224-UP

1шт.

29

6115-11-4323

PIPE

SN: 24224-UP

1шт.

30

02895-67091

O-RING (K1)

SN: 24224-UP

4шт.

31

6115-11-4621

STAY

SN: 24224-UP

1шт.

32

01010-31025

BOLT

SN: 24224-UP

2шт.

33

01602-01030

WASHER

SN: 24224-UP

2шт.

34

6115-11-4231

PLATE

SN: 24224-UP

1шт.

35

6115-11-4241

PLATE

SN: 24224-UP

1шт.

36

01010-31020

BOLT

SN: 24224-UP

1шт.

37

01602-01030

WASHER

SN: 24224-UP

1шт.

38

01642-21016

WASHER

SN: 24224-UP

1шт.

39

01010-31025

BOLT

SN: 24224-UP

1шт.

40

01642-21016

WASHER

SN: 24224-UP

2шт.

41

01602-01030

WASHER

SN: 24224-UP

1шт.

42

01580-01008

NUT

SN: 24224-UP

1шт.

43

01010-30820

BOLT

SN: 24224-UP

1шт.

44

01602-00825

WASHER

SN: 24224-UP

1шт.

45

01642-20810

WASHER

SN: 24224-UP

1шт.

Выбрано товаров: 104