Запчасти Komatsu D50P-17 АККУМУЛЯТОР (ВЫСОК. ЕМК.) КОМПОНЕНТЫ ДВИГАТЕЛЯ И ЭЛЕКТРИКА

Схема запчастей Komatsu D50P-17 - АККУМУЛЯТОР (ВЫСОК. ЕМК.) КОМПОНЕНТЫ ДВИГАТЕЛЯ И ЭЛЕКТРИКА
FIT
1:1
100%

Артикул

Название

Примечание

Количество

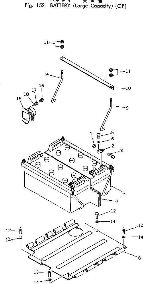
1

08000-02220

BATTERY (190H52)

SN: 80001-UP

2шт.

1

08000-12220

BATTERY (190H52),(DRY TYPE)

SN: 80001-UP

2шт.

2

08000-00000

TERMINAL, (+)

SN: 80001-UP

2шт.

2

08000-00001

TERMINAL, (-)

SN: 80001-UP

2шт.

3

120-06-31171

PLATE

SN: 80001-UP

3шт.

4

130-06-71120

PLATE

SN: 80001-UP

1шт.

5

120-06-31151

BOLT

SN: 80001-UP

4шт.

6

120-06-31141

HOLDER

SN: 80001-UP

2шт.

7

01580-11008

NUT

SN: 80001-UP

8шт.

8

01010-51230

BOLT

SN: 80001-UP

4шт.

9

01602-21236

WASHER,SPRING

SN: 80001-UP

4шт.

10

08088-10000

SWITCH,BATTERY

SN: 80001-UP

1шт.

11

01010-50820

BOLT

SN: 80001-UP

2шт.

12

01602-20825

WASHER,SPRING

SN: 80001-UP

2шт.

13

01643-30823

WASHER

SN: 80001-UP

2шт.

Выбрано товаров: 15