Запчасти Komatsu D50P-17 ПАНЕЛЬ ПРИБОРОВ КОМПОНЕНТЫ ДВИГАТЕЛЯ И ЭЛЕКТРИКА

Схема запчастей Komatsu D50P-17 - ПАНЕЛЬ ПРИБОРОВ КОМПОНЕНТЫ ДВИГАТЕЛЯ И ЭЛЕКТРИКА
FIT
1:1
100%

Артикул

Название

Примечание

Количество

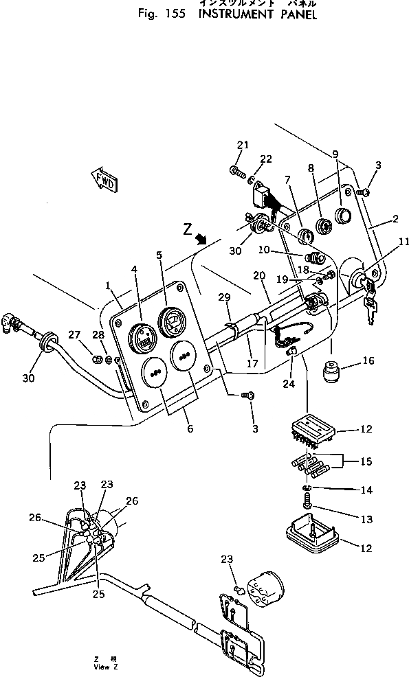
1

144-06-32150

PANEL,L.H.

SN: 80001-UP

1шт.

2

144-06-51110

PANEL,R.H.

SN: 80001-UP

1шт.

3

01225-40616

SCREW

SN: 80001-UP

8шт.

4

08687-22402

METER,SERVICE

SN: 80001-UP

1шт.

5

195-06-23110

GAUGE,ENGINE WATER TEMPERATURE

SN: 80001-UP

1шт.

6

09414-00053

CAP

SN: 80001-UP

2шт.

7

125-06-22220

LAMP,CHARGE

SN: 80001-UP

1шт.

8

125-06-22210

LAMP,OIL PRESSURE

SN: 80001-UP

1шт.

9

600-815-3730

SIGNAL,HEATER

SN: 80001-UP

1шт.

10

08061-60010

SWITCH,LAMP

SN: 80001-UP

1шт.

11

08086-10000

SWITCH,STARTING

SN: 80001-UP

1шт.

12

08043-04000

BOX

SN: 80997-UP

1шт.

12

0

BOX,FUSE

SN: 80001-80996

1шт.

13

01220-40520

SCREW

SN: 80001-UP

2шт.

14

01601-20513

WASHER,SPRING

SN: 80001-UP

2шт.

15

08040-01000

FUSE, 10A

SN: 80001-UP

2шт.

15

08040-02000

FUSE, 20A

SN: 80001-UP

2шт.

16

08670-50001

INDICATOR,DUST

SN: 80001-UP

1шт.

17

08671-00140

HOSE

SN: 80001-UP

1шт.

18

01010-50610

BOLT

SN: 80001-UP

2шт.

19

01602-20619

WASHER,SPRING

SN: 80001-UP

2шт.

20

144-06-52120

WIRE

SN: 80001-UP

1шт.

21

01220-40516

SCREW

SN: 80001-UP

2шт.

22

01601-20513

WASHER,SPRING

SN: 80001-UP

2шт.

23

08038-00519

CAP

SN: 80001-UP

15шт.

24

08038-00519

CAP

SN: 80001-UP

3шт.

25

08038-00525

CAP

SN: 80001-UP

2шт.

26

08038-02027

CAP

SN: 80001-UP

3шт.

27

01580-10605

NUT

SN: 80001-UP

2шт.

28

01602-20619

WASHER,SPRING

SN: 80001-UP

2шт.

29

08034-00823

BAND

SN: 80001-UP

1шт.

30

125-06-22250

CAP

SN: 80001-UP

2шт.

Выбрано товаров: 0