Запчасти Komatsu D50P-18 ТОПЛИВОПРОВОД.(№8-8) ТОПЛИВН. БАК. AND КОМПОНЕНТЫ

Схема запчастей Komatsu D50P-18 - ТОПЛИВОПРОВОД.(№8-8) ТОПЛИВН. БАК. AND КОМПОНЕНТЫ
FIT
1:1
100%

Артикул

Название

Примечание

Количество

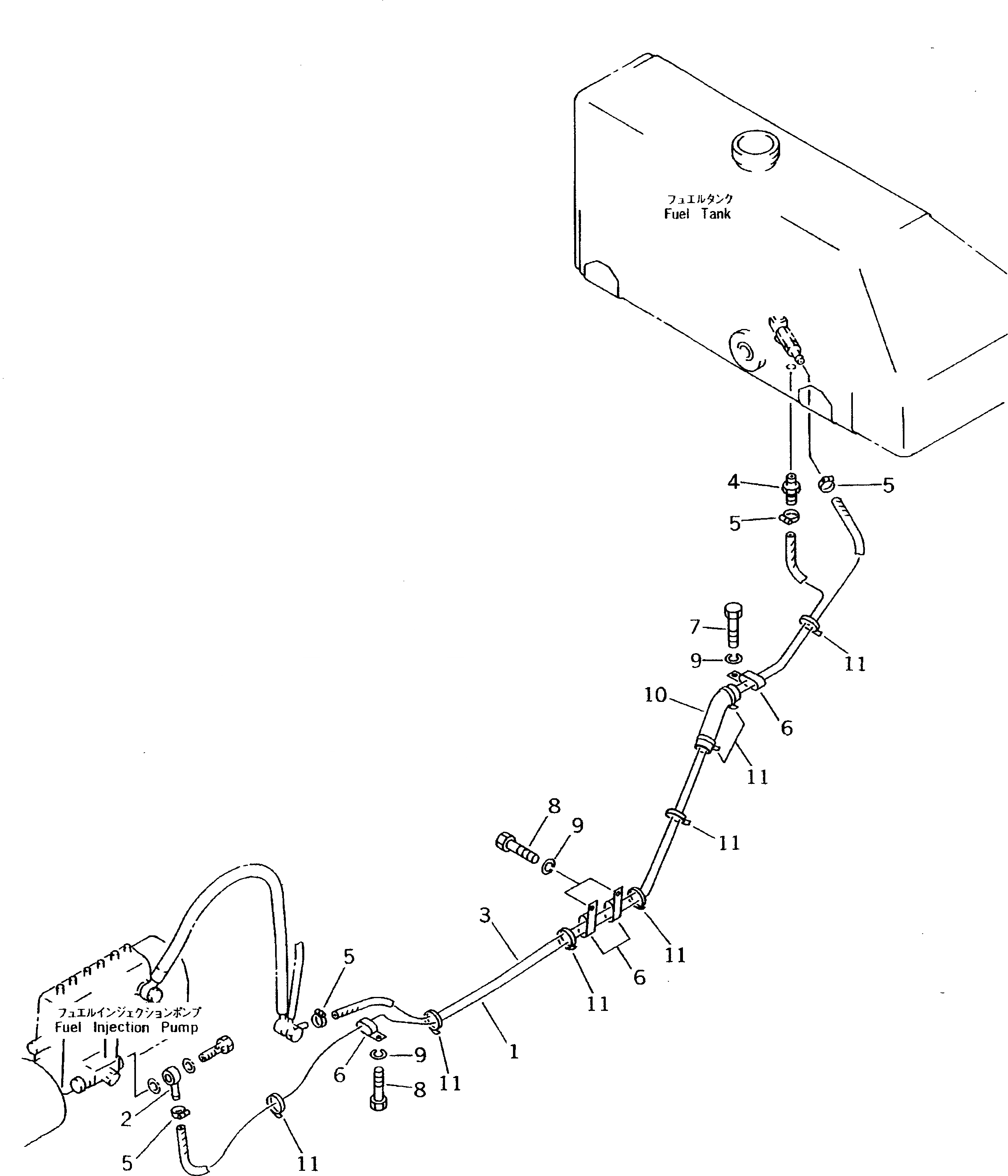
1

07288-01027

HOSE

SN: 83001-84006

1шт.

2

6144-71-5750

JOINT

SN: 83001-84006

1шт.

3

07288-21025

HOSE,(D50P)

SN: 83001-84006

1шт.

|3

07288-01023

HOSE,(D50P)

SN: 83001-84006

1шт.

4

130-04-71230

NIPPLE

SN: 83001-84006

1шт.

5

07281-00197

CLAMP

SN: 83001-84006

4шт.

6

141-01-33250

CLIP

SN: 83001-84006

4шт.

7

01010-81030

BOLT

SN: 83001-84006

1шт.

8

01010-81016

BOLT

SN: 83001-84006

3шт.

9

01602-21030

WASHER,SPRING

SN: 83001-84006

4шт.

10

203-04-31230

COVER

SN: 83001-84006

1шт.

11

08034-00519

BAND

SN: 83001-84006

10шт.

Выбрано товаров: 12