Запчасти Komatsu D50P-18 ЗАЩИТА РАДИАТОРА (С ЗАСЛОНКА РАДИАТОРА) ЧАСТИ КОРПУСА

Схема запчастей Komatsu D50P-18 - ЗАЩИТА РАДИАТОРА (С ЗАСЛОНКА РАДИАТОРА) ЧАСТИ КОРПУСА
FIT
1:1
100%

Артикул

Название

Примечание

Количество

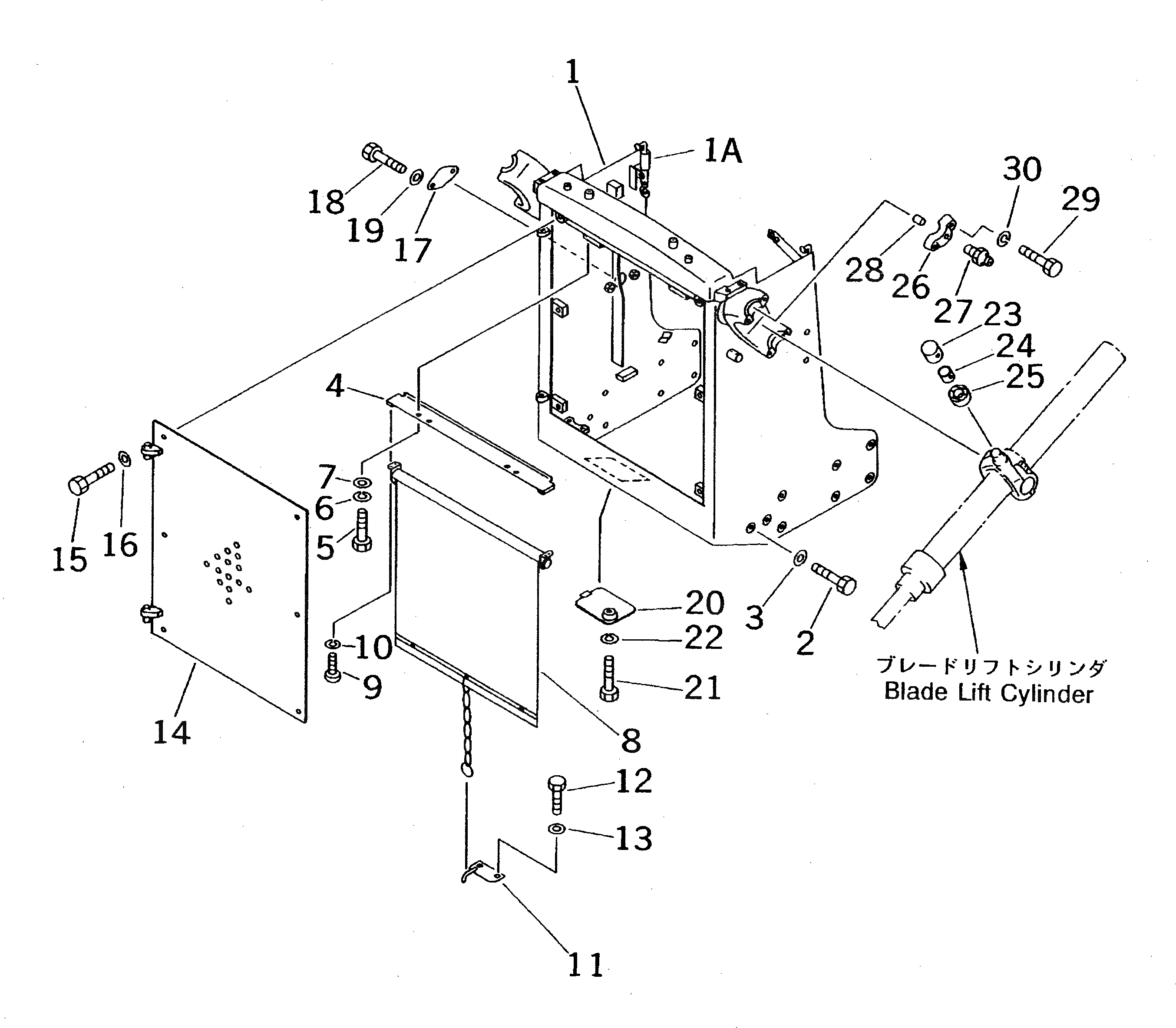
1

13F-B55-1110

GUARD,RADIATOR

SN: 83001-UP

1шт.

1A

120-54-31220

CATCHER ASS'Y,ENGINE HOOD (WELDED)

SN: 83001-UP

2шт.

2

01019-12010

BOLT

SN: 83001-UP

16шт.

3

01643-32060

WASHER

SN: 83001-UP

16шт.

4

13F-A55-1120

PLATE

SN: 83001-UP

1шт.

5

01010-51020

BOLT

SN: 83001-UP

4шт.

6

01602-21030

WASHER,SPRING

SN: 83001-UP

4шт.

7

01640-21016

WASHER

SN: 83001-UP

4шт.

8

141-949-2110

SHUTTER

SN: 83001-UP

1шт.

9

01220-40412

SCREW

SN: 83001-UP

4шт.

10

01601-20410

WASHER,SPRING

SN: 83001-UP

4шт.

11

130-A55-1330

PLATE

SN: 83001-UP

1шт.

12

01010-51025

BOLT

SN: 83001-UP

2шт.

13

01640-21016

WASHER

SN: 83001-UP

2шт.

14

134-54-31251

GRILLE

SN: 83269-UP

1шт.

|14

134-54-31250

GRILLE

SN: 83001-83268

1шт.

15

01010-51640

BOLT

SN: 83001-UP

6шт.

16

01643-31645

WASHER

SN: 83001-UP

6шт.

17

130-54-71130

COVER

SN: 83001-UP

1шт.

18

01010-51235

BOLT

SN: 83001-UP

2шт.

19

01643-31232

WASHER

SN: 83001-UP

2шт.

20

130-54-71120

COVER

SN: 83001-UP

1шт.

21

01010-51230

BOLT

SN: 83001-UP

1шт.

22

01602-21236

WASHER,SPRING

SN: 83001-UP

1шт.

23

130-54-61440

HOUSING

SN: 83001-UP

4шт.

24

130-54-61450

BUSHING

SN: 83001-UP

4шт.

25

07145-00045

SEAL,DUST

SN: 83001-UP

4шт.

26

130-54-61420

CAP

SN: 83001-UP

4шт.

27

07020-00000

FITTING,GREASE

SN: 83001-UP

4шт.

28

170-70-15190

PIN,DOWEL

SN: 83001-UP

4шт.

29

01010-51460

BOLT

SN: 83001-UP

8шт.

30

01602-21442

WASHER,SPRING

SN: 83001-UP

8шт.

Выбрано товаров: 32