Запчасти Komatsu D50PL-16 КОРПУС ТРАНСМИССИИ ОСНОВН. МУФТА И ТРАНСМИССИЯ

Схема запчастей Komatsu D50PL-16 - КОРПУС ТРАНСМИССИИ ОСНОВН. МУФТА И ТРАНСМИССИЯ
FIT
1:1
100%

Артикул

Название

Примечание

Количество

|1

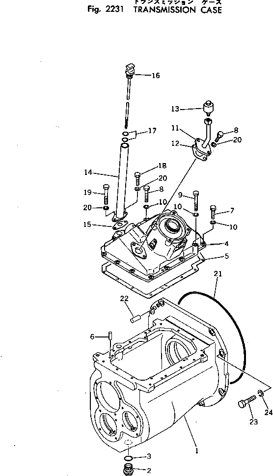
13F-14-00010

TRANSMISSION ASS'Y

SN: 65001-UP

1шт.

1

131-14-61110

CASE

SN: 65001-UP

1шт.

2

07044-13620

PLUG

SN: 65001-UP

1шт.

3

07002-03634

O-RING (KIT)

SN: 65001-UP

1шт.

4

131-14-62210

COVER

SN: 65001-UP

1шт.

5

131-14-42530

GASKET (KIT)

SN: 65001-UP

1шт.

6

04020-01024

PIN

SN: 65001-UP

2шт.

7

01010-31030

BOLT

SN: 65001-UP

10шт.

8

01010-31060

BOLT

SN: 65001-UP

2шт.

9

01010-31070

BOLT

SN: 65001-UP

1шт.

10

01602-01030

WASHER

SN: 65001-UP

13шт.

11

131-14-61150

TUBE

SN: 65001-UP

1шт.

12

131-14-42580

GASKET (KIT)

SN: 65001-UP

1шт.

13

07030-00252

BREATHER

SN: 65001-UP

1шт.

14

130-14-61110

FILLER

SN: 65001-UP

1шт.

15

131-14-61140

GASKET (KIT)

SN: 65001-UP

1шт.

16

130-14-61120

GAUGE

SN: 65001-UP

1шт.

17

07002-02434

O-RING (KIT)

SN: .-UP

2шт.

|17

07000-03022

O-RING (KIT)

SN: 65001-.

2шт.

18

01010-31030

BOLT

SN: 65001-UP

3шт.

19

01010-31070

BOLT

SN: 65001-UP

1шт.

20

01602-01030

WASHER

SN: 65001-UP

4шт.

21

07000-05440

O-RING (KIT)

SN: 65001-UP

1шт.

22

04020-01638

PIN

SN: 65001-UP

1шт.

23

01010-31850

BOLT

SN: 65001-UP

8шт.

24

01602-21854

WASHER

SN: 65001-UP

8шт.

Выбрано товаров: 26