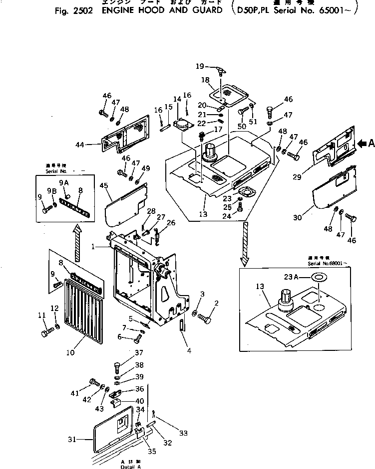
Запчасти Komatsu D50PL-16 КАПОТ И ЧАСТИ КОРПУСА ЧАСТИ КОРПУСА

Схема запчастей Komatsu D50PL-16 - КАПОТ И ЧАСТИ КОРПУСА ЧАСТИ КОРПУСА
FIT
1:1
100%

Артикул

Название

Примечание

Количество

|1

13F-54-11211

GUARD

SN: .-UP

1шт.

|1

0

GUARD

SN: 65001-.

1шт.

1

130-54-61530

STAY

SN: 65001-UP

1шт.

2

01019-02010

BOLT

SN: 65001-UP

16шт.

3

01643-32060

WASHER

SN: 65001-UP

16шт.

4

04089-02016

NUT

SN: 65001-UP

8шт.

5

13G-54-21120

COVER

SN: 65001-UP

1шт.

6

01010-31230

BOLT

SN: 65001-UP

1шт.

7

01602-21236

WASHER

SN: 65001-UP

1шт.

8

12F-54-11420

PLATE¤ MARK

SN: .-UP

1шт.

|8

12F-54-11410

PLATE¤ MARK

SN: 65001-.

1шт.

9

01010-50845

BOLT

SN: .-UP

2шт.

|9

01225-30840

SCREW

SN: 65001-.

2шт.

9A

195-979-3510

SPACER

SN: .-UP

2шт.

9B

01602-20825

WASHER

SN: .-UP

2шт.

10

13F-54-11310

GRILLE

SN: 65001-UP

1шт.

11

01010-31220

BOLT

SN: 65001-UP

4шт.

12

01602-01236

WASHER

SN: 65001-UP

4шт.

13

130-A46-1110

BONNET

SN: 68001-UP

1шт.

|13

130-54-61330

HOOD

SN: 65001-68000

1шт.

14

130-54-61140

COVER

SN: 65001-UP

1шт.

15

131-54-11270

PIN

SN: 65001-UP

1шт.

16

04050-01610

PIN

SN: 65001-UP

2шт.

17

09459-00000

LOCK

SN: 65001-UP

1шт.

18

130-54-61340

COVER

SN: 65001-UP

1шт.

19

135-54-31290

HANDLE

SN: 65001-UP

1шт.

20

135-54-31310

STOPPER

SN: 65001-UP

1шт.

21

01643-31032

WASHER

SN: 65001-UP

1шт.

22

04025-00316

PIN

SN: 65001-UP

1шт.

23

131-54-61170

COVER

SN: 65001-68000

1шт.

23A

130-A46-1120

COVER

SN: 68001-UP

1шт.

24

01010-31030

BOLT

SN: 65001-68000

4шт.

25

01602-01030

WASHER

SN: 65001-68000

4шт.

26

09451-00000

CATCHER

SN: 65001-.

2шт.

27

04205-10516

PIN

SN: 65001-.

2шт.

28

04050-01208

PIN

SN: 65001-.

2шт.

|29

13F-54-00010

COVER ASS'Y,UPPER

SN: .-UP

1шт.

|29

130-54-00320

COVER ASS'Y,UPPER

SN: 65001-.

1шт.

|29

130-54-00310

COVER ASS'Y,LOWER

SN: 65001-UP

1шт.

29

0

COVER,UPPER

SN: .-UP

1шт.

|29

0

COVER,UPPER

SN: 65001-.

1шт.

30

0

COVER,LOWER

SN: 65001-UP

1шт.

31

130-54-61190

COVER

SN: 65001-UP

1шт.

32

09461-00022

PIN

SN: 65001-UP

1шт.

33

04050-03018

PIN

SN: 65001-UP

2шт.

34

09461-00023

SPRING

SN: 65001-UP

1шт.

35

09461-00021

LEVER

SN: 65001-UP

1шт.

36

114-54-11170

BRACKET

SN: 65001-UP

2шт.

37

01010-30820

BOLT

SN: 65001-UP

4шт.

38

01602-00825

WASHER

SN: 65001-UP

4шт.

39

01643-30823

WASHER

SN: 65001-UP

4шт.

40

09461-00012

BRACKET

SN: 65001-UP

2шт.

41

01010-31025

BOLT

SN: 65001-UP

4шт.

42

01602-01030

WASHER

SN: 65001-UP

4шт.

43

01643-31032

WASHER

SN: 65001-UP

4шт.

44

13F-54-11250

COVER,UPPER

SN: .-UP

1шт.

|44

130-54-61360

COVER,UPPER

SN: 65001-.

1шт.

45

130-54-61220

COVER,LOWER

SN: 65001-UP

1шт.

46

01010-31225

BOLT

SN: 65001-UP

19шт.

47

01602-01236

WASHER

SN: 65001-UP

19шт.

48

01643-31232

WASHER

SN: 65001-UP

18шт.

49

130-54-61230

WASHER

SN: 65001-UP

4шт.

50

01010-31025

BOLT

SN: 65001-UP

2шт.

51

01602-01030

WASHER

SN: 65001-UP

2шт.

Выбрано товаров: 64