Качественные детали и логистика
Оригинальные и аналоговые запчасти с доставкой по России, Казахстану и Беларуси
©2022 PartSell ООО "Система" ИНН 2463123282 ОГРН 1212400004838
Центральный офис: г. Красноярск, Академика Киренского, д.87, пом.4
Телефон: 8 (800) 777-65-74 Email: zakaz@partsell.ru
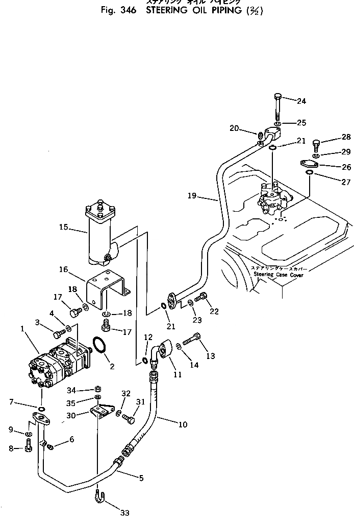
РУЛЕВ. УПРАВЛЕНИЕ МАСЛОПРОВОДЯЩАЯ ЛИНИЯ (/)
№
Артикул
Название
Примечание
Количество
1
07400-40400
PUMP ASS'Y
SN: 80001-UP
1шт.
2
07000-02070
O-RING
3
01010-51030
BOLT
4шт.
4
01602-21030
WASHER,SPRING
5
130-49-71150
TUBE
6
07042-20108
PLUG
7
07000-02018
8
01010-51035
2шт.
9
10
07102-20503
HOSE
11
130-49-71170
12
07000-03025
13
01010-51055
14
15
130-49-00010
OIL FILTER ASS'Y
16
130-49-61220
BRACKET
17
01010-51225
6шт.
18
01602-21236
19
130-49-61550
20
21
22
23
24
01010-51095
25
26
07336-50516
FLANGE
27
28
29
30
130-49-71160
31
32
33
07283-22236
CLIP
34
01599-01011
NUT
35
01643-31032
WASHER
Выбрано товаров: 0