Запчасти Komatsu D50PL-17 ГУСЕНИЧНАЯ РАМА ГУСЕНИЦЫ

Схема запчастей Komatsu D50PL-17 - ГУСЕНИЧНАЯ РАМА ГУСЕНИЦЫ
FIT
1:1
100%

Артикул

Название

Примечание

Количество

|1

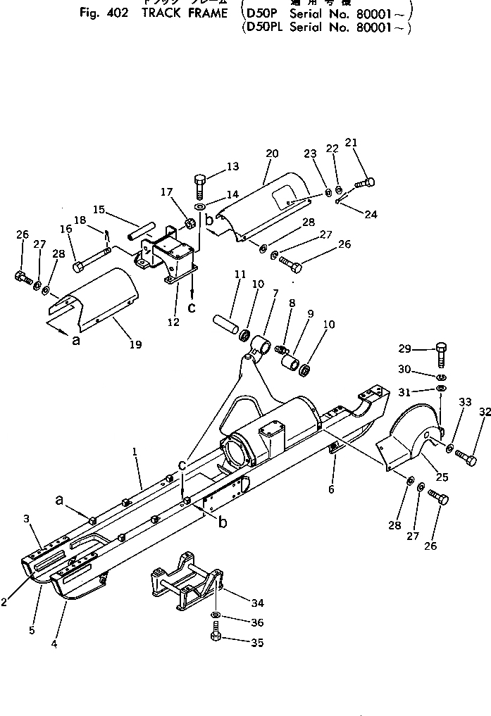
13F-30-00100

TRACK FRAME ASS'Y,L.H.

SN: 80001-UP

1шт.

|1

13F-30-00110

TRACK FRAME ASS'Y,R.H.

SN: 80001-UP

1шт.

1

0

FRAME,L.H.

SN: 80001-UP

1шт.

|1

0

FRAME,R.H.

SN: 80001-UP

1шт.

2

130-30-11134

PLATE

SN: 80001-UP

2шт.

3

141-30-11190

PLATE

SN: 80001-UP

2шт.

4

135-806-2110

GUARD,FRONT¤ L.H. OUTER AND R.H. INN

SN: 80001-UP

1шт.

5

135-806-2120

GUARD,FRONT¤ L.H. OUTER AND R.H. INN

SN: 80001-UP

1шт.

6

131-30-61160

GUARD,REAR¤ L.H.

SN: 80001-UP

1шт.

|6

131-30-61210

GUARD,REAR¤ R.H.

SN: 80001-UP

1шт.

7

130-30-41140

HEAD

SN: 80001-UP

1шт.

8

07020-00000

FITTING

SN: 80001-UP

1шт.

9

135-30-11251

BUSHING

SN: 80001-UP

1шт.

10

130-09-12790

SEAL

SN: 80001-UP

4шт.

11

135-30-11230

PIN

SN: 80001-UP

2шт.

12

13F-30-25141

SUPPORT,L.H.

SN: 80001-UP

1шт.

|12

13F-30-25151

SUPPORT,R.H.

SN: 80001-UP

1шт.

13

01010-52055

BOLT

SN: 80001-UP

8шт.

14

01643-32060

WASHER

SN: 80001-UP

8шт.

15

13F-30-25170

SPACER

SN: 80001-UP

2шт.

16

13F-30-25160

BOLT

SN: 80001-UP

2шт.

17

01590-13033

NUT

SN: 80001-UP

2шт.

18

04050-16045

PIN

SN: 80001-UP

2шт.

19

13F-30-25130

COVER

SN: 80001-UP

2шт.

20

13F-30-25110

COVER,L.H.

SN: 80001-UP

1шт.

|20

13F-30-25310

COVER,R.H.

SN: 80001-UP

1шт.

21

141-30-17160

BOLT

SN: 80001-UP

3шт.

22

01640-01016

WASHER

SN: 80001-UP

3шт.

23

01641-01016

WASHER

SN: 80001-UP

3шт.

24

04050-03015

PIN

SN: 80001-UP

3шт.

25

131-30-65130

COVER,L.H.

SN: 80001-UP

1шт.

|25

131-30-65140

COVER,R.H.

SN: 80001-UP

1шт.

26

01010-31430

BOLT

SN: 80001-UP

20шт.

27

01602-01442

WASHER

SN: 80001-UP

20шт.

28

01643-31445

WASHER

SN: 80001-UP

20шт.

29

01010-31430

BOLT

SN: 80001-UP

4шт.

30

01602-01442

WASHER

SN: 80001-UP

4шт.

31

01640-21426

WASHER

SN: 80001-UP

4шт.

32

01010-31450

BOLT

SN: 80001-UP

2шт.

33

01602-01442

WASHER

SN: 80001-UP

2шт.

34

13F-30-22110

GUARD

SN: 80001-UP

2шт.

35

01010-31645

BOLT

SN: 80001-UP

8шт.

36

01643-31645

WASHER

SN: 80001-UP

8шт.

Выбрано товаров: 43