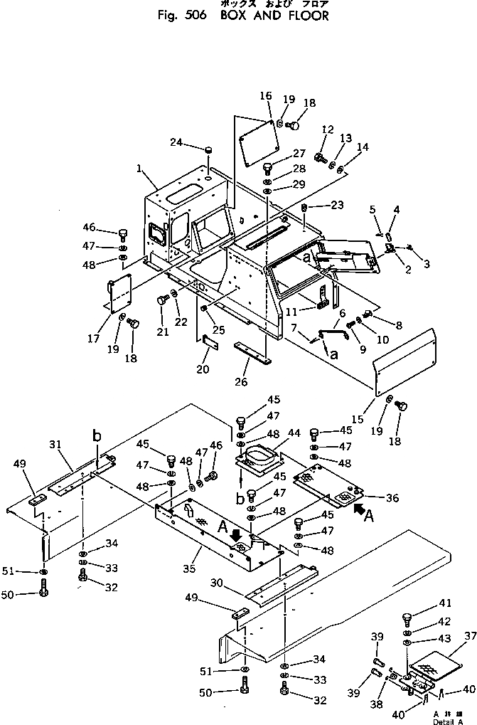
Запчасти Komatsu D50PL-17 КОРПУС И ПОЛ ЧАСТИ КОРПУСА

Схема запчастей Komatsu D50PL-17 - КОРПУС И ПОЛ ЧАСТИ КОРПУСА
FIT
1:1
100%

Артикул

Название

Примечание

Количество

|1

120-54-00300

BOX ASS'Y

SN: 80001-UP

1шт.

1

0

BOX

SN: 80001-UP

1шт.

2

09461-00021

LEVER

SN: 80001-UP

1шт.

3

09461-00023

SPRING

SN: 80001-UP

1шт.

4

09461-00022

PIN

SN: 80001-UP

1шт.

5

04050-13018

PIN,COTTER

SN: 80001-UP

2шт.

6

120-54-32431

ROD

SN: 80001-UP

1шт.

7

04050-13022

PIN,COTTER

SN: 80001-UP

1шт.

8

20R-54-11460

SPRING

SN: 80001-UP

1шт.

9

01220-40512

SCREW

SN: 80001-UP

1шт.

10

01601-00513

WASHER,SPRING

SN: 80001-UP

1шт.

11

124-54-21710

SPRING

SN: 80001-UP

1шт.

12

01010-30816

BOLT

SN: 80001-UP

2шт.

13

01602-00825

WASHER,SPRING

SN: 80001-UP

2шт.

14

01640-20816

WASHER

SN: 80001-UP

2шт.

15

120-54-32141

COVER

SN: 80001-UP

1шт.

16

120-54-32161

COVER

SN: 80001-UP

1шт.

17

120-54-32151

COVER

SN: 80001-UP

1шт.

18

01010-31225

BOLT

SN: 80001-UP

12шт.

19

01602-01236

WASHER,SPRING

SN: 80001-UP

12шт.

20

120-54-32341

PLATE

SN: 80001-UP

1шт.

21

01010-31230

BOLT

SN: 80001-UP

3шт.

22

01602-01236

WASHER,SPRING

SN: 80001-UP

3шт.

23

07049-01215

PLUG

SN: 80001-UP

5шт.

24

09415-03614

CAP

SN: 80001-UP

1шт.

25

09415-01008

CAP

SN: 80001-UP

7шт.

26

120-54-32331

SPACER

SN: 80001-UP

1шт.

27

01010-31270

BOLT

SN: 80001-UP

4шт.

28

01602-01236

WASHER,SPRING

SN: 80001-UP

4шт.

29

01643-31232

WASHER

SN: 80001-UP

4шт.

30

120-54-32173

FLOOR,L.H.

SN: 80001-UP

1шт.

31

120-54-32183

FLOOR,R.H.

SN: 80001-UP

1шт.

32

01010-51230

BOLT

SN: 80001-UP

6шт.

33

01602-21236

WASHER,SPRING

SN: 80001-UP

6шт.

34

01643-31232

WASHER

SN: 80001-UP

6шт.

35

144-54-26240

FLOOR

SN: 80001-UP

1шт.

36

130-54-72310

FLOOR

SN: 80001-UP

1шт.

37

130-54-72320

COVER

SN: 80001-UP

2шт.

38

09463-00002

SPRING

SN: 80001-UP

2шт.

39

04205-10618

PIN

SN: 80001-UP

4шт.

40

04050-11610

PIN,COTTER

SN: 80001-UP

4шт.

41

01010-51025

BOLT

SN: 80001-UP

4шт.

42

01602-21030

WASHER,SPRING

SN: 80001-UP

4шт.

43

01643-31032

WASHER

SN: 80001-UP

4шт.

44

144-54-26230

FLOOR

SN: 80001-UP

1шт.

45

01010-51225

BOLT

SN: 80001-UP

14шт.

46

01010-51230

BOLT

SN: 80001-UP

5шт.

47

01602-21236

WASHER,SPRING

SN: 80001-UP

19шт.

48

01643-31232

WASHER

SN: 80001-UP

19шт.

49

120-54-35240

PLATE

SN: 80001-UP

2шт.

50

01010-51650

BOLT

SN: 80001-UP

4шт.

51

01643-31645

WASHER

SN: 80001-UP

4шт.

Выбрано товаров: 52