Запчасти Komatsu D50PL-17 ГУСЕНИЦЫ (СМАЗЫВ. ТИПА) ГУСЕНИЦЫ

Схема запчастей Komatsu D50PL-17 - ГУСЕНИЦЫ (СМАЗЫВ. ТИПА) ГУСЕНИЦЫ
FIT
1:1
100%

Артикул

Название

Примечание

Количество

|$$1

SWAMP 960MM

-1шт.

|$1

13F-32-03110

TRACK SHOE ASS'Y

SN: 80001-UP

1шт.

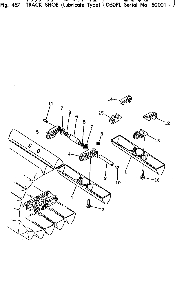
1

130-870-1311

SHOE,TRACK

SN: 80001-UP

98шт.

2

13F-32-21220

BOLT,SHOE (KIT)

SN: 80001-UP

376шт.

3

01803-01622

NUT, SHOE (KIT)

SN: 80001-UP

376шт.

|$5

13F-32-00070

TRACK LINK ASS'Y

SN: 80001-UP

1шт.

4

130-32-11126

LINK,TRACK, L.H.

SN: 80001-UP

94шт.

5

130-32-11136

LINK,TRACK, R.H.

SN: 80001-UP

94шт.

6

130-32-21140

BUSHING

SN: 80001-UP

98шт.

7

130-32-21160

SEAL ASS'Y

SN: 80001-UP

196шт.

8

130-32-21190

SPACER

SN: 80001-UP

196шт.

9

130-32-21150

PIN

SN: 80001-UP

98шт.

10

07059-11830

PLUG,LARGE

SN: 80001-UP

98шт.

11

07059-20721

PLUG,SMALL

SN: 80001-UP

98шт.

12

130-32-21221

LINK, MASTER,L.H., PIN SIDE

SN: 80001-UP

4шт.

13

130-32-21231

LINK, MASTER,L.H., BUSHING SIDE

SN: 80001-UP

4шт.

14

130-32-21321

LINK, MASTER,R.H., PIN SIDE

SN: 80001-UP

4шт.

15

130-32-21331

LINK, MASTER,R.H., BUSHING SIDE

SN: 80001-UP

4шт.

16

130-32-21262

BOLT,MASTER, LINK

SN: 80001-UP

16шт.

|$$20

SERVICE KIT

-1шт.

2

13F-32-05000

SHOE BOLT AND NUT K.

SN: 80001-UP

1шт.

2

13F-32-21220

BOLT,SHOE

SN: 80001-UP

50шт.

3

01803-01622

NUT, SHOE

SN: 80001-UP

50шт.

|$$24

OVERSIZE PARTS

-1шт.

|$$25

0.10MM OVERSIZE

-1шт.

6

130-98-09210

BUSHING

SN: 80001-UP

-2шт.

9

130-98-09070

PIN

SN: 80001-UP

-2шт.

|$$28

0.18MM OVERSIZE

-1шт.

6

130-98-09220

BUSHING

SN: 80001-UP

-2шт.

9

130-98-09080

PIN

SN: 80001-UP

-2шт.

Выбрано товаров: 30