Запчасти Komatsu D50PL-17 ГИДР. БАК. (/) УПРАВЛ-Е РАБОЧИМ ОБОРУДОВАНИЕМ

Схема запчастей Komatsu D50PL-17 - ГИДР. БАК. (/) УПРАВЛ-Е РАБОЧИМ ОБОРУДОВАНИЕМ
FIT
1:1
100%

Артикул

Название

Примечание

Количество

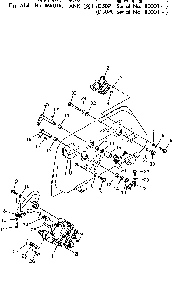
|$0

130-Z20-5300

TANK VALVE ASS'Y

SN: 80001-UP

1шт.

1

701-23-16001

VALVE ASS'Y

SN: 80001-UP

1шт.

2

130-60-61130

COVER

SN: 80001-UP

1шт.

3

07000-03032

O-RING

SN: 80001-UP

2шт.

4

07000-02014

O-RING

SN: 80001-UP

14шт.

5

01010-31025

BOLT

SN: 80001-UP

16шт.

6

01602-01030

WASHER

SN: 80001-UP

16шт.

7

01643-31032

WASHER

SN: 80001-UP

14шт.

8

130-Z20-5381

PIPE

SN: 80001-UP

1шт.

9

01010-31235

BOLT

SN: 80001-UP

2шт.

10

01602-01236

WASHER

SN: 80001-UP

2шт.

11

01010-31030

BOLT

SN: 80001-UP

2шт.

12

01602-01030

WASHER

SN: 80001-UP

2шт.

13

06120-02016

BEARING

SN: 80001-UP

4шт.

14

130-09-11450

SEAL

SN: 80001-UP

2шт.

15

130-Z20-5350

LEVER

SN: 80001-UP

1шт.

16

130-Z20-5360

LEVER

SN: 80001-UP

1шт.

17

04010-00519

KEY

SN: 80001-UP

2шт.

18

130-60-63170

COLLAR

SN: 80001-UP

1шт.

19

130-60-43150

PLATE

SN: 80001-UP

1шт.

20

130-60-71110

LEVER

SN: 80001-UP

1шт.

21

130-60-63160

LEVER

SN: 80001-UP

1шт.

22

01010-30830

BOLT

SN: 80001-UP

2шт.

23

01602-00825

WASHER

SN: 80001-UP

2шт.

24

130-Z20-5230

YOKE

SN: 80001-UP

2шт.

25

141-60-32170

YOKE

SN: 80001-UP

2шт.

26

04205-01028

PIN

SN: 80001-UP

3шт.

27

04050-03015

PIN

SN: 80001-UP

3шт.

28

04205-01430

PIN

SN: 80001-UP

1шт.

29

04050-04022

PIN

SN: 80001-UP

1шт.

30

140-60-13350

PLUG

SN: 80001-UP

1шт.

31

07000-03020

O-RING

SN: 80001-UP

1шт.

32

140-60-13360

COLLAR

SN: 80001-UP

1шт.

33

01010-31070

BOLT

SN: 80001-UP

1шт.

34

01602-01030

WASHER

SN: 80001-UP

1шт.

Выбрано товаров: 35