Запчасти Komatsu D53A-16 ЭЛЕКТР. ЭЛЕКТРОПРОВОДКА-КОНДИЦ. ВОЗДУХА (ДЛЯ КАБИНА ROPS) ОПЦИОННЫЕ КОМПОНЕНТЫ

Схема запчастей Komatsu D53A-16 - ЭЛЕКТР. ЭЛЕКТРОПРОВОДКА-КОНДИЦ. ВОЗДУХА (ДЛЯ КАБИНА ROPS) ОПЦИОННЫЕ КОМПОНЕНТЫ
FIT
1:1
100%

Артикул

Название

Примечание

Количество

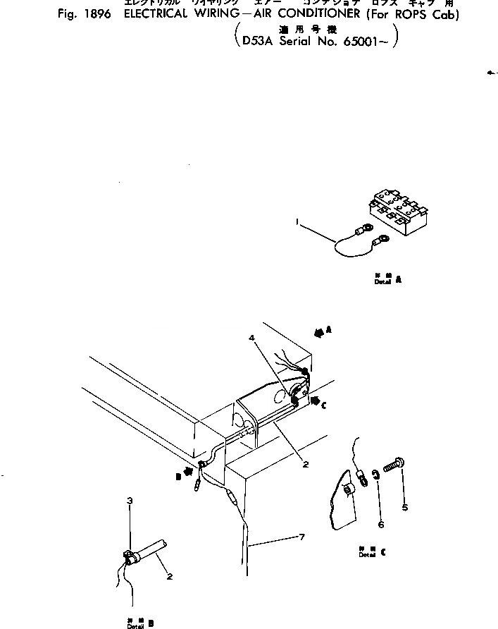
1

131-915-4170

WIRE ASS'Y

SN: 65001-UP

1шт.

2

145-Z79-5980

WIRE ASS'Y

SN: 65001-UP

1шт.

3

08036-11214

CLIP

SN: 65001-UP

1шт.

4

08037-01008

GROMMET

SN: 65001-UP

2шт.

5

01220-40608

SCREW

SN: 65001-UP

1шт.

6

01602-20619

WASHER

SN: 65001-UP

1шт.

7

145-Z79-5990

WIRE ASS'Y

SN: 65001-UP

1шт.

Выбрано товаров: 7