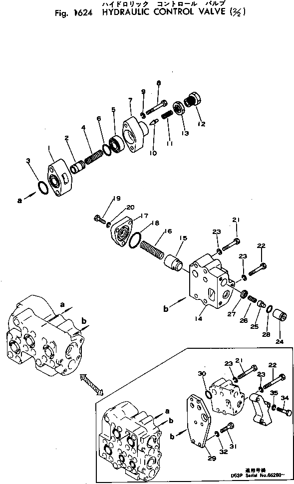
Запчасти Komatsu D53A-16 ГИДРАВЛ УПРАВЛЯЮЩ. КЛАПАН (/) УПРАВЛ-Е РАБОЧИМ ОБОРУДОВАНИЕМ

Схема запчастей Komatsu D53A-16 - ГИДРАВЛ УПРАВЛЯЮЩ. КЛАПАН (/) УПРАВЛ-Е РАБОЧИМ ОБОРУДОВАНИЕМ
FIT
1:1
100%

Артикул

Название

Примечание

Количество

|$0

130-60-61000

HYDRAULIC TANK ASS'Y

SN: 65001-UP

1шт.

|$1

130-Z20-5100

HYDRAULIC TANK ASS'Y

SN: 65000-65000

1шт.

|$2

701-21-21001

VALVE ASS'Y

SN: 65001-UP

1шт.

|$3

701-23-16000

VALVE ASS'Y

SN: 65000-65000

1шт.

|$4

701-10-51000

VALVE ASS'Y,MAIN RELIEF

SN: 65001-UP

1шт.

|$5

701-10-00010

HOUSING ASS'Y

SN: 65001-UP

1шт.

1

0

HOUSING

SN: 65001-UP

1шт.

2

0

VALVE

SN: 65001-UP

1шт.

3

07000-23032

O-RING

SN: 65001-UP

1шт.

4

701-10-51130

SPRING

SN: 65001-UP

1шт.

5

701-10-51140

SEAT

SN: 65001-UP

1шт.

6

07000-23030

O-RING

SN: 65001-UP

1шт.

7

701-10-51150

BODY

SN: 65001-UP

1шт.

8

01010-31245

BOLT

SN: 65001-UP

2шт.

9

01602-01236

WASHER

SN: 65001-UP

2шт.

10

701-30-51160

POPPET

SN: 65001-UP

1шт.

11

701-30-51171

SPRING

SN: 65001-UP

1шт.

12

701-10-51160

PLUG

SN: 65001-UP

1шт.

13

701-30-51190

NUT

SN: 65001-UP

1шт.

|$19

701-20-62000

VALVE ASS'Y,SUCTION

SN: 65001-UP

1шт.

|$20

701-20-77000

VALVE ASS'Y,SUCTION

SN: 65000-65000

1шт.

14

701-20-62112

HOUSING

SN: 65001-UP

1шт.

15

701-30-67121

VALVE

SN: 65001-UP

1шт.

16

701-21-31130

SPRING

SN: 65001-UP

1шт.

17

701-20-62120

PLATE

SN: 65001-UP

1шт.

18

07000-13040

O-RING

SN: 65001-UP

1шт.

19

01010-31035

BOLT

SN: 65001-UP

3шт.

20

01602-01030

WASHER

SN: 65001-UP

3шт.

21

01010-31070

BOLT

SN: 65001-UP

2шт.

21

01010-31085

BOLT

SN: 65000-65000

2шт.

22

01010-31075

BOLT

SN: 65001-UP

2шт.

22

01010-31090

BOLT

SN: 65000-65000

2шт.

23

01602-01030

WASHER

SN: 65001-UP

4шт.

24

701-20-61210

COLLAR

SN: 65001-UP

1шт.

25

701-20-61220

VALVE

SN: 65001-UP

1шт.

26

701-20-61230

SPRING

SN: 65001-UP

1шт.

27

701-20-61240

SEAT

SN: 65001-UP

1шт.

28

07000-12018

O-RING

SN: 65001-UP

1шт.

29

701-23-16110

PLATE

SN: 65000-65000

1шт.

30

07000-13028

O-RING

SN: 65000-65000

2шт.

31

01010-31035

BOLT

SN: 65000-65000

2шт.

32

01602-01030

WASHER

SN: 65000-65000

2шт.

33

701-23-36150

BAFFLE

SN: 65000-65000

1шт.

34

01010-31055

BOLT

SN: 65000-65000

3шт.

35

01602-01030

WASHER

SN: 65000-65000

3шт.

Выбрано товаров: 45