Запчасти Komatsu D53A-17 КАПОТ И БОКОВ. КРЫШКА ЧАСТИ КОРПУСА

Схема запчастей Komatsu D53A-17 - КАПОТ И БОКОВ. КРЫШКА ЧАСТИ КОРПУСА
FIT
1:1
100%

Артикул

Название

Примечание

Количество

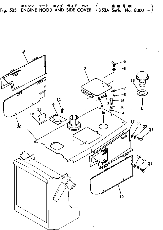
1

130-54-71141

HOOD

SN: 80001-UP

1шт.

2

130-54-71151

COVER

SN: 80001-UP

1шт.

3

01010-51025

BOLT

SN: 80001-UP

2шт.

4

01602-21030

WASHER

SN: 80001-UP

2шт.

5

135-54-31290

HANDLE

SN: 80001-UP

1шт.

6

01643-31032

WASHER

SN: 80001-UP

1шт.

7

135-54-31310

STOPPER

SN: 80001-UP

1шт.

8

04025-00316

PIN

SN: 80001-UP

1шт.

9

130-54-61140

COVER

SN: 80001-UP

1шт.

10

131-54-11270

PIN

SN: 80001-UP

1шт.

11

04050-11610

PIN

SN: 80001-UP

2шт.

12

09459-00000

LOCK

SN: 80001-UP

1шт.

13

130-A46-1120

COVER

SN: 80001-UP

1шт.

14

120-54-31351

WASHER

SN: 80001-UP

3шт.

15

01010-51235

BOLT

SN: 80001-UP

3шт.

16

01602-21236

WASHER

SN: 80001-UP

3шт.

17

130-54-71181

COVER,L.H.

SN: 81821-UP

1шт.

|17

130-54-71180

COVER,L.H.

SN: 80001-81820

1шт.

18

130-54-71191

COVER,R.H.

SN: 81821-UP

1шт.

|18

130-54-71190

COVER,R.H.

SN: 80001-81820

1шт.

19

130-54-71160

COVER,L.H.

SN: 80001-UP

1шт.

20

130-54-71170

COVER,R.H.

SN: 80001-UP

1шт.

21

01010-51225

BOLT

SN: 80001-UP

14шт.

22

01602-21236

WASHER

SN: 80001-UP

14шт.

23

01643-31232

WASHER

SN: 80001-UP

10шт.

24

130-54-61230

WASHER

SN: 80001-UP

4шт.

Выбрано товаров: 26