Запчасти Komatsu D53A-17 ГИДР. БАК. AND УПРАВЛЯЮЩ. КЛАПАН (/) ОСНОВН. КОМПОНЕНТЫ И РЕМКОМПЛЕКТЫ

Схема запчастей Komatsu D53A-17 - ГИДР. БАК. AND УПРАВЛЯЮЩ. КЛАПАН (/) ОСНОВН. КОМПОНЕНТЫ И РЕМКОМПЛЕКТЫ
FIT
1:1
100%

Артикул

Название

Примечание

Количество

|1

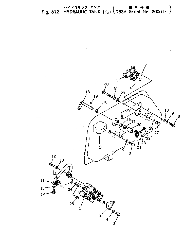
130-Z20-5401

TANK VALVE ASS'Y

SN: 82225-UP

1шт.

|1

130-Z20-5400

TANK VALVE ASS'Y

SN: 80001-82224

1шт.

|$$3

THESE ASSEMBLIES CONSIST OF ALL PARTS SHOWN IN FIGS.Y1660-01A0 TO Y1660-04A0.

-1шт.

1

701-21-21002

VALVE ASS'Y

SN: 80001-UP

1шт.

2

130-60-62110

PLATE

SN: 80001-UP

1шт.

3

01010-31030

BOLT

SN: 80001-UP

3шт.

4

01602-01030

WASHER

SN: 80001-UP

3шт.

5

130-60-61130

COVER

SN: 80001-UP

1шт.

6

07000-03032

O-RING

SN: 80001-UP

2шт.

7

07000-02014

O-RING

SN: 80001-UP

14шт.

8

01010-31025

BOLT

SN: 80001-UP

16шт.

9

01602-01030

WASHER

SN: 80001-UP

16шт.

10

01643-31032

WASHER

SN: 80001-UP

14шт.

11

130-60-63211

PIPE

SN: 80001-UP

1шт.

12

01010-31235

BOLT

SN: 80001-UP

2шт.

13

01602-01236

WASHER

SN: 80001-UP

2шт.

14

01010-31030

BOLT

SN: 80001-UP

2шт.

15

01602-01030

WASHER

SN: 80001-UP

2шт.

16

06120-02016

BEARING

SN: 80001-UP

2шт.

17

130-09-11450

SEAL

SN: 80001-UP

1шт.

18

130-Z20-5420

LEVER

SN: 80001-UP

1шт.

19

04010-00519

KEY

SN: 80001-UP

1шт.

20

130-60-63170

COLLAR

SN: 80001-UP

1шт.

21

130-60-71110

LEVER

SN: 80001-UP

1шт.

22

01010-30830

BOLT

SN: 80001-UP

1шт.

23

01602-00825

WASHER

SN: 80001-UP

1шт.

24

141-60-32170

YOKE

SN: 80001-UP

2шт.

25

04205-01028

PIN

SN: 80001-UP

2шт.

26

04050-03015

PIN

SN: 80001-UP

2шт.

27

140-60-13350

PLUG

SN: 80001-UP

1шт.

28

07000-03020

O-RING

SN: 80001-UP

1шт.

29

140-60-13360

COLLAR

SN: 80001-UP

1шт.

30

01010-31070

BOLT

SN: 80001-UP

1шт.

31

01602-01030

WASHER

SN: 80001-UP

1шт.

Выбрано товаров: 34