Запчасти Komatsu D53A-17 ПОЛ (ШУМОПОДАВЛ. ДЛЯ EC) КАБИНА ОПЕРАТОРА И СИСТЕМА УПРАВЛЕНИЯ

Схема запчастей Komatsu D53A-17 - ПОЛ (ШУМОПОДАВЛ. ДЛЯ EC) КАБИНА ОПЕРАТОРА И СИСТЕМА УПРАВЛЕНИЯ
FIT
1:1
100%

Артикул

Название

Примечание

Количество

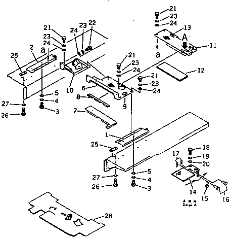
1

120-54-32173

FLOOR,L.H.

SN: 80001-UP

1шт.

2

120-54-32183

FLOOR,R.H.

SN: 80001-UP

1шт.

3

01010-51230

BOLT

SN: 80001-UP

6шт.

4

01602-21236

WASHER

SN: 80001-UP

6шт.

5

01643-31232

WASHER

SN: 80001-UP

6шт.

6

144-A62-8620

FLOOR

SN: 80001-UP

1шт.

7

144-A62-8630

ABSORBER

SN: 80001-UP

1шт.

8

144-A62-8640

ABSORBER

SN: 80001-UP

1шт.

9

144-A62-8410

SEAL

SN: 80001-UP

3шт.

10

134-54-24170

FLOOR

SN: 80001-UP

1шт.

11

134-A62-3520

FLOOR

SN: 80001-UP

1шт.

12

134-A62-3530

ABSORBER

SN: 80001-UP

1шт.

13

144-A62-8410

SEAL

SN: 80001-UP

1шт.

14

130-54-72320

COVER

SN: 80001-UP

1шт.

15

09463-00002

SPRING

SN: 80001-UP

1шт.

16

04205-10618

PIN

SN: 80001-UP

2шт.

17

04050-11610

PIN

SN: 80001-UP

2шт.

18

01010-51025

BOLT

SN: 80001-UP

2шт.

19

01602-21030

WASHER

SN: 80001-UP

2шт.

20

01643-31032

WASHER

SN: 80001-UP

2шт.

21

01010-51225

BOLT

SN: 80001-UP

11шт.

22

01010-51230

BOLT

SN: 80001-UP

5шт.

23

01602-21236

WASHER

SN: 80001-UP

16шт.

24

01643-31232

WASHER

SN: 80001-UP

16шт.

25

120-54-35240

PLATE

SN: 80001-UP

2шт.

26

01010-51650

BOLT

SN: 80001-UP

4шт.

27

01643-31645

WASHER

SN: 80001-UP

4шт.

28

134-A62-4190

MAT

SN: 80001-UP

1шт.

Выбрано товаров: 28