Запчасти Komatsu D53A-17 СЦЕПНОЕ УСТРОЙСТВО (ЗАКРЫТОГО ТИПА) (СПЕЦ-Я TBG) РАБОЧЕЕ ОБОРУДОВАНИЕ

Схема запчастей Komatsu D53A-17 - СЦЕПНОЕ УСТРОЙСТВО (ЗАКРЫТОГО ТИПА) (СПЕЦ-Я TBG) РАБОЧЕЕ ОБОРУДОВАНИЕ
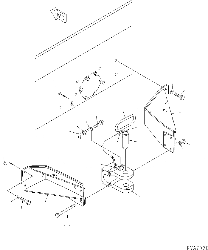
1
2
3
4
5
6
7
8
9
10
11
12
13
14
15
16
16
17
17
FIT
1:1
100%

Артикул

Название

Примечание

Количество

|$1

134-69-00011

DRAWBAR ASS'Y

SN: 80001-UP

1шт.

|$2

144-69-11170

DRAWBAR ASS'Y

SN: 80001-UP

1шт.

1

0

DRAWBAR

SN: 80001-UP

1шт.

2

09247-45180

PIN (WELDED)

SN: 80001-UP

1шт.

3

144-69-11210

HANDLE (WELDED)

SN: 80001-UP

1шт.

4

144-69-11230

PLATE

SN: 80001-UP

1шт.

5

09245-04830

CHAIN

SN: 80001-UP

1шт.

6

09245-50060

HOOK (WELDED)

SN: 80001-UP

1шт.

7

09249-00016

LATCH

SN: 80001-UP

1шт.

8

01052-51260

BOLT

SN: 80001-UP

1шт.

9

01592-11215

NUT

SN: 80001-UP

1шт.

10

04050-13022

PIN

SN: 80001-UP

1шт.

11

134-69-13120

BRACKET,L.H.

SN: 80001-UP

1шт.

12

134-69-13110

BRACKET,R.H.

SN: 80001-UP

1шт.

13

144-69-11161

BOLT

SN: 80001-UP

4шт.

14

01580-12419

NUT

SN: 80001-UP

4шт.

15

01643-32460

WASHER

SN: 80001-UP

4шт.

16

01010-82480

BOLT

SN: 80001-UP

6шт.

17

01643-32460

WASHER

SN: 80001-UP

6шт.

Выбрано товаров: 19