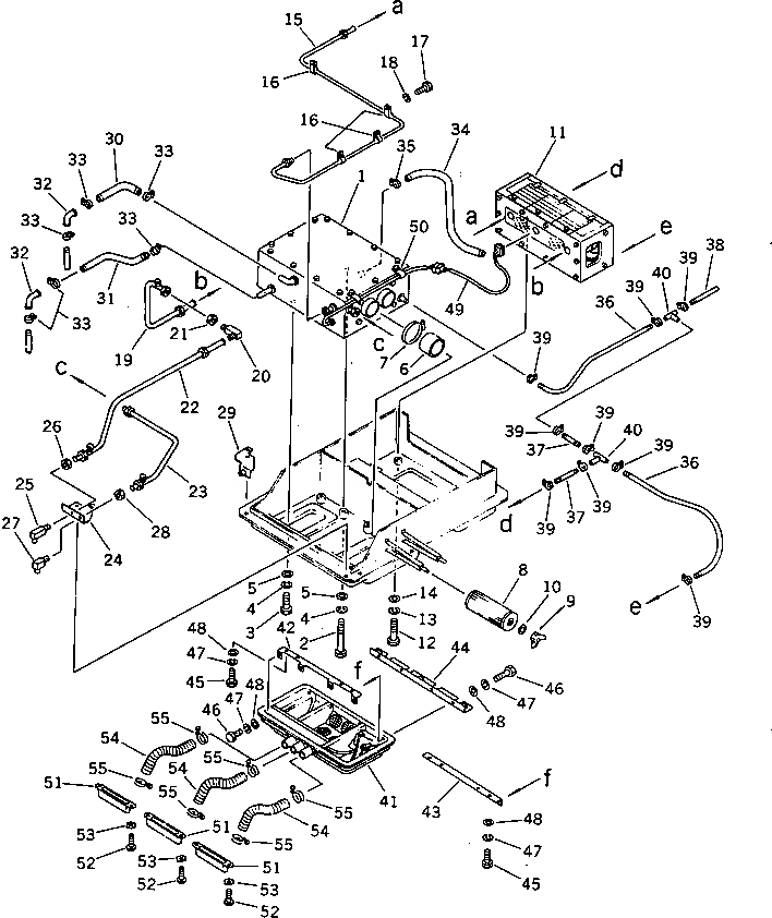
Запчасти Komatsu D53A-17 КОНДИЦ. ВОЗДУХА (ДЛЯ КАБИНА ROPS) (/) КАБИНА ОПЕРАТОРА И СИСТЕМА УПРАВЛЕНИЯ

Схема запчастей Komatsu D53A-17 - КОНДИЦ. ВОЗДУХА (ДЛЯ КАБИНА ROPS) (/) КАБИНА ОПЕРАТОРА И СИСТЕМА УПРАВЛЕНИЯ
FIT
1:1
100%

Артикул

Название

Примечание

Количество

1

145-Z79-5102

UNIT ASS'Y

SN: 81119-UP

1шт.

1

0

UNIT ASS'Y

SN: 80001-81118

1шт.

2

01010-51070

BOLT

SN: 80001-UP

4шт.

3

01010-51025

BOLT

SN: 80001-UP

4шт.

4

01602-21030

WASHER,SPRING

SN: 80001-UP

8шт.

5

120-Y79-4470

WASHER,SEAL

SN: 80001-UP

8шт.

6

145-Z79-5830

HOSE

SN: 80001-UP

2шт.

7

07281-01029

CLAMP

SN: 80001-UP

2шт.

8

145-Z79-5810

FILTER

SN: 80001-UP

2шт.

9

01582-01210

NUT

SN: 80001-UP

2шт.

10

01640-21223

WASHER

SN: 81119-UP

2шт.

10

01602-21236

WASHER

SN: 80001-81118

2шт.

11

145-Z79-5301

CONDENSER ASS'Y

SN: 81119-UP

1шт.

11

0

CONDENSER ASS'Y

SN: 80001-81118

1шт.

12

01010-51040

BOLT

SN: 80001-UP

4шт.

13

01602-21030

WASHER,SPRING

SN: 80001-UP

4шт.

14

120-Y79-4470

WASHER

SN: 80001-UP

4шт.

15

120-Y79-6170

TUBE

SN: 80001-UP

1шт.

16

145-Z79-6950

CLIP

SN: 80001-UP

4шт.

17

01010-50610

BOLT

SN: 80001-UP

4шт.

18

01602-20619

WASHER,SPRING

SN: 80001-UP

4шт.

19

120-Y79-6180

TUBE

SN: 80001-UP

1шт.

20

145-Z79-5630

ELBOW

SN: 80001-UP

1шт.

21

145-Z79-5650

NUT

SN: 80001-UP

1шт.

22

120-Y79-6190

TUBE

SN: 80001-UP

1шт.

23

120-Y79-6210

TUBE

SN: 80001-UP

1шт.

24

120-Y79-6220

BRACKET

SN: 80001-UP

1шт.

25

145-Z79-5630

ELBOW

SN: 80001-UP

1шт.

26

145-Z79-5650

NUT

SN: 80001-UP

1шт.

27

145-Z79-5640

ELBOW

SN: 80001-UP

1шт.

28

145-Z79-5660

NUT

SN: 80001-UP

1шт.

29

120-Y79-6230

BRACKET

SN: 80001-UP

1шт.

30

120-Y79-6240

TUBE

SN: 80001-UP

1шт.

31

120-Y79-6250

TUBE

SN: 80001-UP

1шт.

32

09483-20550

HOSE

SN: 80001-UP

2шт.

33

07581-00289

CLAMP

SN: 80001-UP

6шт.

34

07270-31230

TUBE,(L=300)

SN: 81119-UP

1шт.

34

07270-21230

TUBE,(L=300)

SN: 80001-81118

1шт.

35

07281-00167

CLAMP

SN: 80001-UP

1шт.

36

07270-31270

TUBE,(L=700)

SN: 80001-UP

2шт.

37

07270-31230

TUBE,(L=300)

SN: 80001-UP

2шт.

38

07270-41215

TUBE

SN: 80001-UP

1шт.

39

07281-00167

CLAMP

SN: 80001-UP

9шт.

40

145-Z79-5770

JOINT

SN: 80001-UP

2шт.

41

145-Z79-5201

GRILLE ASS'Y

SN: 80001-UP

1шт.

42

120-Y79-6260

BRACKET

SN: 80001-UP

1шт.

43

120-Y79-6270

BRACKET

SN: 80001-UP

1шт.

44

120-Y79-6280

BRACKET

SN: 80001-UP

1шт.

45

01010-50820

BOLT

SN: 80001-UP

8шт.

46

01010-50830

BOLT

SN: 80001-UP

8шт.

47

01602-20825

WASHER,SPRING

SN: 80001-UP

16шт.

48

01640-20816

WASHER

SN: 80001-UP

16шт.

49

120-Y79-6950

WIRE ASS'Y

SN: 80001-UP

1шт.

50

08036-31214

CLIP

SN: 80001-UP

2шт.

51

09487-20220

NOZZLE

SN: 80001-UP

3шт.

52

01370-00412

SCREW

SN: 80001-UP

6шт.

53

01611-04045

WASHER,LOCK

SN: 80001-UP

6шт.

54

120-Y79-6960

HOSE,AIR

SN: 80001-UP

3шт.

55

07280-04726

CLAMP

SN: 80001-UP

6шт.

Выбрано товаров: 59