Запчасти Komatsu D53A-18 РАДИАТОР КРЫШКА(ДЛЯ ANGLE И ПРЯМ. ОТВАЛ С ПЕРЕКОСОМ)(№8-89) СИСТЕМА ОХЛАЖДЕНИЯ

Схема запчастей Komatsu D53A-18 - РАДИАТОР КРЫШКА(ДЛЯ ANGLE И ПРЯМ. ОТВАЛ С ПЕРЕКОСОМ)(№8-89) СИСТЕМА ОХЛАЖДЕНИЯ
FIT
1:1
100%

Артикул

Название

Примечание

Количество

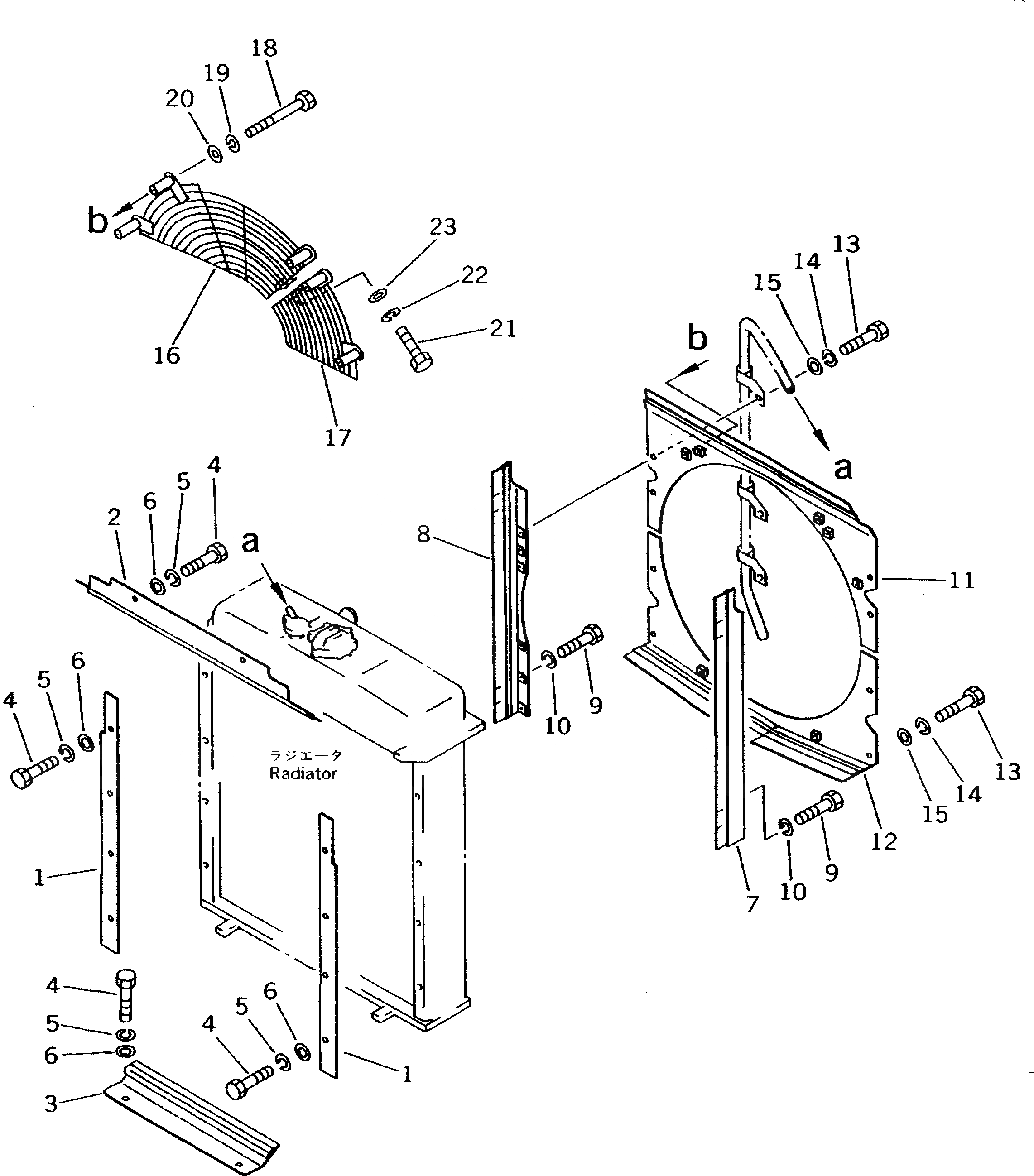
1

130-03-71241

PLATE

SN: 83001-@

2шт.

2

130-03-71230

COVER,UPPER

SN: 83001-@

1шт.

3

130-03-71251

COVER,LOWER

SN: 83001-@

1шт.

4

01010-51025

BOLT

SN: 83001-@

12шт.

5

01602-21030

WASHER,SPRING

SN: 83001-@

12шт.

6

01643-31032

WASHER

SN: 83001-@

12шт.

7

130-03-71280

COVER,L.H.

SN: 83001-@

1шт.

8

130-03-71290

COVER,R.H.

SN: 83001-@

1шт.

9

01010-51025

BOLT

SN: 83001-@

4шт.

10

01602-21030

WASHER,SPRING

SN: 83001-@

4шт.

11

130-03-71270

SHROUD,UPPER

SN: 83001-@

1шт.

12

130-03-71360

SHROUD,LOWER

SN: 83001-@

1шт.

13

01010-51025

BOLT

SN: 83001-@

4шт.

14

01602-21030

WASHER,SPRING

SN: 83001-@

4шт.

15

01643-31032

WASHER

SN: 83001-@

4шт.

16

130-03-71341

GUARD,FAN

SN: 83104-83194

1шт.

|16

130-03-71340

GUARD,FAN

SN: 83001-83103

1шт.

17

130-03-71351

GUARD,FAN

SN: 83104-83194

1шт.

|17

130-03-71350

GUARD,FAN

SN: 83001-83103

1шт.

18

01011-51005

BOLT

SN: 83001-83194

5шт.

19

01602-21030

WASHER,SPRING

SN: 83001-83194

5шт.

20

01643-31032

WASHER

SN: 83001-83194

5шт.

21

01010-51025

BOLT

SN: 83001-@

1шт.

22

01602-21030

WASHER,SPRING

SN: 83001-@

1шт.

23

01643-31032

WASHER

SN: 83001-@

1шт.

Выбрано товаров: 0