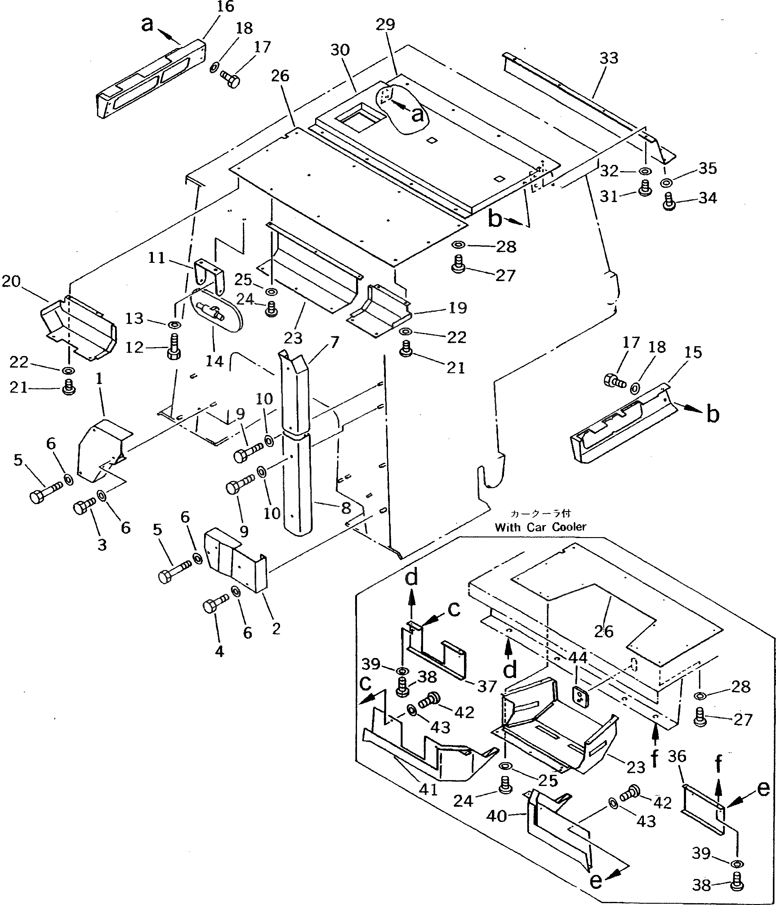
Запчасти Komatsu D53A-18 КРЫША LINING (С СТАЛЬНАЯ КАБИНА)(№87-) КАБИНА ОПЕРАТОРА И СИСТЕМА УПРАВЛЕНИЯ

Схема запчастей Komatsu D53A-18 - КРЫША LINING (С СТАЛЬНАЯ КАБИНА)(№87-) КАБИНА ОПЕРАТОРА И СИСТЕМА УПРАВЛЕНИЯ
FIT
1:1
100%

Артикул

Название

Примечание

Количество

1

144-Y11-3390

COVER

SN: 83071-UP

1шт.

2

144-Y11-3510

COVER

SN: 83071-UP

1шт.

3

01010-50850

BOLT

SN: 83071-UP

1шт.

4

01010-50860

BOLT

SN: 83071-UP

2шт.

5

01010-50880

BOLT

SN: 83071-UP

4шт.

6

01643-30823

WASHER

SN: 83071-UP

7шт.

7

144-Y11-3480

COVER

SN: 83071-UP

1шт.

8

144-Y11-3490

COVER

SN: 83071-UP

1шт.

9

01010-50860

BOLT

SN: 83071-UP

4шт.

10

01643-30823

WASHER

SN: 83071-UP

4шт.

11

120-Y79-5370

BRACKET

SN: 83071-UP

1шт.

12

01010-51020

BOLT

SN: 83071-UP

2шт.

13

01643-31032

WASHER

SN: 83071-UP

2шт.

14

08174-13116

MIRROR,ROOM

SN: 83071-UP

1шт.

15

144-Y11-2430

COVER,L.H.

SN: 83071-UP

1шт.

16

144-Y11-2441

COVER,R.H.

SN: 83204-UP

1шт.

|16

144-Y11-2440

COVER,R.H.

SN: 83071-83203

1шт.

17

01010-50816

BOLT

SN: 83071-UP

8шт.

18

01643-30823

WASHER

SN: 83071-UP

8шт.

19

144-Y11-2541

COVER,L.H.

SN: 83209-UP

1шт.

|19

144-Y11-2540

COVER,L.H.

SN: 83071-83208

1шт.

20

144-Y11-2551

COVER,R.H.

SN: 83209-UP

1шт.

|20

144-Y11-2550

COVER,R.H.

SN: 83071-83208

1шт.

21

01220-40616

SCREW

SN: 83071-UP

8шт.

22

01642-20608

WASHER

SN: 83071-UP

8шт.

23

144-Y11-2531

COVER

SN: 83209-UP

1шт.

|23

144-Y11-2530

COVER

SN: 83071-83208

1шт.

|23

144-Y11-2562

COVER,(WITH CAR COOLER)

SN: 83075-UP

1шт.

24

01220-40616

SCREW

SN: 83071-UP

6шт.

|24

01220-40616

SCREW,(WITH CAR COOLER)

SN: 83071-UP

7шт.

25

01642-20608

WASHER

SN: 83071-UP

6шт.

|25

01642-20608

WASHER,(WITH CAR COOLER)

SN: 83071-UP

7шт.

26

144-Y11-2581

PAD

SN: 83209-UP

1шт.

|26

144-Y11-2580

PAD

SN: 83071-83208

1шт.

|26

144-Y11-2570

PAD,(WITH CAR COOLER)

SN: 83071-UP

1шт.

27

01220-40616

SCREW

SN: 83071-UP

8шт.

|27

01220-40616

SCREW,(WITH CAR COOLER)

SN: 83071-UP

6шт.

28

01642-20608

WASHER

SN: 83071-UP

8шт.

|28

01642-20608

WASHER,(WITH CAR COOLER)

SN: 83071-UP

6шт.

29

144-Y11-2610

SHEET

SN: 83071-UP

1шт.

30

144-Y11-2591

PAD

SN: 83209-UP

1шт.

|30

144-Y11-2590

PAD

SN: 83071-83208

1шт.

31

01220-40616

SCREW

SN: 83071-UP

10шт.

32

01642-20608

WASHER

SN: 83071-UP

10шт.

33

144-Y11-2621

COVER

SN: 83209-UP

1шт.

|33

144-Y11-2620

COVER

SN: 83071-83208

1шт.

34

01220-40616

SCREW

SN: 83071-UP

4шт.

35

01642-20608

WASHER

SN: 83071-UP

4шт.

36

144-Y11-2641

BRACKET,(WITH CAR COOLER)

SN: 83075-UP

1шт.

37

144-Y11-1950

BRACKET,(WITH CAR COOLER)

SN: 83075-UP

1шт.

38

01220-40616

SCREW,(WITH CAR COOLER)

SN: 83075-UP

4шт.

39

01642-20608

WASHER,(WITH CAR COOLER)

SN: 83075-UP

4шт.

40

144-Y11-2631

COVER,(WITH CAR COOLER)

SN: 83075-UP

1шт.

41

144-Y11-1960

COVER,(WITH CAR COOLER)

SN: 83075-UP

1шт.

42

01220-40516

SCREW,(WITH CAR COOLER)

SN: 83075-UP

6шт.

43

01642-20508

WASHER,(WITH CAR COOLER)

SN: 83075-UP

6шт.

44

144-Y11-3520

SEAL,(WITH CAR COOLER)

SN: 83075-UP

1шт.

Выбрано товаров: 57