Запчасти Komatsu D53A-18 CAR ОХЛАДИТЕЛЬ И ТРУБЫ (/) (С СТАЛЬНАЯ КАБИНА)(№8-) КАБИНА ОПЕРАТОРА И СИСТЕМА УПРАВЛЕНИЯ

Схема запчастей Komatsu D53A-18 - CAR ОХЛАДИТЕЛЬ И ТРУБЫ (/) (С СТАЛЬНАЯ КАБИНА)(№8-) КАБИНА ОПЕРАТОРА И СИСТЕМА УПРАВЛЕНИЯ
FIT
1:1
100%

Артикул

Название

Примечание

Количество

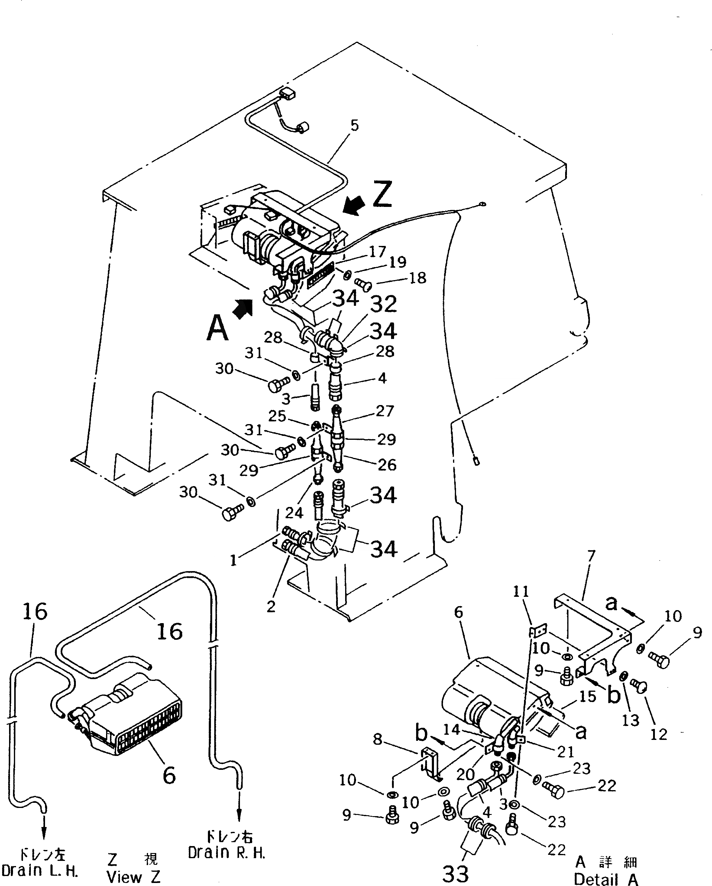
1

120-X11-1370

HOSE

SN: 83162-UP

1шт.

2

120-X11-1440

HOSE

SN: 83162-UP

1шт.

3

120-X11-1380

HOSE

SN: 83162-UP

1шт.

4

120-X11-1450

HOSE

SN: 83162-UP

1шт.

5

144-Y11-3210

WIRE ASS'Y

SN: 83071-UP

1шт.

6

144-Y11-1811

COOLER ASS'Y,(SEE FIG.K0210-51A1A)

SN: 83162-UP

1шт.

7

144-Y11-3410

BRACKET

SN: 83071-UP

1шт.

8

144-Y11-3420

BRACKET

SN: 83071-UP

1шт.

9

01010-50816

BOLT

SN: 83071-UP

4шт.

10

01643-30823

WASHER

SN: 83071-UP

4шт.

11

144-Y11-3450

BRACKET

SN: 83071-UP

1шт.

12

01010-50616

BOLT

SN: 83071-UP

2шт.

13

01643-30623

WASHER

SN: 83071-UP

2шт.

14

144-Y11-3430

SEAL

SN: 83071-UP

2шт.

15

144-Y11-3440

SHEET

SN: 83071-UP

1шт.

16

144-Y11-1831

HOSE ASS'Y

SN: 83075-UP

2шт.

17

144-Y11-1840

GRILLE ASS'Y,AIR OUTLET

SN: 83071-UP

4шт.

18

01370-00516

SCREW

SN: 83071-UP

8шт.

19

01641-20508

WASHER

SN: 83071-UP

8шт.

20

08036-03014

CLIP

SN: 83071-UP

1шт.

21

08036-11214

CLIP

SN: 83071-UP

1шт.

22

01010-50820

BOLT

SN: 83071-UP

2шт.

23

01643-30823

WASHER

SN: 83071-UP

2шт.

24

120-X11-1480

CONNECTOR

SN: 83162-UP

1шт.

25

120-X11-1490

CONNECTOR

SN: 83162-UP

1шт.

26

120-X11-1460

CONNECTOR

SN: 83162-UP

1шт.

27

120-X11-1470

CONNECTOR

SN: 83162-UP

1шт.

28

08036-02514

CLIP

SN: 83071-UP

2шт.

29

08036-03014

CLIP

SN: 83071-UP

2шт.

30

01010-51020

BOLT

SN: 83071-UP

3шт.

31

01643-31032

WASHER

SN: 83071-UP

3шт.

32

203-04-31230

COVER

SN: 83162-UP

1шт.

33

154-54-11292

GROMMET

SN: 83162-UP

2шт.

34

08034-00519

BAND

SN: 83162-UP

8шт.

Выбрано товаров: 34