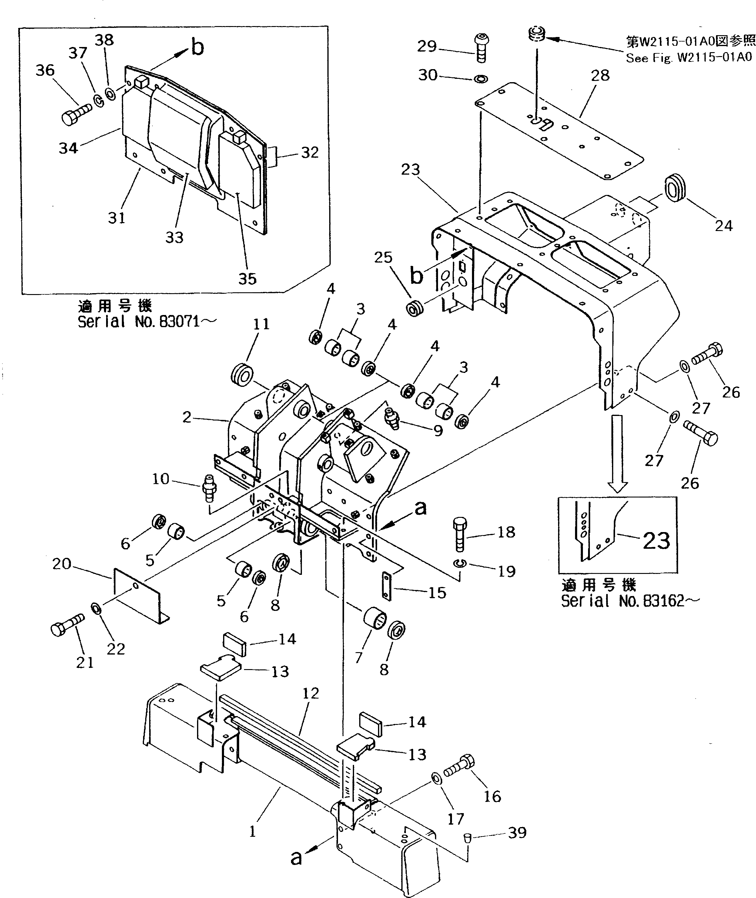
Запчасти Komatsu D53A-18 ПРИБОРНАЯ ПАНЕЛЬ И РАМА (ДЛЯ ОБСЛУЖ.) (ДЛЯ ПОВОР. ОТВАЛА С ИЗМ. УГЛОМНАКЛОНЯЕМ. DOZER) КАБИНА ОПЕРАТОРА И СИСТЕМА УПРАВЛЕНИЯ

Схема запчастей Komatsu D53A-18 - ПРИБОРНАЯ ПАНЕЛЬ И РАМА (ДЛЯ ОБСЛУЖ.) (ДЛЯ ПОВОР. ОТВАЛА С ИЗМ. УГЛОМ  НАКЛОНЯЕМ. DOZER) КАБИНА ОПЕРАТОРА И СИСТЕМА УПРАВЛЕНИЯ
FIT
1:1
100%

Артикул

Название

Примечание

Количество

1

144-43-81321

BRACKET

SN: 83071-UP

1шт.

|1

144-43-81320

BRACKET

SN: 83001-83070

1шт.

2

144-43-51181

FRAME

SN: 83121-UP

1шт.

|2

0

FRAME

SN: 83001-83120

1шт.

3

06120-03020

BEARING,NEEDLE

SN: 83001-UP

4шт.

4

06122-03004

SEAL,BEARING

SN: 83001-UP

4шт.

5

06120-02016

BEARING,NEEDLE

SN: 83001-UP

2шт.

6

06122-02004

SEAL,BEARING

SN: 83001-UP

2шт.

7

06120-05025

BEARING,NEEDLE

SN: 83001-UP

2шт.

8

06122-05004

SEAL,BEARING

SN: 83001-UP

4шт.

9

07020-00001

FITTING,GREASE

SN: 83001-UP

3шт.

10

07020-00000

FITTING,GREASE

SN: 83001-UP

1шт.

11

09415-03614

CAP

SN: 83001-UP

2шт.

12

144-54-24150

SEAT

SN: 83001-UP

1шт.

13

144-54-24130

SEAT

SN: 83001-UP

2шт.

14

144-54-24140

SEAT

SN: 83001-UP

2шт.

15

01573-22310

SEAT

SN: 83001-UP

2шт.

16

01010-51270

BOLT

SN: 83001-UP

4шт.

17

01643-31232

WASHER

SN: 83001-UP

4шт.

18

01010-51235

BOLT

SN: 83001-UP

2шт.

19

01602-21236

WASHER,SPRING

SN: 83001-UP

2шт.

20

120-43-34652

COVER

SN: 83001-UP

1шт.

21

01010-51225

BOLT

SN: 83001-UP

2шт.

22

01643-31232

WASHER

SN: 83001-UP

2шт.

23

13F-43-31180

BOARD,DASH

SN: 83162-UP

1шт.

|23

13F-43-31112

BOARD,DASH

SN: 83121-83161

1шт.

|23

0

BOARD,DASH

SN: 83071-83120

1шт.

|23

13F-43-31110

BOARD,DASH

SN: 83001-83070

1шт.

24

130-54-61270

GUIDE

SN: 83001-UP

2шт.

25

09415-02512

CAP

SN: 83001-UP

1шт.

26

01010-51235

BOLT

SN: 83001-UP

10шт.

27

01643-31232

WASHER

SN: 83001-UP

10шт.

28

130-B60-1190

COVER

SN: 83001-UP

1шт.

29

23S-06-14990

SCREW

SN: 83001-UP

6шт.

30

362-06-21140

WASHER

SN: 83001-UP

6шт.

31

134-A62-3871

COVER ASS'Y

SN: 83121-UP

1шт.

|31

0

COVER ASS'Y

SN: 83071-83120

1шт.

32

144-Y11-3730

SEAL

SN: 83121-UP

3шт.

|32

0

SEAL

SN: 83071-83120

3шт.

33

134-A62-3880

ABSORBER

SN: 83071-UP

1шт.

34

134-A62-3890

ABSORBER

SN: 83071-UP

1шт.

35

134-A62-3910

ABSORBER

SN: 83071-UP

1шт.

36

01010-51225

BOLT

SN: 83071-UP

7шт.

37

01602-21236

WASHER,SPRING

SN: 83071-UP

7шт.

38

01643-31232

WASHER

SN: 83071-UP

7шт.

39

07049-01620

PLUG,(WITHOUT STEEL CAB)

SN: 83071-UP

6шт.

Выбрано товаров: 46