Запчасти Komatsu D53A-18 КАПОТ И БОКОВ. КРЫШКА (ДЛЯ ПОВОРОТН. ОТВАЛА С ИЗМ. УГЛОМ DOZER) ЧАСТИ КОРПУСА

Схема запчастей Komatsu D53A-18 - КАПОТ И БОКОВ. КРЫШКА (ДЛЯ ПОВОРОТН. ОТВАЛА С ИЗМ. УГЛОМ DOZER) ЧАСТИ КОРПУСА
FIT
1:1
100%

Артикул

Название

Примечание

Количество

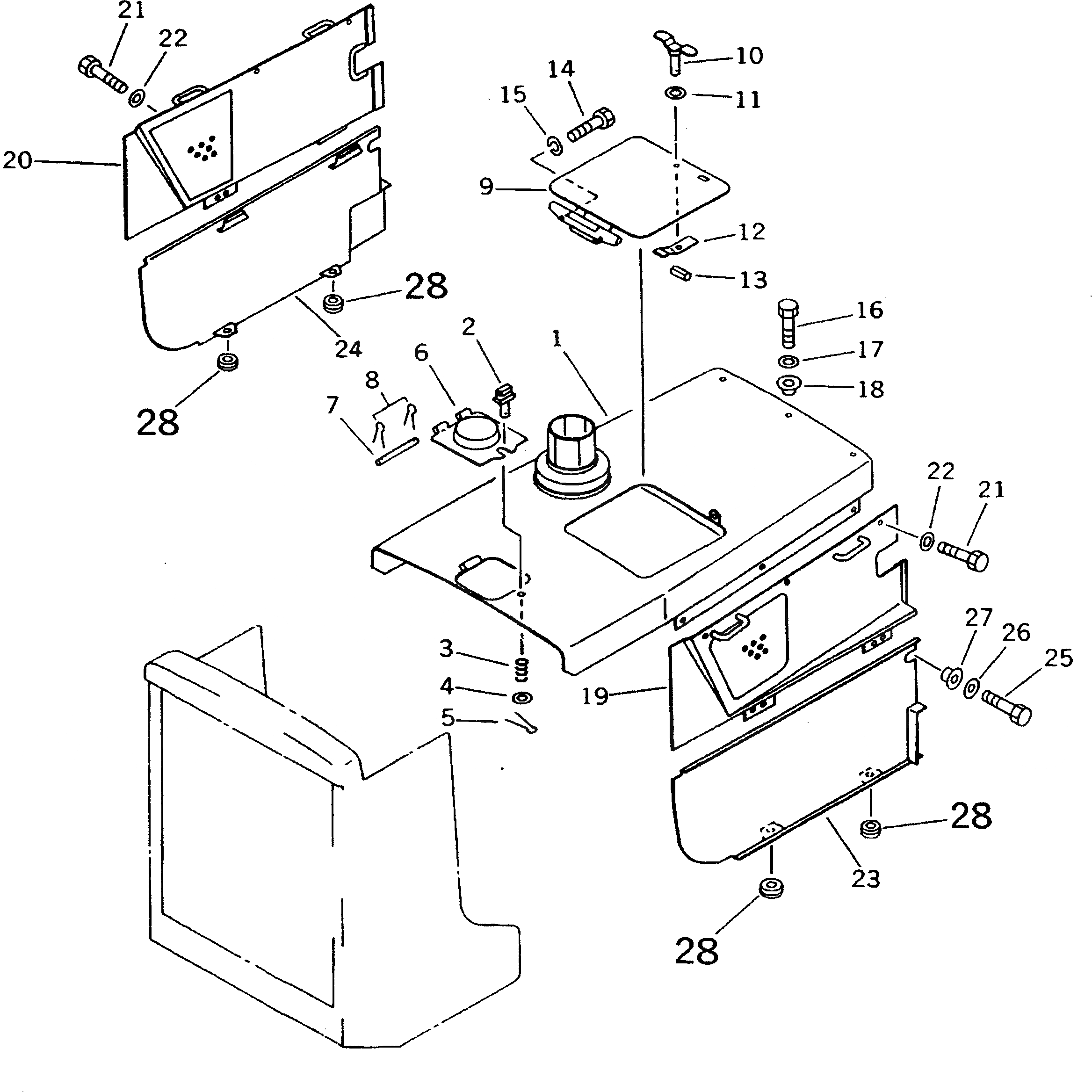
1

13F-54-31231

HOOD,ENGINE

SN: 83209-UP

1шт.

|1

13F-54-31230

HOOD,ENGINE

SN: 83001-83208

1шт.

|2

09459-00000

LOCK

SN: 83001-UP

1шт.

2

09459-00932

LOCK

SN: 83001-UP

1шт.

3

09459-01614

SPRING

SN: 83001-UP

1шт.

4

01642-01016

WASHER

SN: 83001-UP

1шт.

5

04050-03015

PIN,COTTER

SN: 83001-UP

1шт.

6

130-54-61140

COVER

SN: 83001-UP

1шт.

7

131-54-11270

PIN

SN: 83001-UP

1шт.

8

04050-11610

PIN,COTTER

SN: 83001-UP

2шт.

9

134-54-38140

COVER

SN: 83209-UP

1шт.

|9

130-54-71151

COVER

SN: 83001-83208

1шт.

10

135-54-31290

HANDLE

SN: 83001-UP

1шт.

11

01643-31032

WASHER

SN: 83001-UP

1шт.

12

134-54-38590

STOPPER

SN: 83209-UP

1шт.

|12

135-54-31310

STOPPER

SN: 83001-83208

1шт.

13

04025-00316

PIN,SPRING

SN: 83001-UP

1шт.

14

01010-81025

BOLT

SN: 83001-UP

2шт.

15

01643-31032

WASHER

SN: 83001-UP

2шт.

16

01010-81235

BOLT

SN: 83001-UP

3шт.

17

01643-31232

WASHER

SN: 83001-UP

3шт.

18

120-54-31351

WASHER

SN: 83001-UP

3шт.

19

13F-54-31240

COVER,L.H.

SN: 83001-UP

1шт.

20

13F-54-31250

COVER,R.H.

SN: 83001-UP

1шт.

21

01010-81225

BOLT

SN: 83001-UP

6шт.

22

01643-31232

WASHER

SN: 83001-UP

6шт.

23

130-54-81150

COVER,L.H.

SN: 83001-UP

1шт.

24

130-54-81160

COVER,R.H.

SN: 83001-UP

1шт.

25

01010-81225

BOLT

SN: 83001-UP

2шт.

26

01643-31232

WASHER

SN: 83001-UP

2шт.

27

130-54-61230

WASHER

SN: 83001-UP

2шт.

28

08037-01610

GROMMET

SN: 83001-UP

4шт.

Выбрано товаров: 32