Запчасти Komatsu D53A-18 ГИДР. БАК. AND УПРАВЛЯЮЩ. КЛАПАН (/) (ДЛЯ ПРЯМОГО ОТВАЛА) ОСНОВН. КОМПОНЕНТЫ И РЕМКОМПЛЕКТЫ

Схема запчастей Komatsu D53A-18 - ГИДР. БАК. AND УПРАВЛЯЮЩ. КЛАПАН (/) (ДЛЯ ПРЯМОГО ОТВАЛА) ОСНОВН. КОМПОНЕНТЫ И РЕМКОМПЛЕКТЫ
FIT
1:1
100%

Артикул

Название

Примечание

Количество

|1

13F-60-32001

TANK VALVE ASS'Y

SN: 83158-UP

1шт.

|1

13F-60-32000

TANK VALVE ASS'Y

SN: 83001-83157

1шт.

|$$3

THESE ASSEMBLIES CONSIST OF ALL PARTS SHOWN IN FIGS.Y1664-01A0 TO Y1664-04A0.

-1шт.

|1

701-23-16001

VALVE ASS'Y

SN: 83158-UP

1шт.

|1

701-23-25000

VALVE ASS'Y

SN: 83001-83157

1шт.

|$$6

THESE ASSEMBLIES CONSIST OF ALL PARTS SHOWN IN FIGS.Y1664-03A0 AND Y1664-04A0.

-1шт.

|1

701-10-51000

VALVE ASS'Y,MAIN RELIEF

SN: 83001-UP

1шт.

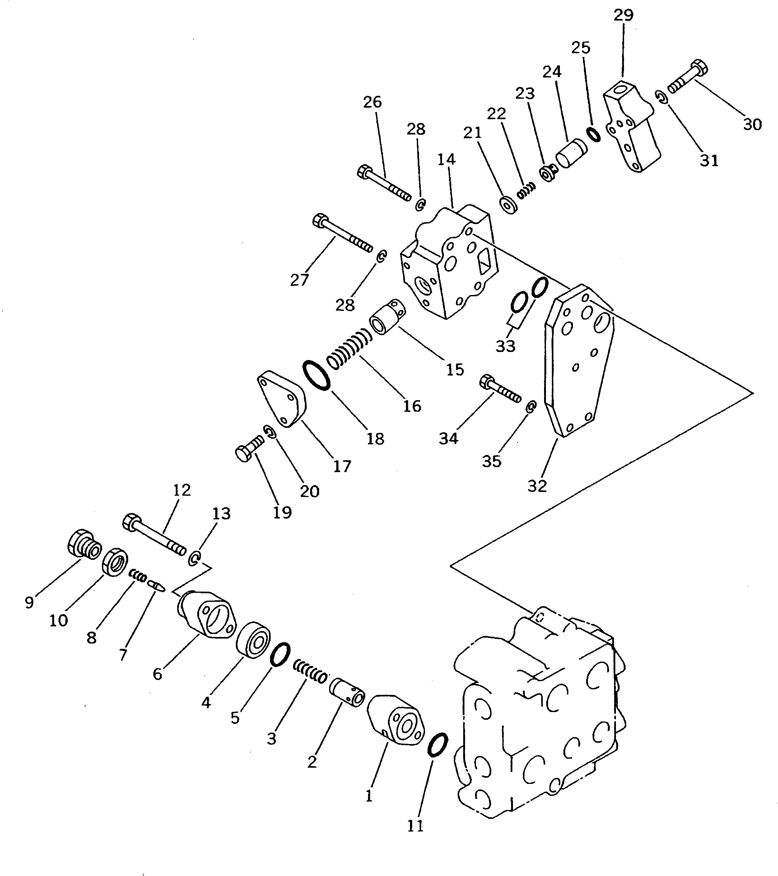
1

0

HOUSING

SN: 83001-UP

1шт.

2

0

VALVE

SN: 83001-UP

1шт.

3

701-10-51130

SPRING

SN: 83001-UP

1шт.

4

701-10-51140

SEAT

SN: 83001-UP

1шт.

5

07000-23030

O-RING

SN: 83001-UP

1шт.

6

701-10-51150

BODY

SN: 83001-UP

1шт.

7

701-30-51160

POPPET

SN: 83001-UP

1шт.

8

701-30-51171

SPRING

SN: 83001-UP

1шт.

9

701-10-51160

PLUG

SN: 83001-UP

1шт.

10

701-30-51190

NUT

SN: 83001-UP

1шт.

11

07000-23032

O-RING

SN: 83001-UP

1шт.

12

01010-31295

BOLT

SN: 83001-UP

2шт.

13

01602-01236

WASHER,SPRING

SN: 83001-UP

2шт.

|14

701-20-77001

VALVE ASS'Y,SUCTION

SN: 83001-UP

1шт.

14

701-20-62112

HOUSING

SN: 83001-UP

1шт.

15

701-30-67121

VALVE

SN: 83001-UP

1шт.

16

701-21-31130

SPRING

SN: 83001-UP

1шт.

17

701-20-62120

PLATE

SN: 83001-UP

1шт.

18

07000-13040

O-RING

SN: 83001-UP

1шт.

19

01010-31035

BOLT

SN: 83001-UP

3шт.

20

01602-01030

WASHER,SPRING

SN: 83001-UP

3шт.

21

701-20-61240

SEAT

SN: 83001-UP

1шт.

22

701-20-61230

SPRING

SN: 83001-UP

1шт.

23

701-20-61221

VALVE

SN: 83001-UP

1шт.

24

701-20-61210

COLLAR

SN: 83001-UP

1шт.

25

07000-12018

O-RING

SN: 83001-UP

1шт.

26

01010-31085

BOLT

SN: 83001-UP

2шт.

27

01010-31090

BOLT

SN: 83001-UP

2шт.

28

01602-01030

WASHER,SPRING

SN: 83001-UP

4шт.

29

701-23-36150

BAFFLE

SN: 83001-UP

1шт.

30

01010-31055

BOLT

SN: 83001-UP

3шт.

31

01602-01030

WASHER,SPRING

SN: 83001-UP

3шт.

32

701-23-16110

PLATE

SN: 83001-UP

1шт.

33

07000-13028

O-RING

SN: 83001-UP

2шт.

34

01010-31035

BOLT

SN: 83001-UP

2шт.

35

01602-01030

WASHER,SPRING

SN: 83001-UP

2шт.

Выбрано товаров: 43