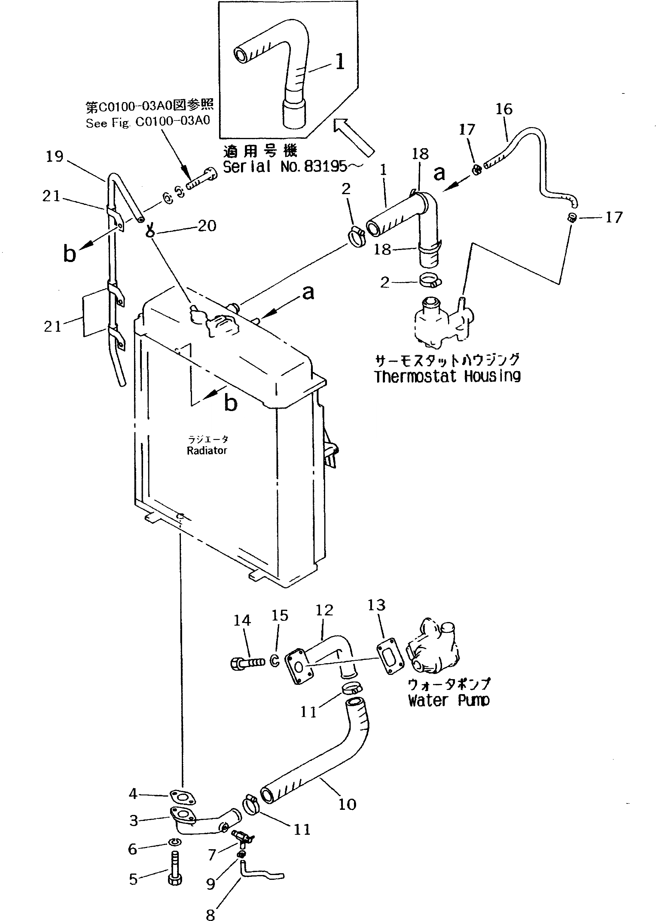
Запчасти Komatsu D53A-18 СИСТЕМА ТРУБ РАДИАТОРА СИСТЕМА ОХЛАЖДЕНИЯ

Схема запчастей Komatsu D53A-18 - СИСТЕМА ТРУБ РАДИАТОРА СИСТЕМА ОХЛАЖДЕНИЯ
FIT
1:1
100%

Артикул

Название

Примечание

Количество

1

130-03-71380

HOSE

SN: 83195-UP

1шт.

|1

130-03-71210

HOSE

SN: 83001-83194

1шт.

2

208-09-11120

CLAMP

SN: 83195-UP

2шт.

|2

07281-00709

CLAMP

SN: 83001-83194

2шт.

3

134-03-31140

PIPE

SN: 83001-UP

1шт.

4

131-03-41321

GASKET

SN: 83156-UP

1шт.

|4

131-03-41320

GASKET

SN: 83001-83155

1шт.

5

01010-81230

BOLT

SN: 83001-UP

2шт.

6

01602-21236

WASHER,SPRING

SN: 83001-UP

2шт.

7

07730-50004

VALVE

SN: 83006-UP

1шт.

|7

0

VALVE

SN: 83001-83005

1шт.

8

07270-01520

TUBE

SN: 83001-UP

1шт.

9

07280-01920

CLAMP

SN: 83001-UP

1шт.

10

130-03-71220

HOSE

SN: 83001-UP

1шт.

11

208-09-11120

CLAMP

SN: 83195-UP

2шт.

|11

07281-00709

CLAMP

SN: 83001-83194

2шт.

12

130-03-71180

TUBE

SN: 83001-UP

1шт.

13

130-03-71191

GASKET

SN: 83156-UP

1шт.

|13

130-03-71190

GASKET

SN: 83001-83155

1шт.

14

01010-81030

BOLT

SN: 83001-UP

4шт.

15

01602-21030

WASHER,SPRING

SN: 83001-UP

4шт.

16

07260-20970

HOSE

SN: 83195-UP

1шт.

|16

07260-20980

HOSE

SN: 83001-83194

1шт.

17

07281-00197

CLAMP

SN: 83001-UP

2шт.

18

08034-00834

BAND

SN: 83001-UP

2шт.

19

13F-03-31140

TUBE

SN: 83001-UP

1шт.

20

04059-01010

WIRE,LOCK

SN: 83001-UP

1шт.

21

6675-61-7380

CLIP

SN: 83001-UP

3шт.

Выбрано товаров: 28