Запчасти Komatsu D53P-16 РАДИАТОР COVER КОМПОНЕНТЫ ДВИГАТЕЛЯ И ЭЛЕКТРИКА

Схема запчастей Komatsu D53P-16 - РАДИАТОР COVER КОМПОНЕНТЫ ДВИГАТЕЛЯ И ЭЛЕКТРИКА
FIT
1:1
100%

Артикул

Название

Примечание

Количество

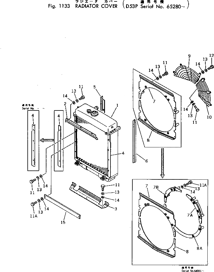
1

134-03-21100

RADIATOR ASS'Y

SN: 65280-UP

1шт.

2

13F-03-11260

COVER,UPPER

SN: 65280-UP

1шт.

3

134-03-21280

COVER,LOWER

SN: 65280-UP

1шт.

4

134-03-21240

PLATE,L.H.

SN: .-UP

1шт.

4

134-03-21250

PLATE,R.H.

SN: .-UP

1шт.

4

134-03-21270

PLATE

SN: 65280-.

2шт.

5

134-03-21360

COVER,L.H.

SN: 65280-UP

1шт.

6

134-03-21350

COVER,R.H.

SN: 65280-UP

1шт.

7

134-03-21332

SHROUD,UPPER

SN: 68001-UP

1шт.

7

134-03-21330

SHROUD,UPPER

SN: 65280-68000

1шт.

7A

134-03-21420

COVER,L.H., UPPER

SN: 68001-UP

1шт.

7B

134-03-21430

COVER,R.H., UPPER

SN: 68001-UP

1шт.

8

134-03-21342

SHROUD,LOWER

SN: 68001-UP

1шт.

8

134-03-21340

SHROUD,LOWER

SN: 65280-68000

1шт.

8A

134-03-21440

COVER,LOWER

SN: 68001-UP

1шт.

9

134-03-21321

GUARD

SN: 65280-UP

1шт.

10

134-03-21311

GUARD

SN: 65280-UP

1шт.

11

01010-31025

BOLT

SN: 68001-UP

21шт.

11

01010-31025

BOLT

SN: 65280-68000

77шт.

11A

01010-31030

BOLT

SN: 68001-UP

7шт.

11A

01010-31025

BOLT

SN: 65280-68000

7шт.

12

01011-31030

BOLT

SN: 65280-UP

6шт.

13

01602-01030

WASHER

SN: 68001-UP

34шт.

13

01602-01030

WASHER

SN: 65280-68000

30шт.

14

01643-31032

WASHER

SN: 68001-UP

30шт.

14

01643-31032

WASHER

SN: 65280-68000

26шт.

15

134-54-21120

PLATE

SN: 68001-UP

1шт.

Выбрано товаров: 27