Запчасти Komatsu D53P-16 LINING ОТВАЛ ОПЦИОННЫЕ КОМПОНЕНТЫ

Схема запчастей Komatsu D53P-16 - LINING ОТВАЛ ОПЦИОННЫЕ КОМПОНЕНТЫ
FIT
1:1
100%

Артикул

Название

Примечание

Количество

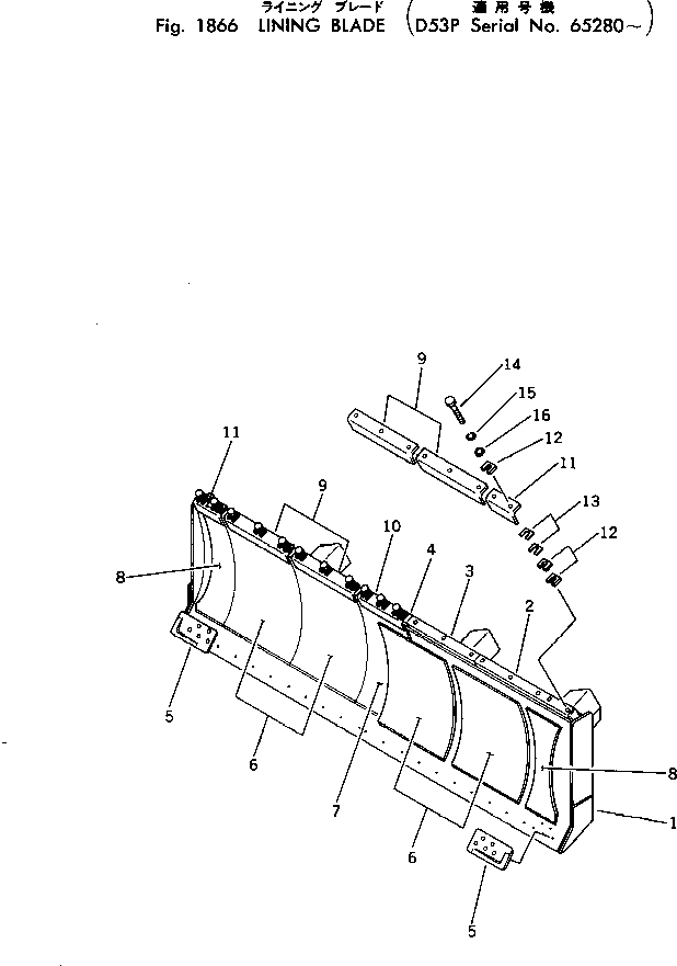
1

13F-Z27-1710

BLADE ASS'Y

SN: 65280-UP

1шт.

2

13F-Z27-1910

PLATE,L.H. (WELDED)

SN: 65280-UP

1шт.

2

13F-Z27-1920

PLATE,R.H. (WELDED)

SN: 65280-UP

1шт.

3

13F-Z27-1930

PLATE,L.H. (WELDED)

SN: 65280-UP

1шт.

3

13F-Z27-1940

PLATE,R.H. (WELDED)

SN: 65280-UP

1шт.

4

13F-Z27-1950

PLATE

SN: 65280-UP

1шт.

5

13F-Z27-1830

BIT,END, L.H.

SN: 65280-UP

1шт.

5

13F-Z27-1840

BIT,END, R.H.

SN: 65280-UP

1шт.

6

13F-Z27-1730

PLATE

SN: 65280-UP

4шт.

7

13F-Z27-1740

PLATE

SN: 65280-UP

1шт.

8

13F-Z27-1720

PLATE,L.H.

SN: 65280-UP

1шт.

8

13F-Z27-1850

PLATE,R.H.

SN: 65280-UP

1шт.

9

13F-Z27-1770

PLATE

SN: 65280-UP

4шт.

10

13F-Z27-1780

PLATE

SN: 65280-UP

1шт.

11

13F-Z27-1760

PLATE

SN: 65280-UP

2шт.

12

13F-Z27-1810

PLATE, 4.5MM

SN: 65280-UP

57шт.

13

13F-Z27-1820

PLATE, 2.3MM

SN: 65280-UP

38шт.

14

01010-31255

BOLT

SN: 65280-UP

19шт.

15

01602-01236

WASHER

SN: 65280-UP

19шт.

16

01643-31232

WASHER

SN: 65280-UP

19шт.

Выбрано товаров: 20