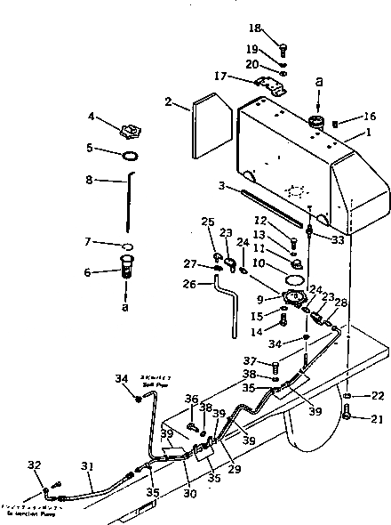
Запчасти Komatsu D53P-17 ТОПЛ. БАК И ТОПЛИВОПРОВОД (ШУМОПОДАВЛ. ДЛЯ EC)(№89-) ТОПЛИВН. БАК. AND КОМПОНЕНТЫ

Схема запчастей Komatsu D53P-17 - ТОПЛ. БАК И ТОПЛИВОПРОВОД (ШУМОПОДАВЛ. ДЛЯ EC)(№89-) ТОПЛИВН. БАК. AND КОМПОНЕНТЫ
FIT
1:1
100%

Артикул

Название

Примечание

Количество

1

130-04-71111

TANK

SN: 80943-UP

1шт.

2

134-A62-3360

ABSORBER

SN: 80943-UP

1шт.

3

130-A62-3650

SEAL

SN: 80943-UP

1шт.

4

07050-41200

CAP

SN: 80943-UP

1шт.

5

07050-21202

GASKET

SN: 80943-UP

1шт.

6

07056-18416

STRAINER

SN: 80943-UP

1шт.

7

07057-04087

RING

SN: 80943-UP

1шт.

8

131-04-61121

GAUGE

SN: 80943-UP

1шт.

9

125-04-13110

FLANGE

SN: 80943-UP

1шт.

10

07000-02135

O-RING

SN: 80943-UP

1шт.

11

131-04-43130

STRAINER

SN: 80943-UP

1шт.

12

01010-80812

BOLT

SN: 80943-UP

2шт.

13

01602-20825

WASHER

SN: 80943-UP

2шт.

14

01010-81025

BOLT

SN: 80943-UP

6шт.

15

01602-21030

WASHER

SN: 80943-UP

6шт.

16

07049-01012

PLUG

SN: 80943-UP

4шт.

17

120-04-31141

BRACKET

SN: 80943-UP

1шт.

18

01010-81025

BOLT

SN: 80943-UP

4шт.

19

01602-21030

WASHER

SN: 80943-UP

4шт.

20

01643-31032

WASHER

SN: 80943-UP

4шт.

21

01010-81435

BOLT

SN: 80943-UP

6шт.

22

01602-21442

WASHER

SN: 80943-UP

6шт.

23

07700-40460

VALVE

SN: 80943-UP

2шт.

24

131-04-54120

NIPPLE

SN: 80943-UP

2шт.

25

131-04-54130

ELBOW

SN: 80943-UP

1шт.

26

07270-01260

TUBE

SN: 80943-UP

1шт.

27

07280-01620

CLAMP

SN: 80943-UP

1шт.

28

131-04-54140

NIPPLE

SN: 80943-UP

1шт.

29

130-04-71210

TUBE

SN: 80943-UP

1шт.

30

130-04-71220

TUBE

SN: 80943-UP

1шт.

31

07104-20205

HOSE

SN: 80943-UP

1шт.

32

131-04-62110

TUBE

SN: 80943-UP

1шт.

33

130-04-71230

NIPPLE

SN: 80943-UP

1шт.

34

07280-01620

CLAMP

SN: 80943-UP

2шт.

35

130-04-11260

CLIP

SN: 80943-UP

4шт.

36

01010-81016

BOLT

SN: 80943-UP

3шт.

37

01010-81030

BOLT

SN: 80943-UP

1шт.

38

01602-21030

WASHER

SN: 80943-UP

4шт.

39

08034-00519

BAND

SN: 80943-UP

7шт.

40

07270-41037

TUBE,SPILL

SN: 80943-UP

1шт.

Выбрано товаров: 40