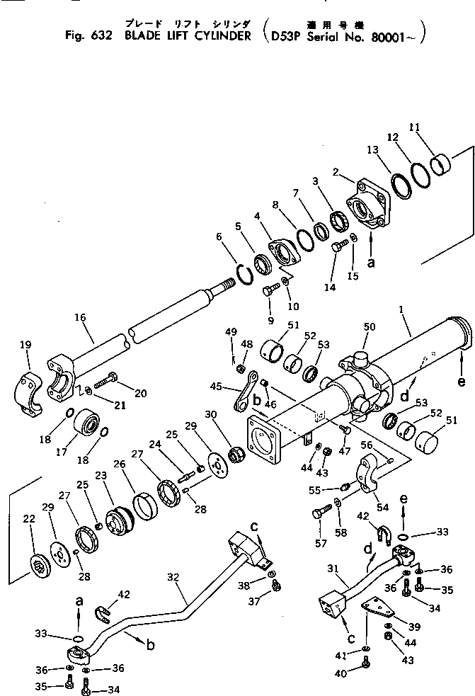
Запчасти Komatsu D53P-17 ЦИЛИНДР ПОДЪЕМА ОТВАЛА ОСНОВН. КОМПОНЕНТЫ И РЕМКОМПЛЕКТЫ

Схема запчастей Komatsu D53P-17 - ЦИЛИНДР ПОДЪЕМА ОТВАЛА ОСНОВН. КОМПОНЕНТЫ И РЕМКОМПЛЕКТЫ
FIT
1:1
100%

Артикул

Название

Примечание

Количество

|$1

13F-63-13102

LIFT CYLINDER ASS'Y,L.H.

SN: 80001-UP

1шт.

|$2

13F-63-13202

LIFT CYLINDER ASS'Y,R.H.

SN: 80001-UP

1шт.

1

13F-63-13140

CYLINDER,L.H.

SN: 80001-UP

1шт.

1

13F-63-13240

CYLINDER,R.H.

SN: 80001-UP

1шт.

2

130-63-12133

HEAD,CYLINDER

SN: 80001-UP

1шт.

3

707-51-55110

PACKING,ROD

SN: 80001-UP

1шт.

4

07178-15530

GLAND

SN: 80001-UP

1шт.

5

707-56-55510

SEAL,DUST

SN: 80001-UP

1шт.

6

07179-00077

RING,SNAP

SN: 80001-UP

1шт.

7

07177-05512

BUSHING

SN: 80001-UP

1шт.

8

07000-03070

O-RING

SN: 80001-UP

1шт.

9

01010-31445

BOLT

SN: 80001-UP

2шт.

10

01602-01442

WASHER

SN: 80001-UP

2шт.

11

07177-05530

BUSHING

SN: 80001-UP

1шт.

12

07000-12085

O-RING

SN: 80001-UP

1шт.

13

07146-02086

RING,BACK-UP

SN: 80001-UP

1шт.

14

01010-31645

BOLT

SN: 80001-UP

4шт.

15

01602-01648

WASHER

SN: 80001-UP

4шт.

16

130-63-12124

ROD,PISTON

SN: 80001-UP

1шт.

17

07137-03505

BUSHING

SN: 80001-UP

1шт.

18

07000-03035

O-RING

SN: 80001-UP

2шт.

19

130-63-12260

CAP

SN: 80001-UP

1шт.

20

01010-31675

BOLT

SN: 80001-UP

4шт.

21

01602-01648

WASHER

SN: 80001-UP

4шт.

22

130-63-12660

SLIDER

SN: 80001-UP

1шт.

|$26

130-63-12064

VALVE ASS'Y

SN: 80001-UP

1шт.

23

0

PISTON

SN: 80001-UP

1шт.

24

0

VALVE,PISTON

SN: 80001-UP

3шт.

25

0

SEAT,VALVE

SN: 80001-UP

6шт.

26

07155-00925

RING,WEAR

SN: 80001-UP

1шт.

27

707-42-90012

PACKING,PISTON

SN: 80001-UP

2шт.

28

130-63-12761

PIN

SN: 80001-UP

2шт.

29

707-40-90030

RETAINER

SN: 80001-UP

2шт.

30

130-63-12860

NUT,NYLON

SN: 80001-UP

1шт.

31

13F-63-13190

TUBE,L.H.

SN: 80001-UP

1шт.

31

13F-63-13290

TUBE,R.H.

SN: 80001-UP

1шт.

32

13F-63-13181

TUBE,L.H.

SN: 80001-UP

1шт.

32

13F-63-13281

TUBE,R.H.

SN: 80001-UP

1шт.

33

07000-13030

O-RING

SN: 80001-UP

2шт.

34

01010-30850

BOLT

SN: 80001-UP

4шт.

35

01010-30835

BOLT

SN: 80001-UP

4шт.

36

01602-00825

WASHER

SN: 80001-UP

8шт.

37

01010-30820

BOLT

SN: 80001-UP

2шт.

38

01602-00825

WASHER

SN: 80001-UP

2шт.

39

13F-63-13370

PLATE

SN: 80001-UP

1шт.

40

01010-31025

BOLT

SN: 80001-UP

2шт.

41

01602-01030

WASHER

SN: 80001-UP

2шт.

42

07283-22738

CLIP

SN: 80001-UP

2шт.

43

01599-01011

NUT

SN: 80001-UP

4шт.

44

01643-31032

WASHER

SN: 80001-UP

4шт.

45

130-63-13390

PLATE

SN: 80001-UP

1шт.

46

130-63-12490

COLLAR

SN: 80001-UP

1шт.

47

01012-31035

BOLT

SN: 80001-UP

1шт.

48

01590-01012

NUT

SN: 80001-UP

1шт.

49

04050-02018

PIN

SN: 80001-UP

1шт.

50

130-54-61430

SUPPORT

SN: 80001-UP

1шт.

51

130-54-61440

HOUSING

SN: 80001-UP

2шт.

52

130-54-61450

BUSHING

SN: 80001-UP

2шт.

53

07145-00045

SEAL,DUST

SN: 80001-UP

2шт.

54

130-54-61420

CAP

SN: 80001-UP

2шт.

55

07020-00000

FITTING

SN: 80001-UP

2шт.

56

170-70-15190

PIN

SN: 80001-UP

2шт.

57

01010-31460

BOLT

SN: 80001-UP

4шт.

58

01602-01442

WASHER

SN: 80001-UP

4шт.

Выбрано товаров: 64