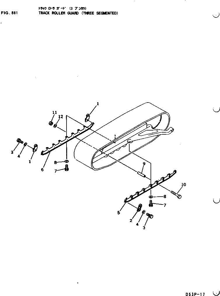
Запчасти Komatsu D53P-17 ЗАЩИТА ОПОРНЫХ КАТКОВ (THREE SEGMENTED) ХОДОВАЯ

Схема запчастей Komatsu D53P-17 - ЗАЩИТА ОПОРНЫХ КАТКОВ (THREE SEGMENTED) ХОДОВАЯ
FIT
1:1
100%

Артикул

Название

Примечание

Количество

1

130-30-12180

PLATE

SN: 80001-UP

1шт.

2

130-30-12170

PLATE

SN: 80001-UP

2шт.

3

01010-51430

BOLT

SN: 80001-UP

6шт.

4

01602-21442

WASHER

SN: 80001-UP

6шт.

5

13F-30-22220

GUARD,L.H. INNER

SN: 80001-UP

1шт.

|5

13F-30-22240

GUARD,R.H. INNER

SN: 80001-UP

1шт.

6

13F-30-22210

GUARD,L.H. OUTER

SN: 80001-UP

1шт.

|6

13F-30-22230

GUARD,R.H. OUTER

SN: 80001-UP

1шт.

7

01010-51640

BOLT

SN: 80001-UP

15шт.

8

01643-31645

WASHER

SN: 80001-UP

15шт.

9

141-30-12151

COLLAR

SN: 80001-UP

7шт.

10

09205-18295

BOLT

SN: 80001-UP

7шт.

11

01580-11815

NUT

SN: 80001-UP

7шт.

12

01643-31845

WASHER

SN: 80001-UP

7шт.

Выбрано товаров: 14