Запчасти Komatsu D53P-17 ГИДРОЛИНИЯ (БАК - ЦИЛИНДР ПЕРЕКОСА) (/) РАБОЧЕЕ ОБОРУДОВАНИЕ

Схема запчастей Komatsu D53P-17 - ГИДРОЛИНИЯ (БАК - ЦИЛИНДР ПЕРЕКОСА) (/) РАБОЧЕЕ ОБОРУДОВАНИЕ
FIT
1:1
100%

Артикул

Название

Примечание

Количество

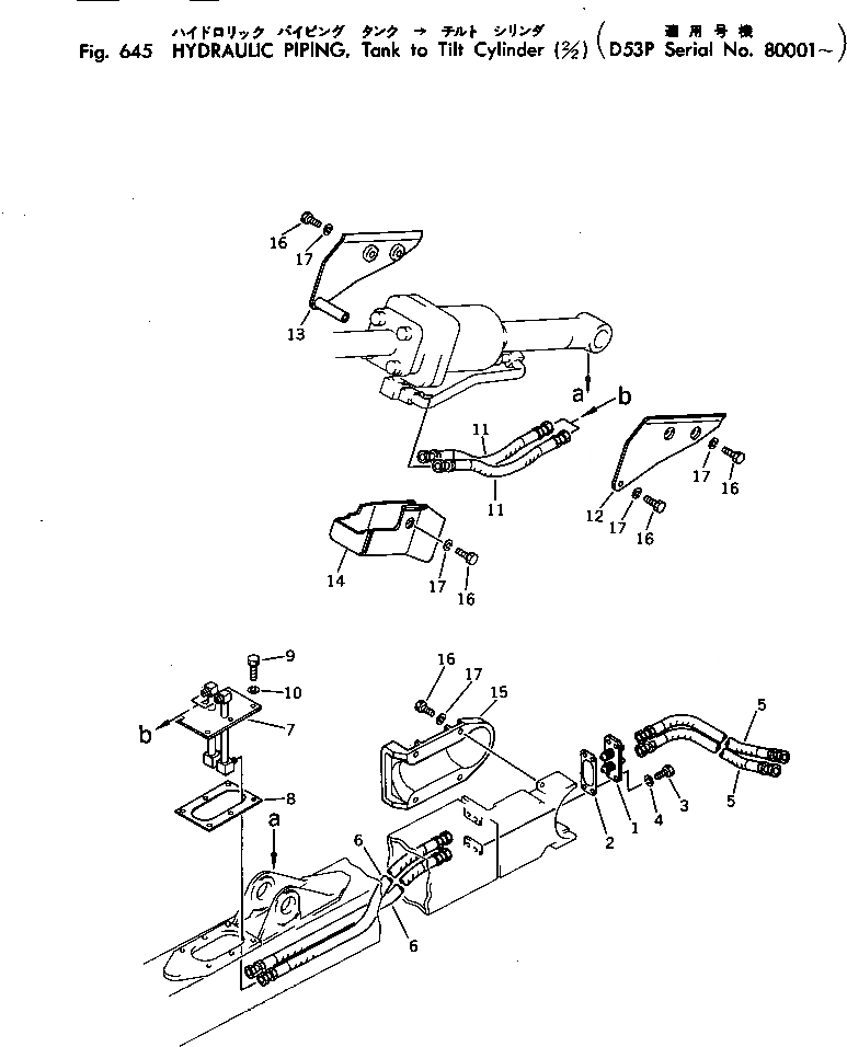
1

144-Z20-9230

BRACKET

SN: 80001-UP

1шт.

2

144-Z20-9271

GASKET

SN: 81261-UP

1шт.

|2

0

GASKET

SN: 80001-81260

1шт.

3

01010-81230

BOLT

SN: 80001-UP

4шт.

4

01602-21236

WASHER

SN: 80001-UP

4шт.

5

13F-62-21150

HOSE

SN: 80001-UP

2шт.

6

134-62-31170

HOSE

SN: 80001-UP

2шт.

7

13F-62-21160

BRACKET

SN: 80001-UP

1шт.

8

13F-62-21181

GASKET

SN: 80001-81260

1шт.

|8

0

GASKET

SN: 80001-UP

1шт.

9

01010-81230

BOLT

SN: 80001-UP

6шт.

10

01602-21236

WASHER

SN: 80001-UP

6шт.

11

07113-00305

HOSE

SN: 80001-UP

2шт.

12

13F-62-21120

COVER

SN: 80001-UP

1шт.

13

13F-62-21130

COVER

SN: 80001-UP

1шт.

14

13F-62-21140

COVER

SN: 80001-UP

1шт.

15

13F-62-21110

COVER

SN: 80001-UP

1шт.

16

01010-81225

BOLT

SN: 80001-UP

11шт.

17

01602-21236

WASHER

SN: 80001-UP

11шт.

Выбрано товаров: 0