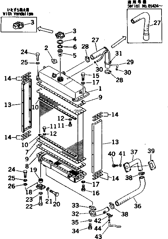
Запчасти Komatsu D53P-17 РАДИАТОР И ТРУБЫ СИСТЕМА ОХЛАЖДЕНИЯ

Схема запчастей Komatsu D53P-17 - РАДИАТОР И ТРУБЫ СИСТЕМА ОХЛАЖДЕНИЯ
FIT
1:1
100%

Артикул

Название

Примечание

Количество

|1

134-03-00100

RADIATOR ASS'Y

SN: 80001-UP

1шт.

|1

134-03-00200

RADIATOR ASS'Y,(VANDALISM PROTECTION)

SN: 80001-UP

1шт.

1

130-03-71110

TANK,UPPER

SN: 80001-UP

1шт.

2

125-03-21210

CAP

SN: 80001-UP

1шт.

3

07053-10000

CAP

SN: 80001-UP

1шт.

|3

07093-20000

CAP,(VANDALISM PROTECTION)

SN: 80001-UP

1шт.

4

07053-00002

GASKET

SN: 80001-UP

1шт.

5

07056-00048

STRAINER

SN: 80001-UP

1шт.

6

07057-03271

RING

SN: 80001-UP

1шт.

7

134-03-31110

CORE

SN: 80001-UP

1шт.

8

134-03-31131

TANK,LOWER (WITH OIL COOLER)

SN: 80001-UP

1шт.

9

130-03-71141

GASKET

SN: 81282-UP

2шт.

|9

130-03-71140

GASKET

SN: 80001-81281

2шт.

10

134-03-21150

PLATE

SN: 80001-UP

4шт.

11

01010-81020

BOLT

SN: 80001-UP

60шт.

12

01602-01030

WASHER

SN: 80001-UP

60шт.

13

130-03-71150

SUPPORT

SN: 80001-UP

2шт.

14

130-03-05010

SHIM KIT

SN: 80001-UP

2шт.

|14

0

SHIM¤ 0.2MM

SN: 80001-UP

4шт.

|14

0

SHIM¤ 0.5MM

SN: 80001-UP

4шт.

15

01010-81245

BOLT

SN: 80001-UP

6шт.

16

01010-81240

BOLT

SN: 80001-UP

6шт.

17

01602-21236

WASHER

SN: 80001-UP

12шт.

18

130-03-71370

BRACKET

SN: 80001-UP

2шт.

19

135-03-12110

DAMPER

SN: 80001-UP

2шт.

20

01010-81280

BOLT

SN: 80001-UP

2шт.

21

01602-01236

WASHER

SN: 80001-UP

2шт.

22

01010-81460

BOLT

SN: 80001-UP

2шт.

23

01602-21442

WASHER

SN: 80001-UP

2шт.

24

01010-81245

BOLT

SN: 80001-UP

8шт.

25

01602-21236

WASHER

SN: 80001-UP

8шт.

26

01643-31232

WASHER

SN: 80001-UP

4шт.

27

130-03-71380

HOSE

SN: 81424-UP

1шт.

|27

130-03-71210

HOSE

SN: 80001-81423

1шт.

28

208-09-11120

CLAMP

SN: 80912-UP

2шт.

|28

0

CLAMP

SN: 80001-80911

2шт.

29

07260-20970

HOSE

SN: 81424-UP

1шт.

|29

07260-20990

HOSE

SN: 80001-81423

1шт.

30

07281-00197

CLAMP

SN: 80001-UP

2шт.

31

08034-00834

BAND

SN: 80001-UP

2шт.

32

134-03-31140

PIPE

SN: 80001-UP

1шт.

33

131-03-41321

GASKET

SN: 81282-UP

1шт.

|33

131-03-41320

GASKET

SN: 80001-81281

1шт.

34

01010-81230

BOLT

SN: 80001-UP

2шт.

35

01602-21236

WASHER

SN: 80001-UP

2шт.

36

130-03-71220

HOSE

SN: 80001-UP

1шт.

37

130-03-71180

TUBE

SN: 80001-UP

1шт.

38

208-09-11120

CLAMP

SN: 80912-UP

2шт.

|38

0

CLAMP

SN: 80001-80911

2шт.

39

130-03-71191

GASKET

SN: 81282-UP

1шт.

|39

130-03-71190

GASKET

SN: 80001-81281

1шт.

40

01010-81030

BOLT

SN: 80001-UP

4шт.

41

01602-01030

WASHER

SN: 80001-UP

4шт.

42

07730-50004

VALVE

SN: 80881-UP

1шт.

|42

0

VALVE

SN: 80001-80880

1шт.

43

07270-01520

TUBE

SN: 80001-UP

1шт.

44

07280-01920

CLAMP

SN: 80001-UP

1шт.

Выбрано товаров: 57