Запчасти Komatsu D53P-18 ГУСЕНИЦЫ (СМАЗЫВ. ТИПА) (БОЛОТН.) ХОДОВАЯ

Схема запчастей Komatsu D53P-18 - ГУСЕНИЦЫ (СМАЗЫВ. ТИПА) (БОЛОТН.) ХОДОВАЯ
FIT
1:1
100%

Артикул

Название

Примечание

Количество

|$$1

860MM WIDE

-1шт.

|1

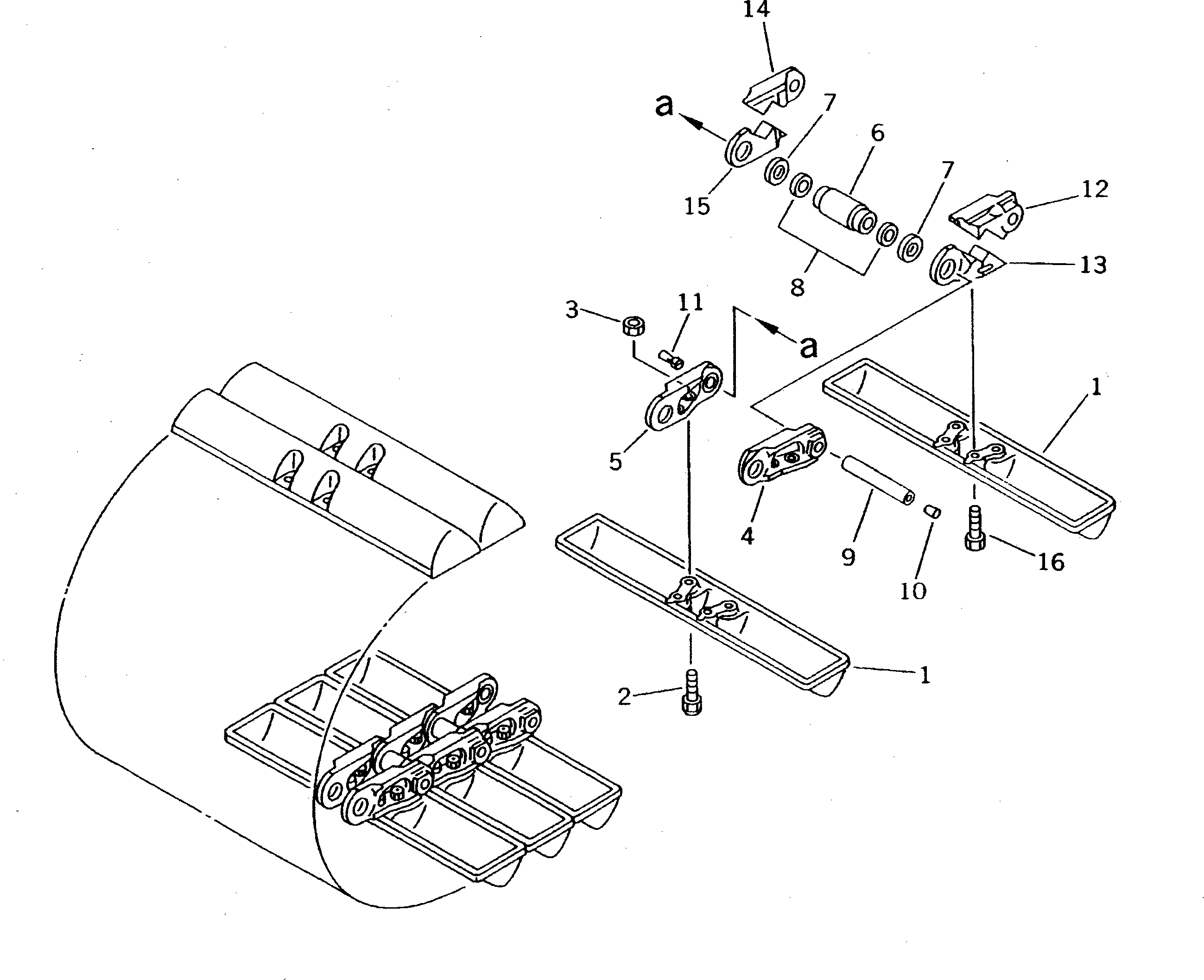
13F-32-01634

TRACK SHOE ASS'Y

SN: 83764-UP

1шт.

|1

0

TRACK SHOE ASS'Y

SN: 83233-83763

1шт.

|1

0

TRACK SHOE ASS'Y

SN: 83001-83232

1шт.

1

13F-32-21112

SHOE,TRACK

SN: 83001-UP

98шт.

2

13F-32-21221

BOLT¤ SHOE (KIT)

SN: 83764-UP

376шт.

|2

13F-32-21220

BOLT,SHOE (KIT)

SN: 83001-83763

376шт.

3

203-32-51220

NUT,SHOE (KIT)

SN: 83764-UP

376шт.

|3

01803-01622

NUT¤ SHOE (KIT)

SN: 83001-83763

376шт.

|4

13F-32-00072

TRACK LINK ASS'Y

SN: 83233-UP

1шт.

|4

0

TRACK LINK ASS'Y

SN: 83001-83232

1шт.

4

130-32-11126

LINK,TRACK¤ L.H.

SN: 83001-UP

94шт.

5

130-32-11136

LINK,TRACK¤ R.H.

SN: 83001-UP

94шт.

6

130-32-21141

BUSHING

SN: 83233-UP

98шт.

|6

0

BUSHING

SN: 83001-83232

98шт.

7

130-32-21160

SEAL ASS'Y

SN: 83001-UP

196шт.

8

130-32-21190

SPACER

SN: 83001-UP

196шт.

9

130-32-21150

PIN

SN: 83001-UP

98шт.

10

07059-11830

PLUG,LARGE

SN: 83001-UP

98шт.

11

07059-20721

PLUG,SMALL

SN: 83001-UP

98шт.

12

130-32-21221

LINK¤ MASTER,L.H.¤ PIN SIDE

SN: 83001-UP

4шт.

13

130-32-21231

LINK¤ MASTER,L.H.¤ BUSHING SIDE

SN: 83001-UP

4шт.

14

130-32-21321

LINK¤ MASTER,R.H.¤ PIN SIDE

SN: 83001-UP

4шт.

15

130-32-21331

LINK¤ MASTER,R.H.¤ BUSHING SIDE

SN: 83001-UP

4шт.

16

130-32-21262

BOLT,LINK

SN: 83001-UP

16шт.

|$$26

SERVICE KIT

-1шт.

|1

13F-32-05001

SHOE BOLT AND NUT K.

SN: 83764-UP

1шт.

|1

0

SHOE BOLT AND NUT K.

SN: 83001-83763

1шт.

1

13F-32-21221

BOLT¤ SHOE

SN: 83764-UP

50шт.

|1

13F-32-21220

BOLT,SHOE

SN: 83001-83763

50шт.

2

203-32-51220

NUT,SHOE

SN: 83764-UP

50шт.

|2

01803-01622

NUT¤ SHOE

SN: 83001-83763

50шт.

|$$33

OVERSIZE PARTS

-1шт.

|$$34

SELECT AS REQUIRED NOT NECESSARY TO USE ALL OF THE OVERSIZE PARTS.

-1шт.

|$$35

0.10MM OVERSIZE

-1шт.

6

130-98-09211

BUSHING

SN: 83233-UP

-2шт.

|6

0

BUSHING

SN: 83001-83232

-2шт.

9

130-98-09070

PIN

SN: 83001-UP

-2шт.

|$$39

0.18MM OVERSIZE

-1шт.

6

130-98-09221

BUSHING

SN: 83233-UP

-2шт.

|6

0

BUSHING

SN: 83001-83232

-2шт.

9

130-98-09080

PIN

SN: 83001-UP

-2шт.

Выбрано товаров: 42