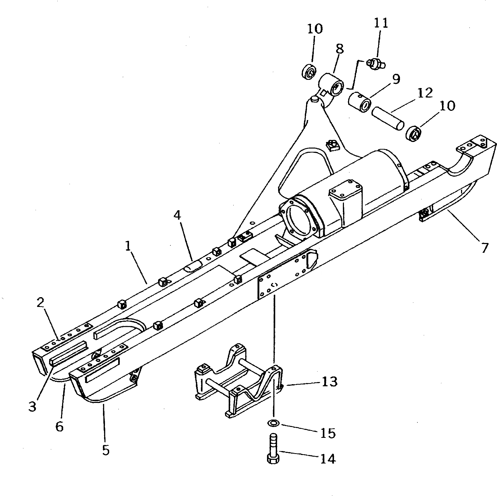
Запчасти Komatsu D53P-18 ГУСЕНИЧНАЯ РАМА ХОДОВАЯ

Схема запчастей Komatsu D53P-18 - ГУСЕНИЧНАЯ РАМА ХОДОВАЯ
FIT
1:1
100%

Артикул

Название

Примечание

Количество

|1

13F-30-00211

TRACK FRAME ASS'Y,L.H.

SN: 83063-UP

1шт.

|1

13F-30-00210

TRACK FRAME ASS'Y,L.H.

SN: 83001-83062

1шт.

|1

13F-30-00221

TRACK FRAME ASS'Y,R.H.

SN: 83063-UP

1шт.

|1

13F-30-00220

TRACK FRAME ASS'Y,R.H.

SN: 83001-83062

1шт.

1

13F-30-31112

FRAME,TRACK¤ L.H.

SN: 83063-UP

1шт.

|1

13F-30-31111

FRAME,TRACK¤ L.H.

SN: 83001-83062

1шт.

|1

13F-30-31131

FRAME,TRACK¤ R.H.

SN: 83063-UP

1шт.

|1

13F-30-31130

FRAME,TRACK¤ R.H.

SN: 83001-83062

1шт.

2

144-30-51150

PLATE (WELDED)

SN: 83001-UP

2шт.

3

130-30-11134

PLATE (WELDED)

SN: 83001-UP

2шт.

4

130-812-5210

SEAT (WELDED)

SN: 83001-UP

1шт.

5

135-806-2110

GUARD,L.H. OUTER AND R.H. INNER (WELDED)

SN: 83001-UP

1шт.

6

135-806-2120

GUARD,L.H. INNER AND R.H. OUTER (WELDED)

SN: 83001-UP

1шт.

7

13F-30-21210

GUARD,L.H. (WELDED)

SN: 83001-UP

1шт.

|7

13F-30-21220

GUARD,R.H. (WELDED)

SN: 83001-UP

1шт.

8

130-30-41140

HEAD (WELDED)

SN: 83001-UP

1шт.

9

135-30-11251

BUSHING

SN: 83001-UP

1шт.

10

130-09-12790

SEAL,DUST

SN: 83001-UP

4шт.

11

07020-00000

FITTING,GREASE

SN: 83001-UP

2шт.

12

135-30-11230

PIN

SN: 83001-UP

2шт.

13

13F-30-22111

GUARD

SN: 83045-UP

2шт.

|13

13F-30-22110

GUARD

SN: 83001-83044

2шт.

14

01010-51645

BOLT

SN: 83001-UP

8шт.

15

01643-31645

WASHER

SN: 83001-UP

8шт.

Выбрано товаров: 24