Запчасти Komatsu D53P-18 ГИДР. БАК. AND УПРАВЛЯЮЩ. КЛАПАН (/) ОСНОВН. КОМПОНЕНТЫ И РЕМКОМПЛЕКТЫ

Схема запчастей Komatsu D53P-18 - ГИДР. БАК. AND УПРАВЛЯЮЩ. КЛАПАН (/) ОСНОВН. КОМПОНЕНТЫ И РЕМКОМПЛЕКТЫ
FIT
1:1
100%

Артикул

Название

Примечание

Количество

|1

13F-60-32001

TANK VALVE ASS'Y

SN: .-UP

1шт.

|1

13F-60-32000

TANK VALVE ASS'Y

SN: 83001-.

1шт.

|$$3

THESE ASSEMBLIES CONSIST OF ALL PARTS SHOWN IN FIGS.Y1660-01A0 TO Y1660-04A0.

-1шт.

|1

701-23-16001

VALVE ASS'Y

SN: .-UP

1шт.

|1

701-23-25000

VALVE ASS'Y

SN: 83001-.

1шт.

|$$6

THESE ASSEMBLIES CONSIST OF ALL PARTS SHOWN IN FIGS.Y1660-03A0 AND Y1660-04A0.

-1шт.

|1

701-23-36001

BODY ASS'Y

SN: .-UP

1шт.

|1

701-23-38000

BODY ASS'Y

SN: 83001-.

1шт.

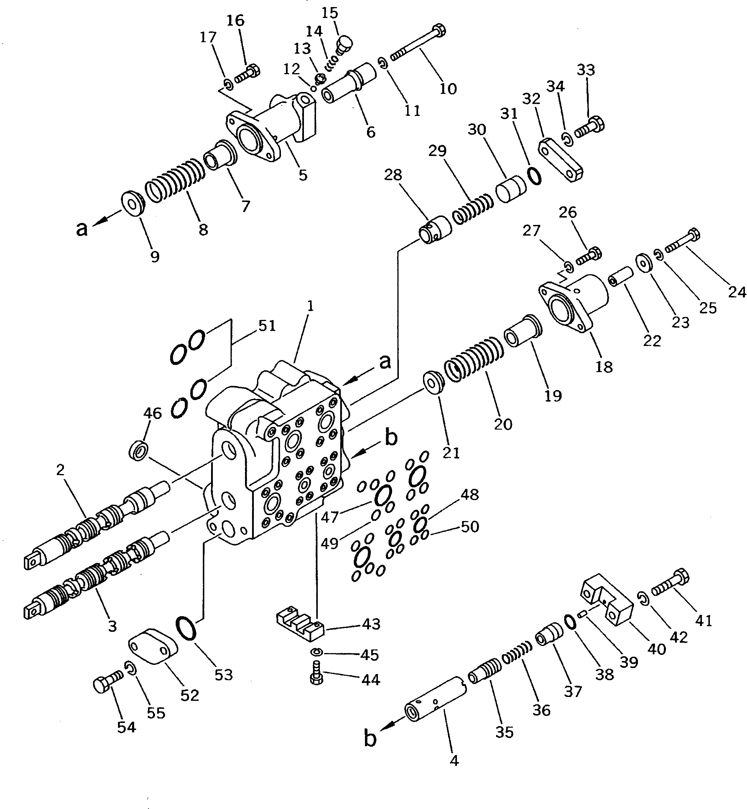
1

0

BODY

SN: 83001-UP

1шт.

2

0

SPOOL

SN: .-UP

1шт.

|2

0

SPOOL

SN: 83001-.

1шт.

3

0

SPOOL

SN: 83001-UP

1шт.

4

0

COLLAR

SN: 83001-UP

1шт.

5

701-21-31230

CASE

SN: 83001-UP

1шт.

6

701-21-31170

DETENT

SN: 83001-UP

1шт.

7

701-21-31190

COLLAR

SN: 83001-UP

1шт.

8

701-21-31210

SPRING

SN: 83001-UP

1шт.

9

701-21-31180

COLLAR

SN: 83001-UP

1шт.

10

701-21-31220

BOLT

SN: 83001-UP

1шт.

11

01602-01030

WASHER,SPRING

SN: 83001-UP

1шт.

12

701-33-31320

BALL

SN: 83001-UP

3шт.

13

701-33-31330

GUIDE

SN: 83001-UP

3шт.

14

701-13-31240

SPRING

SN: 83001-UP

3шт.

15

701-33-31350

PLUG

SN: 83001-UP

3шт.

16

01010-31030

BOLT

SN: 83001-UP

2шт.

17

01602-01030

WASHER,SPRING

SN: 83001-UP

2шт.

18

701-23-31170

CASE

SN: 83001-UP

1шт.

19

701-23-31140

COLLAR

SN: 83001-UP

1шт.

20

701-21-31210

SPRING

SN: 83001-UP

1шт.

21

701-21-31180

COLLAR

SN: 83001-UP

1шт.

22

701-23-31160

SPACER

SN: 83001-UP

1шт.

23

701-23-31150

WASHER

SN: 83001-UP

1шт.

24

01010-31055

BOLT

SN: 83001-UP

1шт.

25

01602-01030

WASHER,SPRING

SN: 83001-UP

1шт.

26

01010-31030

BOLT

SN: 83001-UP

2шт.

27

01602-01030

WASHER,SPRING

SN: 83001-UP

2шт.

28

701-30-67121

VALVE

SN: 83001-UP

1шт.

29

701-21-31130

SPRING

SN: 83001-UP

1шт.

30

701-21-31140

SEAT

SN: 83001-UP

1шт.

31

07000-13025

O-RING

SN: 83001-UP

1шт.

32

701-21-31150

PLATE

SN: 83001-UP

1шт.

33

01010-31235

BOLT

SN: 83001-UP

2шт.

34

01602-01236

WASHER,SPRING

SN: 83001-UP

2шт.

35

701-21-33130

VALVE

SN: 83001-UP

1шт.

36

701-21-33140

SPRING

SN: 83001-UP

1шт.

37

701-21-33150

SEAT

SN: 83001-UP

1шт.

38

07000-12018

O-RING

SN: 83001-UP

1шт.

39

04025-00312

PIN,SPRING

SN: 83001-UP

1шт.

40

701-23-36130

PLATE

SN: 83001-UP

1шт.

41

01010-31255

BOLT

SN: 83001-UP

2шт.

42

01602-01236

WASHER,SPRING

SN: 83001-UP

2шт.

43

701-23-36140

BAFFLE

SN: 83001-UP

1шт.

44

01010-30830

BOLT

SN: 83001-UP

2шт.

45

01602-00825

WASHER,SPRING

SN: 83001-UP

2шт.

46

701-20-51110

COLLAR

SN: 83001-UP

1шт.

47

07000-13035

O-RING

SN: 83001-UP

3шт.

48

07000-13025

O-RING

SN: 83001-UP

2шт.

49

07000-02014

O-RING

SN: 83001-UP

14шт.

50

07000-02012

O-RING

SN: 83001-UP

8шт.

51

07000-13028

O-RING

SN: 83001-UP

4шт.

52

701-21-31281

PLATE

SN: 83001-UP

1шт.

53

07000-13038

O-RING

SN: 83001-UP

1шт.

54

01010-31235

BOLT

SN: 83001-UP

2шт.

55

01602-01236

WASHER,SPRING

SN: 83001-UP

2шт.

Выбрано товаров: 64