Запчасти Komatsu D53P-18 НАСОС ТРАНСМИССИИ СИЛОВАЯ ПЕРЕДАЧА И КОНЕЧНАЯ ПЕРЕДАЧА

Схема запчастей Komatsu D53P-18 - НАСОС ТРАНСМИССИИ СИЛОВАЯ ПЕРЕДАЧА И КОНЕЧНАЯ ПЕРЕДАЧА
FIT
1:1
100%

Артикул

Название

Примечание

Количество

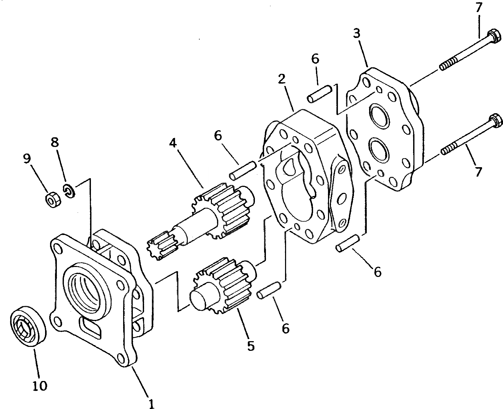
|1

07432-72203

PUMP ASS'Y

SN: 83001-UP

1шт.

1

0

BRACKET

SN: 83001-UP

1шт.

|1

0

BUSHING

SN: 83001-UP

2шт.

2

0

CASE

SN: 83001-UP

1шт.

3

0

HOUSING

SN: 83001-UP

1шт.

|3

0

BUSHING

SN: 83001-UP

2шт.

4

0

GEAR,DRIVE

SN: 83001-UP

1шт.

5

0

GEAR,DRIVEN

SN: 83001-UP

1шт.

6

0

PIN,DOWEL

SN: 83001-UP

4шт.

7

0

BOLT

SN: 83001-UP

8шт.

8

0

WASHER,SPRING

SN: 83001-UP

8шт.

9

0

NUT

SN: 83001-UP

8шт.

10

07430-71160

SEAL,OIL

SN: 83001-UP

1шт.

Выбрано товаров: 13