Запчасти Komatsu D53P-18 CAR ОХЛАДИТЕЛЬ КОНДЕНСАТОР БЛОК (С СТАЛЬНАЯ КАБИНА)(№8-89) КАБИНА ОПЕРАТОРА И СИСТЕМА УПРАВЛЕНИЯ

Схема запчастей Komatsu D53P-18 - CAR ОХЛАДИТЕЛЬ КОНДЕНСАТОР БЛОК (С СТАЛЬНАЯ КАБИНА)(№8-89) КАБИНА ОПЕРАТОРА И СИСТЕМА УПРАВЛЕНИЯ
FIT
1:1
100%

Артикул

Название

Примечание

Количество

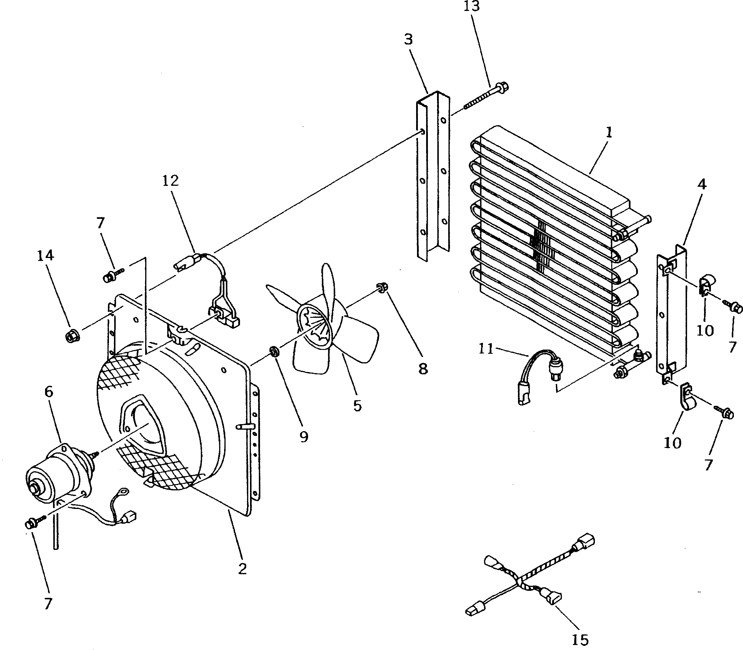
|1

144-Y11-1850

CONDENSER ASS'Y

SN: 83403-83920

1шт.

|$$2

THE DENSO PART NUMBER IS THAT ND IS REMOVED FROM KOMATSU PART NUMBER LISTED BELOW.

-1шт.

1

ND047710-5210

CORE,CONDENSER

SN: 83403-83920

1шт.

2

205-979-7560

SHROUD,FAN

SN: 83403-@

1шт.

3

205-979-7570

BRACKET,CONDENSER

SN: 83403-@

1шт.

4

ND047750-4860

BRACKET,CONDENSER

SN: 83403-@

1шт.

5

205-979-7590

FAN

SN: 83403-@

1шт.

6

ND162500-5720

MOTOR ASS'Y

SN: 83403-@

1шт.

7

ND91570-06161

BOLT,WITH WASHER

SN: 83403-@

6шт.

8

ND949056-2230

NUT

SN: 83403-@

1шт.

9

ND949011-3040

WASHER

SN: 83403-@

1шт.

10

205-979-7630

CLAMP,PIPING

SN: 83403-@

2шт.

11

ND113440-1521

SWITCH,PRESSURE

SN: 83403-83920

1шт.

12

205-979-7650

RESISTOR,BLOWER

SN: 83403-@

1шт.

13

ND949047-2200

BOLT,WITH WASHER

SN: 83403-@

6шт.

14

ND146982-0030

NUT

SN: 83403-@

6шт.

15

205-979-7660

HARNESS ASS'Y

SN: 83403-@

1шт.

Выбрано товаров: 17