Запчасти Komatsu 6D125-1VV МАСЛЯНЫЙ ПОДДОН БЛОК ЦИЛИНДРОВ

Схема запчастей Komatsu 6D125-1VV - МАСЛЯНЫЙ ПОДДОН БЛОК ЦИЛИНДРОВ
FIT
1:1
100%

Артикул

Название

Примечание

Количество

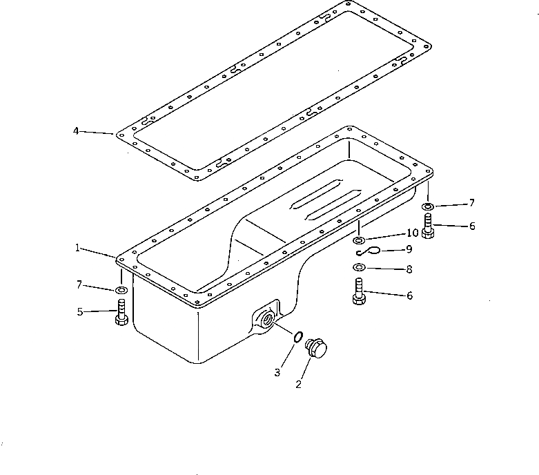
1

6150-21-5110

PAN,OIL

SN: 26679-UP

1шт.

2

6150-21-5620

PLUG,DRAIN

SN: 26679-UP

1шт.

3

07002-03634

O-RING (K2)

SN: 26679-UP

1шт.

4

6150-21-5811

GASKET (K2)

SN: 26679-UP

1шт.

5

01010-51025

BOLT

SN: 26679-UP

29шт.

6

01010-51030

BOLT

SN: 26679-UP

7шт.

7

01640-21016

WASHER

SN: 26679-UP

35шт.

8

01640-21016

WASHER

SN: 34862-UP

1шт.

|8

01643-31032

WASHER

SN: 26679-34861

1шт.

9

6130-22-5290

CLIP

SN: 26679-UP

1шт.

10

01643-31032

WASHER

SN: 34862-UP

1шт.

1

6150-21-5110

PAN,OIL

SN: 26679-UP

1шт.

2

6150-21-5620

PLUG,DRAIN

SN: 26679-UP

1шт.

3

07002-03634

O-RING (K2)

SN: 26679-UP

1шт.

4

6150-21-5811

GASKET (K2)

SN: 26679-UP

1шт.

5

01010-51025

BOLT

SN: 26679-UP

29шт.

6

01010-51030

BOLT

SN: 26679-UP

7шт.

7

01640-21016

WASHER

SN: 26679-UP

35шт.

8

01640-21016

WASHER

SN: 34862-UP

1шт.

|8

01643-31032

WASHER

SN: 26679-34861

1шт.

9

6130-22-5290

CLIP

SN: 26679-UP

1шт.

10

01643-31032

WASHER

SN: 34862-UP

1шт.

Выбрано товаров: 22