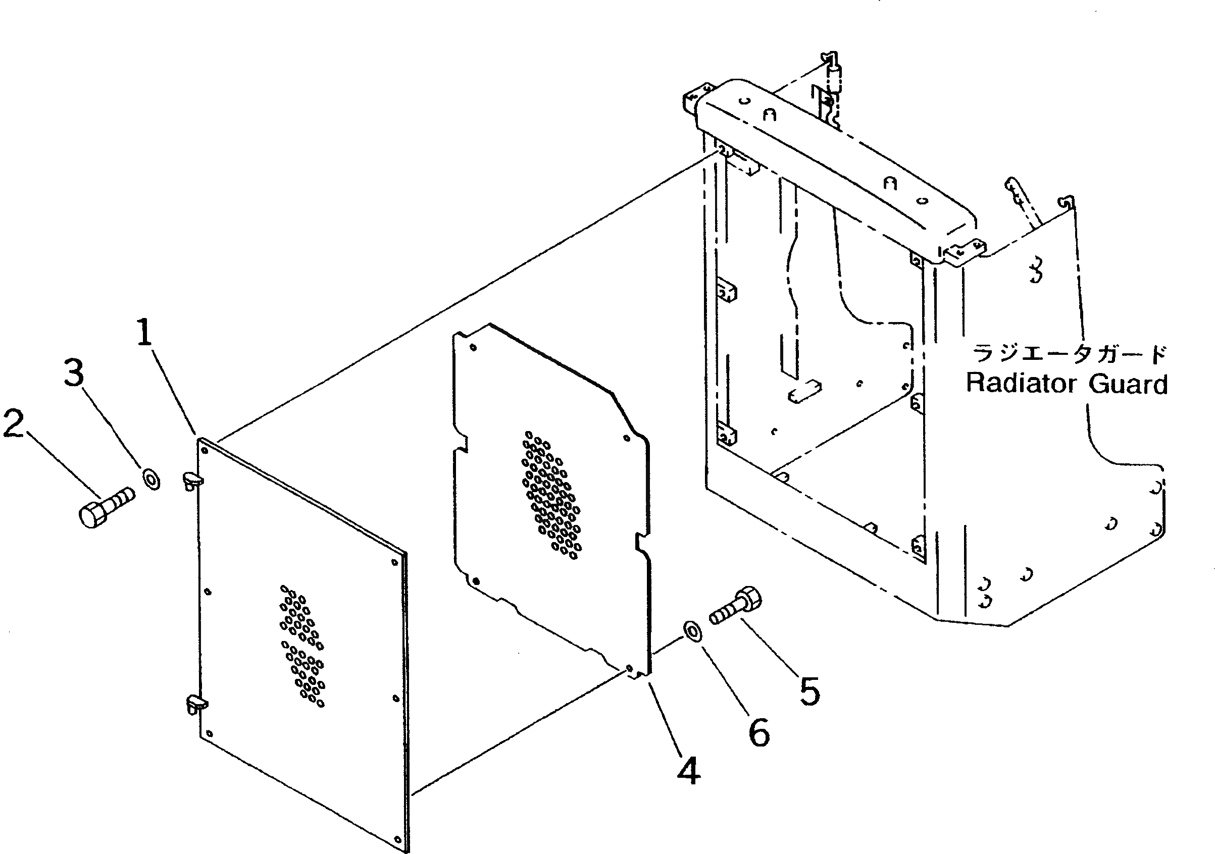
Запчасти Komatsu D53P-18A ПЕРФОРИРОВАНН. ЗАСЛОНКА РАДИАТОРА (ДВОЙН.) ЧАСТИ КОРПУСА

Схема запчастей Komatsu D53P-18A - ПЕРФОРИРОВАНН. ЗАСЛОНКА РАДИАТОРА (ДВОЙН.) ЧАСТИ КОРПУСА
FIT
1:1
100%

Артикул

Название

Примечание

Количество

1

130-54-86112

MASK

SN: 84058-UP

1шт.

|1

0

MASK

SN: 83269-84057

1шт.

|1

130-54-86110

MASK

SN: 83001-83268

1шт.

2

01010-81230

BOLT

SN: 83001-UP

6шт.

3

01643-31232

WASHER

SN: 83001-UP

6шт.

4

130-54-86140

MASK

SN: 84058-UP

1шт.

|4

130-54-86131

MASK

SN: 83269-84057

1шт.

|4

130-54-86130

MASK

SN: 83001-83268

1шт.

5

01010-81225

BOLT

SN: 84058-UP

4шт.

|5

01010-81230

BOLT

SN: 83001-84057

4шт.

6

01602-21236

WASHER

SN: 84058-UP

4шт.

|6

01643-31232

WASHER

SN: 83001-84057

4шт.

Выбрано товаров: 12