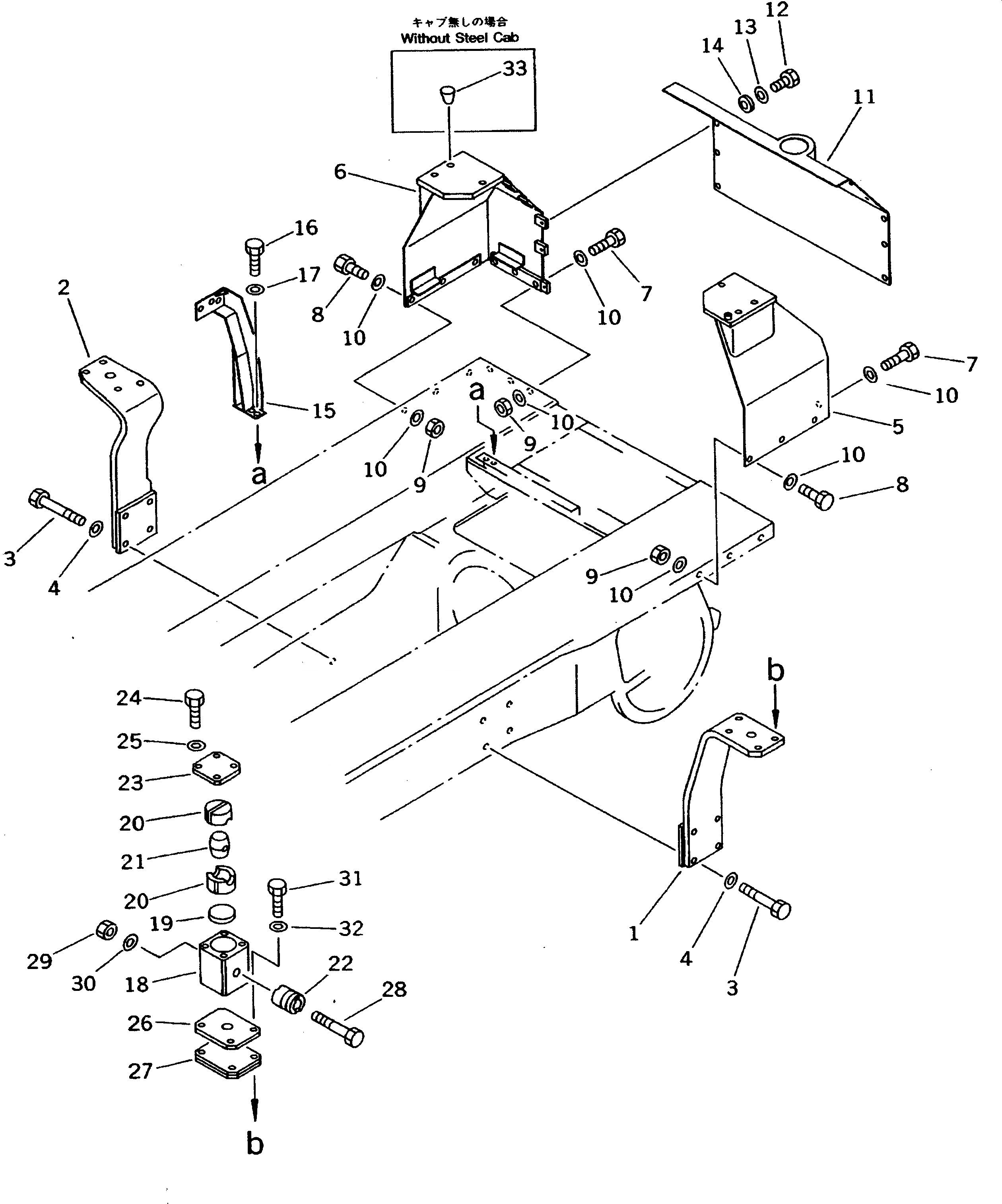
Запчасти Komatsu D53P-18A СТАЛЬНАЯ КАБИНА КРЕПЛЕНИЕ (С СТАЛЬНАЯ КАБИНА)(№8-) ЧАСТИ КОРПУСА

Схема запчастей Komatsu D53P-18A - СТАЛЬНАЯ КАБИНА КРЕПЛЕНИЕ (С СТАЛЬНАЯ КАБИНА)(№8-) ЧАСТИ КОРПУСА
FIT
1:1
100%

Артикул

Название

Примечание

Количество

1

130-Y11-1210

BRACKET,L.H.

SN: 83403-UP

1шт.

2

130-Y11-1220

BRACKET,R.H.

SN: 83403-UP

1шт.

3

01010-52475

BOLT

SN: 83403-UP

8шт.

4

01643-32460

WASHER

SN: 83403-UP

8шт.

5

130-Z78-1520

BRACKET,L.H.

SN: 84028-UP

1шт.

|5

144-Y11-1111

BRACKET,L.H.

SN: 83403-84027

1шт.

6

130-Z78-1530

BRACKET,R.H.

SN: 84028-UP

1шт.

|6

144-Y11-1121

BRACKET,R.H.

SN: 83403-84027

1шт.

7

01010-52080

BOLT

SN: 84028-UP

6шт.

|7

01010-52075

BOLT

SN: 83403-84027

6шт.

8

01010-52060

BOLT

SN: 84028-UP

6шт.

|8

01010-52055

BOLT

SN: 83403-84027

6шт.

9

144-978-8260

NUT

SN: 84028-UP

12шт.

|9

01580-12016

NUT

SN: 83403-84027

12шт.

10

01643-32060

WASHER

SN: 83403-UP

24шт.

11

130-Y11-1230

COVER

SN: 84028-UP

1шт.

|11

144-Y11-1131

COVER

SN: 83403-84027

1шт.

12

01010-51445

BOLT

SN: 84028-UP

8шт.

|12

01010-51445

BOLT

SN: 83403-84027

10шт.

13

01643-31445

WASHER

SN: 84028-UP

8шт.

|13

01643-31445

WASHER

SN: 83403-84027

10шт.

14

178-43-14320

SPACER

SN: 84028-UP

8шт.

|14

178-43-14320

SPACER

SN: 83403-84027

10шт.

15

130-Y06-1270

BRACKET

SN: 83403-UP

1шт.

16

01010-51230

BOLT

SN: 83403-UP

5шт.

17

01643-31232

WASHER

SN: 83403-UP

5шт.

18

120-Y78-3362

BRACKET

SN: 83403-UP

4шт.

19

120-Y78-3240

PLATE

SN: 83403-UP

4шт.

20

142-54-12740

RUBBER

SN: 83403-UP

8шт.

21

175-978-5160

BLOCK

SN: 83403-UP

4шт.

22

175-978-5170

COLLAR

SN: 83403-UP

4шт.

23

120-Y78-4230

PLATE

SN: 83403-UP

4шт.

24

01010-51230

BOLT

SN: 83403-UP

16шт.

25

01602-21236

WASHER,SPRING

SN: 83403-UP

16шт.

26

144-Y11-1510

PLATE,FRONT

SN: 83403-UP

2шт.

|26

130-Y11-1430

PLATE,REAR

SN: 83403-UP

2шт.

|26

144-Y11-1510

PLATE,REAR

SN: 83403-UP

2шт.

|26

144-Y11-1530

PLATE,REAR

SN: 83403-UP

2шт.

27

144-Y11-1520

PLATE,FRONT

SN: 83403-UP

4шт.

|27

130-Y11-1440

PLATE,REAR

SN: 83403-UP

4шт.

|27

144-Y11-1520

PLATE,REAR

SN: 83403-UP

4шт.

|27

144-Y11-1540

PLATE,REAR

SN: 83403-UP

4шт.

28

175-978-5210

BOLT

SN: 83403-UP

4шт.

29

01580-12722

NUT

SN: 83403-UP

4шт.

30

01643-32780

WASHER

SN: 83403-UP

4шт.

31

01018-32060

BOLT,FRONT

SN: 83403-UP

6шт.

|31

01018-32060

BOLT,REAR

SN: 83403-UP

6шт.

32

01643-32060

WASHER,FRONT

SN: 83403-UP

6шт.

|32

144-Y11-1550

WASHER,REAR

SN: 83403-UP

6шт.

33

07049-02025

PLUG,(WITHOUT STEEL CAB)

SN: 83403-UP

12шт.

Выбрано товаров: 0