Запчасти Komatsu D53P-18A УСИЛЕНН. ПРУЖИНА ХОДОВАЯ

Схема запчастей Komatsu D53P-18A - УСИЛЕНН. ПРУЖИНА ХОДОВАЯ
FIT
1:1
100%

Артикул

Название

Примечание

Количество

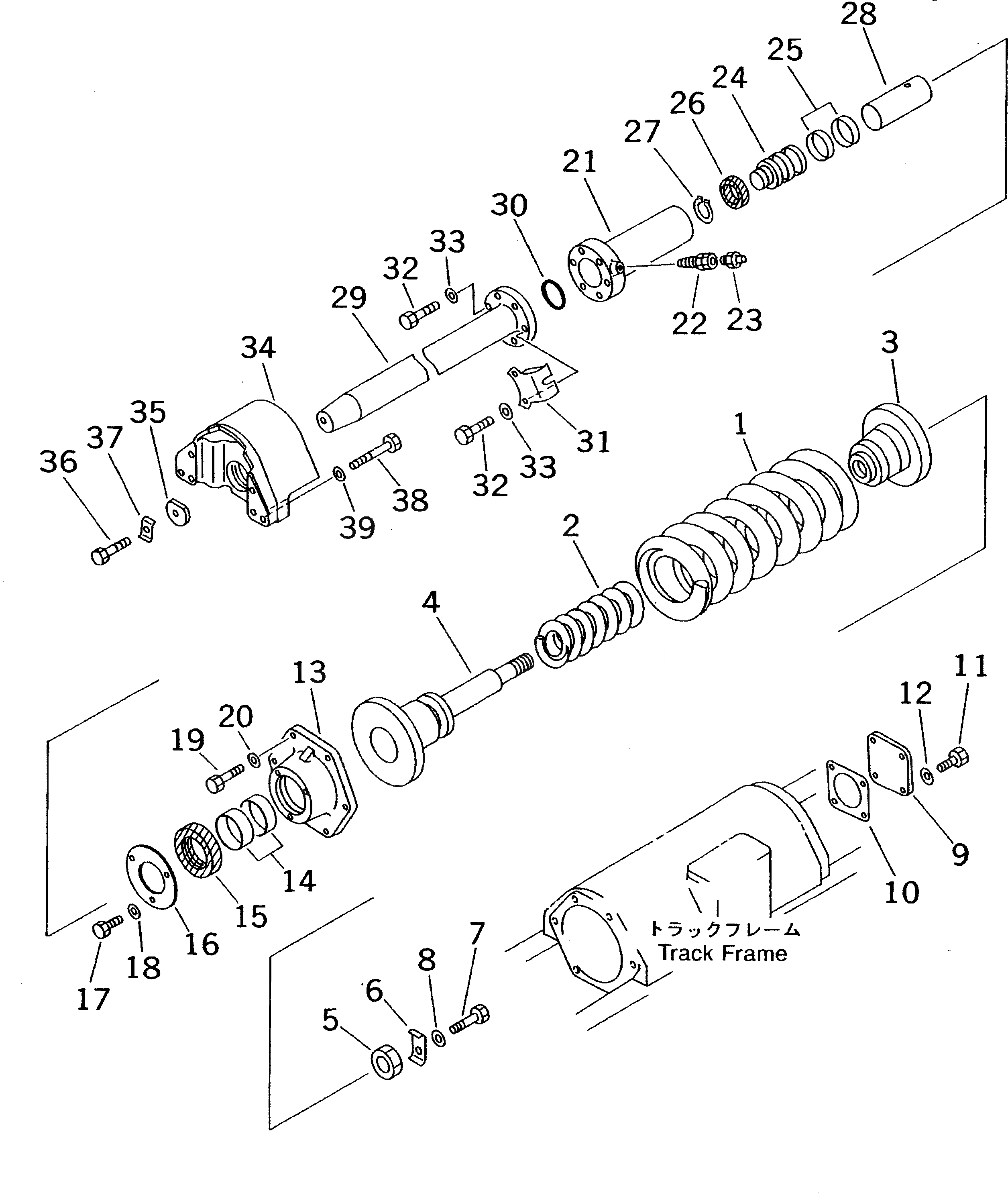
1

130-30-74110

SPRING,RECOIL

SN: 83001-UP

2шт.

2

130-30-74120

SPRING

SN: 83001-UP

2шт.

3

130-30-74160

PILOT

SN: 83001-UP

2шт.

4

130-30-74130

BOLT

SN: 83001-UP

2шт.

5

01580-03326

NUT

SN: 83001-UP

2шт.

6

141-30-14350

PLATE,LOCK

SN: 83001-UP

2шт.

7

01010-51016

BOLT

SN: 83001-UP

2шт.

8

01643-31032

WASHER

SN: 83001-UP

2шт.

9

144-30-14330

COVER

SN: 83001-UP

2шт.

10

145-30-34341

PACKING

SN: 83880-UP

2шт.

|10

145-30-34340

PACKING

SN: 83001-83879

2шт.

11

01010-51230

BOLT

SN: 83001-UP

8шт.

12

01643-31232

WASHER

SN: 83001-UP

8шт.

13

13F-30-31470

COVER

SN: 83001-UP

2шт.

14

07177-09035

BUSHING

SN: 83001-UP

4шт.

15

07019-00090

SEAL,DUST

SN: 83001-UP

2шт.

16

135-30-14620

COVER

SN: 83001-UP

2шт.

17

01010-51020

BOLT

SN: 83001-UP

6шт.

18

01643-31032

WASHER

SN: 83001-UP

6шт.

19

01010-51645

BOLT

SN: 83001-UP

12шт.

20

01643-31645

WASHER

SN: 83001-UP

12шт.

21

13F-30-31450

CYLINDER

SN: 83001-UP

2шт.

22

07959-30000

VALVE

SN: 83001-UP

2шт.

23

07020-00000

FITTING,GREASE

SN: 83001-UP

2шт.

24

131-30-44140

PISTON

SN: 83001-UP

2шт.

25

07155-00720

RING,WEAR

SN: 83001-UP

4шт.

26

09370-00070

U-PACKING

SN: 83001-UP

2шт.

27

04064-04518

RING,SNAP

SN: 83001-UP

2шт.

28

13F-30-31460

COLLAR

SN: 83001-UP

2шт.

29

13F-30-31411

ROD

SN: 83001-UP

2шт.

30

07000-15068

O-RING

SN: 83001-UP

2шт.

31

154-30-12320

COVER

SN: 83001-UP

2шт.

32

01010-51235

BOLT

SN: 83001-UP

12шт.

33

01643-31232

WASHER

SN: 83001-UP

12шт.

34

13F-30-31430

YOKE

SN: 83001-UP

2шт.

35

141-30-14130

WASHER

SN: 83001-UP

2шт.

36

01010-51840

BOLT

SN: 83001-UP

2шт.

37

141-30-14140

PLATE,LOCK

SN: 83001-UP

2шт.

38

01010-51675

BOLT

SN: 83001-UP

12шт.

39

01643-31645

WASHER

SN: 83001-UP

12шт.

Выбрано товаров: 40