Запчасти Komatsu D53P-18A CAR ОХЛАДИТЕЛЬ И ТРУБЫ (/) (ДЛЯ СТАЛЬНАЯ КАБИНА)(№8-89) КАБИНА ОПЕРАТОРА И СИСТЕМА УПРАВЛЕНИЯ

Схема запчастей Komatsu D53P-18A - CAR ОХЛАДИТЕЛЬ И ТРУБЫ (/) (ДЛЯ СТАЛЬНАЯ КАБИНА)(№8-89) КАБИНА ОПЕРАТОРА И СИСТЕМА УПРАВЛЕНИЯ
FIT
1:1
100%

Артикул

Название

Примечание

Количество

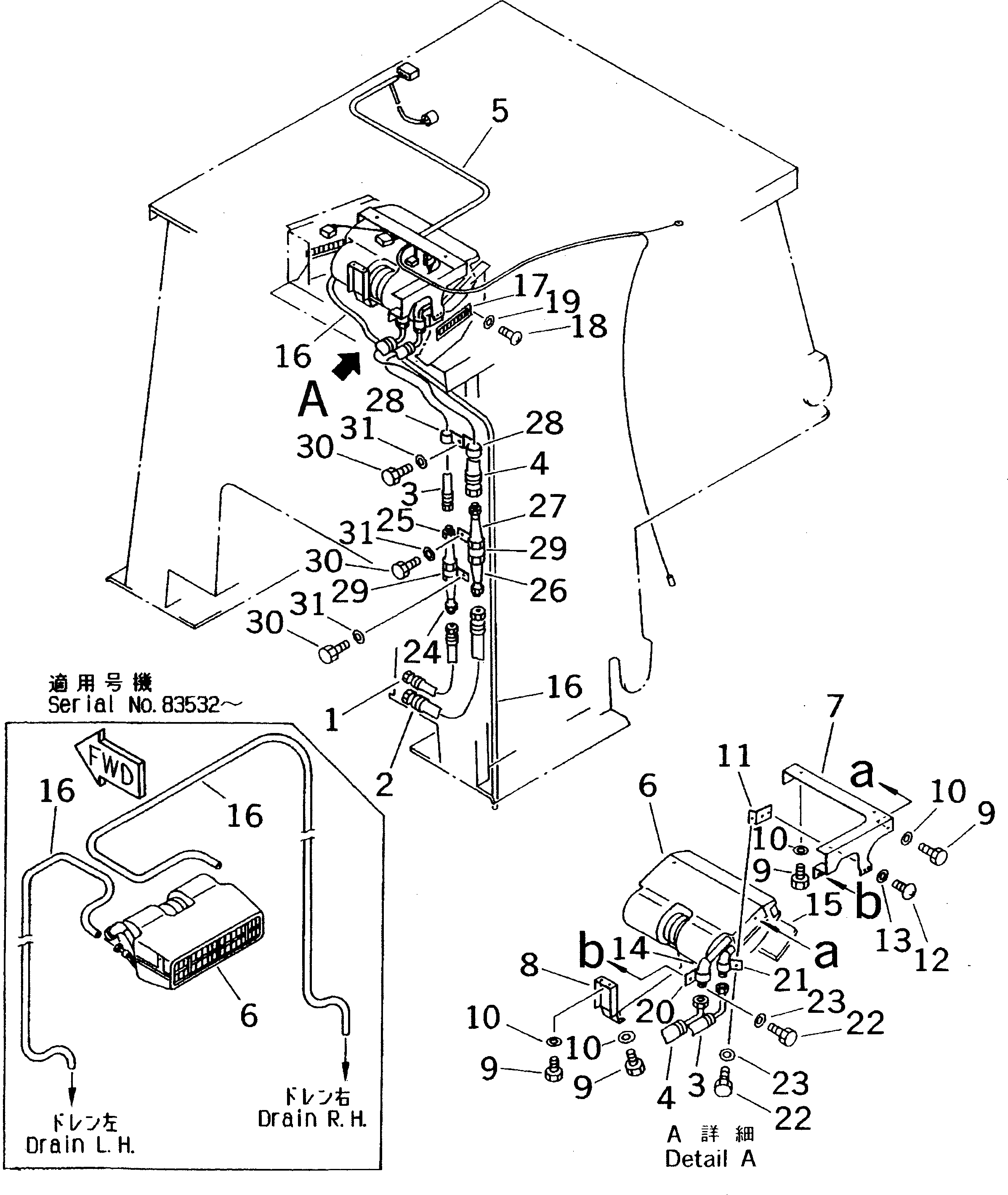
1

09488-50708

HOSE

SN: 83403-83910

1шт.

2

09488-50406

HOSE

SN: 83403-83910

1шт.

3

09488-70713

HOSE

SN: 83403-83910

1шт.

4

09488-70414

HOSE

SN: 83403-83910

1шт.

5

144-Y11-3210

WIRE ASS'Y

SN: 83403-@

1шт.

6

144-Y11-1810

COOLER ASS'Y,(SEE FIG.K0210-51A1)

SN: 83403-83910

1шт.

7

144-Y11-3410

BRACKET

SN: 83403-@

1шт.

8

144-Y11-3420

BRACKET

SN: 83403-@

1шт.

9

01010-50816

BOLT

SN: 83403-@

4шт.

10

01643-30823

WASHER

SN: 83403-@

4шт.

11

144-Y11-3450

BRACKET

SN: 83403-@

1шт.

12

01010-50616

BOLT

SN: 83403-@

2шт.

13

01643-30623

WASHER

SN: 83403-@

2шт.

14

144-Y11-3430

SEAL

SN: 83403-@

2шт.

15

144-Y11-3440

SHEET

SN: 83403-@

1шт.

16

144-Y11-1831

HOSE ASS'Y

SN: 83532-@

2шт.

|16

144-Y11-1830

HOSE ASS'Y

SN: 83403-83531

1шт.

17

144-Y11-1840

GRILLE ASS'Y,AIR OUTLET

SN: 83403-@

4шт.

18

01370-00516

SCREW

SN: 83403-@

8шт.

19

01641-20508

WASHER

SN: 83403-@

8шт.

20

08036-03014

CLIP

SN: 83403-@

1шт.

21

08036-11214

CLIP

SN: 83403-@

1шт.

22

01010-50820

BOLT

SN: 83403-@

2шт.

23

01643-30823

WASHER

SN: 83403-@

2шт.

24

144-Y11-1780

CONNECTOR

SN: 83403-83910

1шт.

25

144-Y11-1790

CONNECTOR

SN: 83403-83910

1шт.

26

198-911-4570

CONNECTOR

SN: 83403-83910

1шт.

27

198-911-4580

CONNECTOR

SN: 83403-83910

1шт.

28

08036-02514

CLIP

SN: 83403-@

2шт.

29

08036-03014

CLIP

SN: 83403-@

2шт.

30

01010-51020

BOLT

SN: 83403-@

3шт.

31

01643-31032

WASHER

SN: 83403-@

3шт.

Выбрано товаров: 32