Запчасти Komatsu D540E АККУМУЛЯТОР ДВИГАТЕЛЬ, АКСЕССУАРЫ И ЭЛЕКТРИЧ. СИСТЕМА

Схема запчастей Komatsu D540E - АККУМУЛЯТОР ДВИГАТЕЛЬ, АКСЕССУАРЫ И ЭЛЕКТРИЧ. СИСТЕМА
5
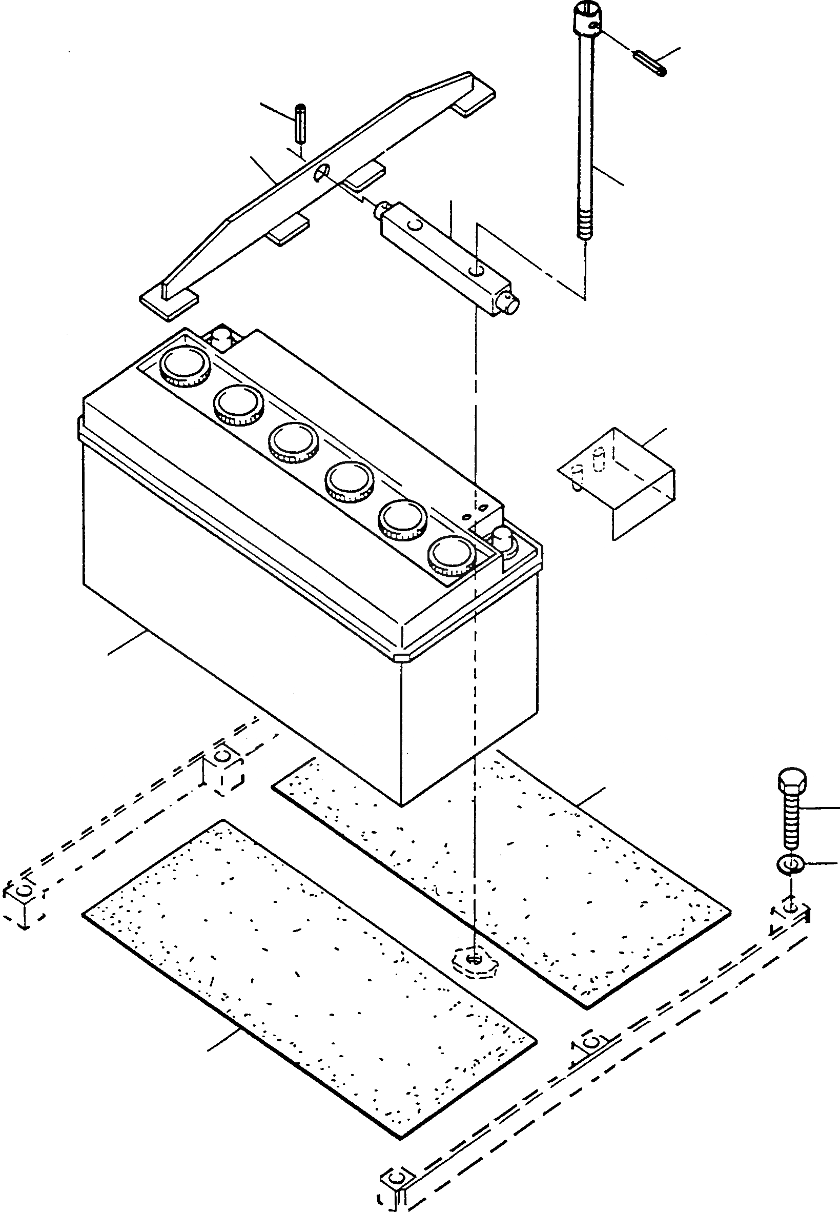
1
5
4
3
6
9
2
7
8
2
FIT
1:1
100%

Артикул

Название

Примечание

Количество

1

2993538X1

BATTERY

DeutschDesc: BATTERIE

2шт.

2

NOT USED

DeutschDesc: NICHT VERWENDET

-1шт.

3

2989407M91

BRACKET

DeutschDesc: HALTER

1шт.

4

2989410M91

BRACKET

DeutschDesc: HALTER

2шт.

5

3002168X1

ADAPTER SLEEVES

DeutschDesc: SPANNHUELSE

4шт.

6

2998512M1

SCREW

DeutschDesc: SCHRAUBE

2шт.

7

390799X1

SCREW

DeutschDesc: SCHRAUBE

6шт.

8

1443790X1

SPRING WASHER

DeutschDesc: FEDERRING

6шт.

9

4225100M1

SECURITY CAP

DeutschDesc: SCHUTZKAPPE

2шт.

Выбрано товаров: 9