Запчасти Komatsu D570E TIMING КОРПУС ШЕСТЕРЕНН. ПЕРЕДАЧИ И КАРТЕР МАХОВИКА ДВИГАТЕЛЬ, АКСЕССУАРЫ И ЭЛЕКТРИЧ. СИСТЕМА

Схема запчастей Komatsu D570E - TIMING КОРПУС ШЕСТЕРЕНН. ПЕРЕДАЧИ И КАРТЕР МАХОВИКА ДВИГАТЕЛЬ, АКСЕССУАРЫ И ЭЛЕКТРИЧ. СИСТЕМА
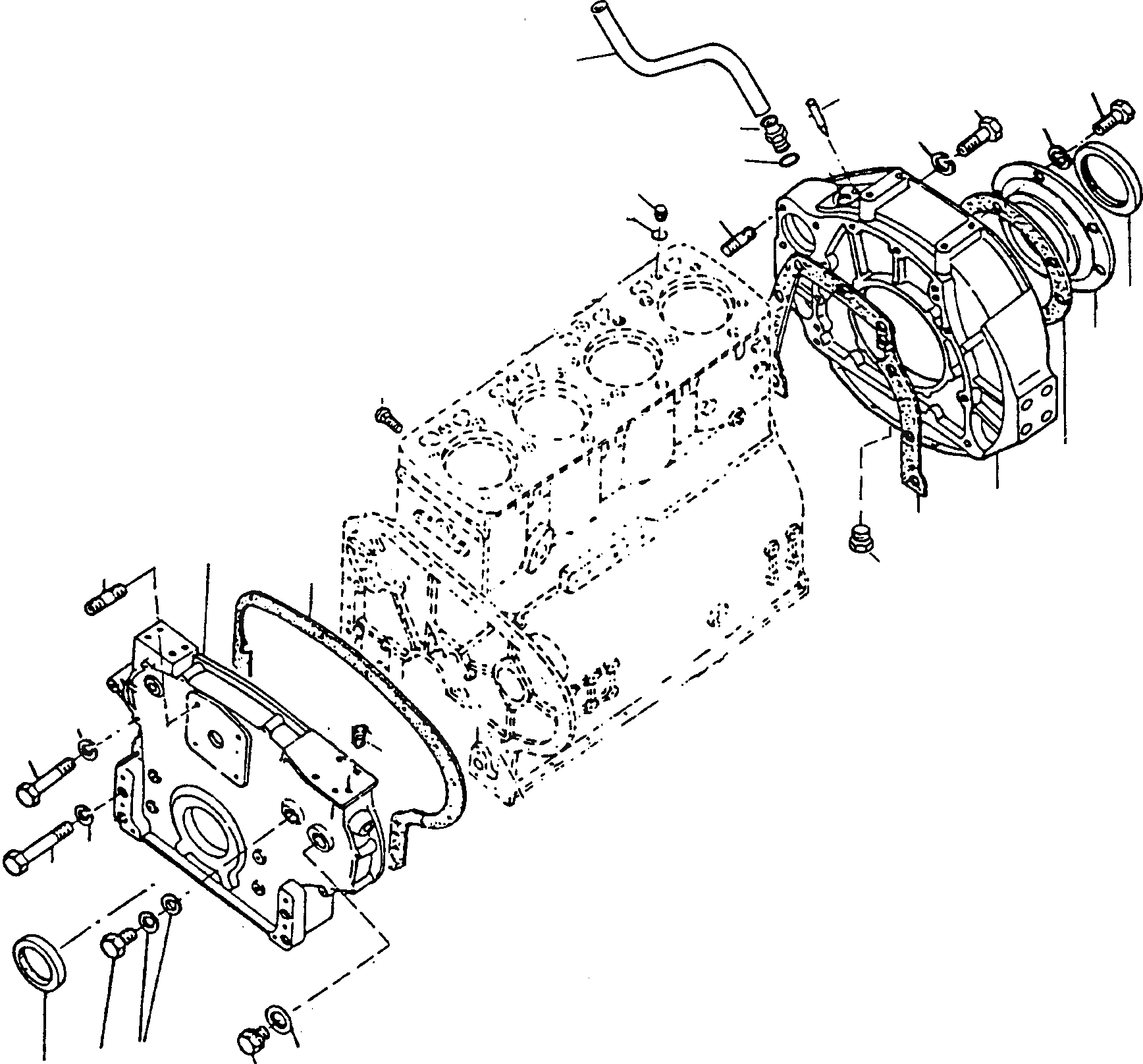
31
4
24
23
14
19
18
30
29
25
16
26
22
21
27
20
13
17
1
2
12
15
10
11
28
10
9
5
8
3
7
FIT
1:1
100%

Артикул

Название

Примечание

Количество

1

2992549M1

COVER

DeutschDesc: DECKEL

1шт.

2

1443735X1

STUD BOLT

DeutschDesc: STIFTSCHRAUBE

4шт.

3

2998590M2

SEAL

DeutschDesc: DICHTRING

1шт.

4

339423X1

SCREW

DeutschDesc: SCHRAUBE

1шт.

5

391376X1

SEAL

DeutschDesc: DICHTRING

2шт.

6

NOT USED

DeutschDesc: NICHT VERWENDET

-1шт.

7

1441511X1

PLUG

DeutschDesc: VERSCHLUSSSTOPFEN

1шт.

8

390855X1

SEAL

DeutschDesc: DICHTRING

1шт.

9

1443651X1

SCREW

DeutschDesc: SCHRAUBE

4шт.

10

1443789X1

SPRING WASHER

DeutschDesc: FEDERRING

13шт.

11

1443650X1

SCREW

DeutschDesc: SCHRAUBE

9шт.

12

2870925M1

GASKET

DeutschDesc: DICHTUNG

1шт.

13

2992377M1

FLYWHEEL HOUSING

DeutschDesc: SCHWUNGRADGEHAEUSE

1шт.

14

2868010M1

POINTER

DeutschDesc: ZEIGER

1шт.

15

3096979M1

PLUG

DeutschDesc: VERSCHLUSSSTOPFEN

1шт.

16

1444244X1

PLUG

DeutschDesc: VERSCHLUSSSTOPFEN

3шт.

17

2871070M1

GASKET

DeutschDesc: DICHTUNG

1шт.

18

1443792X1

SPRING WASHER

DeutschDesc: FEDERRING

9шт.

19

1444093X1

SCREW

DeutschDesc: SCHRAUBE

9шт.

20

2992761M1

GASKET

EnglischBem: REPAIRS AND REPLACES 2870 935 M1

1шт.

21

2969529M1

SEALING CARRIER

DeutschDesc: DICHTUNGSTRAEGER

1шт.

22

2999623M3

SEAL

DeutschDesc: DICHTRING

1шт.

23

1443789X1

SPRING WASHER

DeutschDesc: FEDERRING

6шт.

24

339123X1

SCREW

DeutschDesc: SCHRAUBE

6шт.

25

2976200M1

TUBE

DeutschDesc: ROHR

4шт.

26

2997352M1

O-RING

DeutschDesc: O-RING

4шт.

27

1444207X1

SCREW

DeutschDesc: SCHRAUBE

4шт.

28

3005574X1

GRUB SCREW

DeutschDesc: GEWINDESTIFT

1шт.

29

1444765X1

SEAL

DeutschDesc: DICHTRING

1шт.

30

2968768M91

COVER

DeutschDesc: DECKEL

1шт.

31

2995430X1

HOSE

EnglischBem: GOODS SOLD BY THE METER 2995 427 X1 630 MM

1шт.

Выбрано товаров: 31