Запчасти Komatsu D575A-2 КЛАПАН ТРАНСМИССИИ СИДЕНЬЕ (SUPER DOZER)(№-) ГТР CONVERTOR¤ ТРАНСМИССИЯ¤ РУЛЕВ. УПРАВЛЕНИЕ И КОНЕЧНАЯ ПЕРЕДАЧА

Схема запчастей Komatsu D575A-2 - КЛАПАН ТРАНСМИССИИ СИДЕНЬЕ (SUPER DOZER)(№-) ГТР CONVERTOR¤ ТРАНСМИССИЯ¤ РУЛЕВ. УПРАВЛЕНИЕ И КОНЕЧНАЯ ПЕРЕДАЧА
FIT
1:1
100%

Артикул

Название

Примечание

Количество

|$1

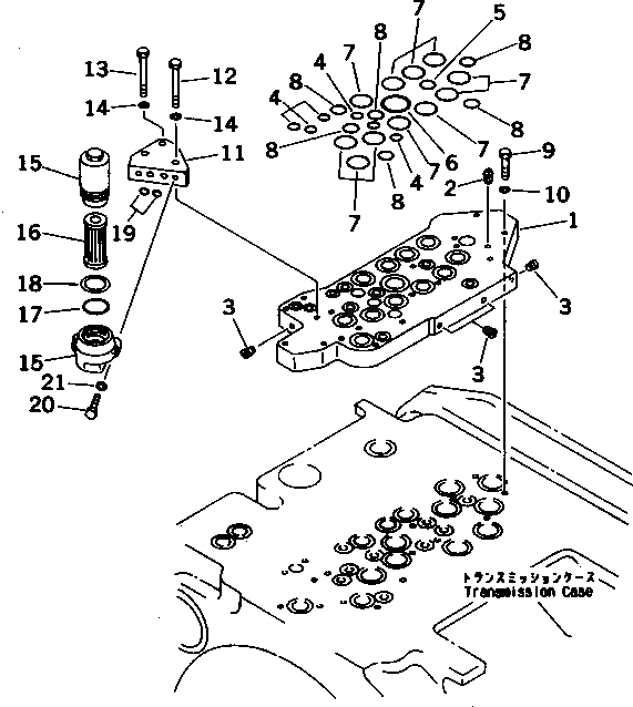
19M-15-01010

TRANSMISSION ASS'Y

SN: 10012-UP

1шт.

|$$2

THIS ASSEMBLY CONSISTS OF ALL PARTS SHOWN IN FIGS.F2320-51A2 TO F2320-61A2.

-1шт.

1

19M-15-15131

SEAT

SN: 10012-UP

1шт.

2

07042-20108

PLUG

SN: 10012-UP

1шт.

3

07043-00211

PLUG

SN: 10012-UP

4шт.

4

07000-73025

O-RING (K3)

SN: 10012-UP

6шт.

5

07000-73028

O-RING (K3)

SN: 10012-UP

1шт.

6

07000-73050

O-RING (K3)

SN: 10012-UP

1шт.

7

07000-73040

O-RING (K3)

SN: 10012-UP

11шт.

8

07000-72021

O-RING (K3)

SN: 10012-UP

6шт.

9

01010-81055

BOLT

SN: 10012-UP

4шт.

10

01643-31032

WASHER

SN: 10012-UP

4шт.

11

19M-15-15980

BLOCK

SN: 10012-UP

1шт.

12

01010-81090

BOLT

SN: 10012-UP

1шт.

13

01010-81090

BOLT

SN: 10012-UP

2шт.

14

01643-31032

WASHER

SN: 10012-UP

3шт.

15

426-15-16510

FILTER ASS'Y

SN: 10012-UP

1шт.

16

209-38-12470

ELEMENT

SN: 10012-UP

1шт.

17

209-38-12480

O-RING

SN: 10012-UP

1шт.

18

209-38-12490

RING,BACK-UP

SN: 10012-UP

1шт.

19

07000-72014

O-RING (K3)

SN: 10012-UP

2шт.

20

01010-81030

BOLT

SN: 10012-UP

2шт.

21

01643-31032

WASHER

SN: 10012-UP

2шт.

Выбрано товаров: 23