Запчасти Komatsu D575A-2 КЛАПАН ТРАНСМИССИИ (/) (SUPER DOZER)(№-) ГТР CONVERTOR¤ ТРАНСМИССИЯ¤ РУЛЕВ. УПРАВЛЕНИЕ И КОНЕЧНАЯ ПЕРЕДАЧА

Схема запчастей Komatsu D575A-2 - КЛАПАН ТРАНСМИССИИ (/) (SUPER DOZER)(№-) ГТР CONVERTOR¤ ТРАНСМИССИЯ¤ РУЛЕВ. УПРАВЛЕНИЕ И КОНЕЧНАЯ ПЕРЕДАЧА
FIT
1:1
100%

Артикул

Название

Примечание

Количество

|$1

19M-15-01010

TRANSMISSION ASS'Y

SN: 10012-UP

1шт.

|$$2

THIS ASSEMBLY CONSISTS OF ALL PARTS SHOWN IN FIGS.F2320-51A2 TO F2320-61A2.

-1шт.

|$3

19M-15-00350

CONTROL VALVE ASS'Y

SN: 10012-UP

1шт.

|$$4

THIS ASSEMBLY CONSISTS OF ALL PARTS SHOWN IN FIGS.F2320-58A2 TO F2320-60A2.

-1шт.

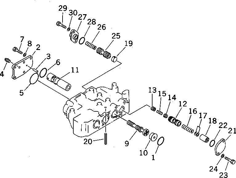
1

07000-73048

O-RING (K3)

SN: 10012-UP

1шт.

2

19M-15-15850

COVER

SN: 10012-UP

1шт.

3

04020-00514

PIN,DOWEL

SN: 10012-UP

1шт.

4

07042-20108

PLUG

SN: 10012-UP

1шт.

5

07000-72070

O-RING (K3)

SN: 10012-UP

1шт.

6

07000-73048

O-RING (K3)

SN: 10012-UP

1шт.

7

01010-81030

BOLT

SN: 10012-UP

5шт.

8

01643-31032

WASHER

SN: 10012-UP

5шт.

9

19M-15-25630

SPOOL,VALVE

SN: 10012-UP

1шт.

10

19M-15-15660

STOPPER

SN: 10012-UP

1шт.

11

19M-15-15610

SLEEVE

SN: 10012-UP

1шт.

12

198-15-25240

SPOOL,VALVE

SN: 10012-UP

1шт.

13

104-15-25480

VALVE

SN: 10012-UP

1шт.

14

104-15-25490

VALVE

SN: 10012-UP

1шт.

15

125-15-15290

SPRING

SN: 10012-UP

1шт.

16

198-15-26210

SPRING

SN: 10012-UP

1шт.

17

569-15-16480

SHIM, 0.5MM

SN: 10012-UP

2шт.

18

19M-15-15491

GUIDE

SN: 10012-UP

1шт.

19

19M-15-15650

STOPPER

SN: 10012-UP

1шт.

20

04025-00665

PIN,SPRING

SN: 10012-UP

1шт.

21

19M-15-15810

COVER

SN: 10012-UP

1шт.

22

07000-73038

O-RING (K3)

SN: 10012-UP

1шт.

23

01010-81030

BOLT

SN: 10012-UP

2шт.

24

01643-31032

WASHER

SN: 10012-UP

2шт.

25

175-15-14130

SPOOL,VALVE

SN: 10012-UP

1шт.

26

363-15-15291

SPRING

SN: 10012-UP

1шт.

27

19M-15-15891

RETAINER

SN: 10012-UP

1шт.

28

07000-73038

O-RING (K3)

SN: 10012-UP

1шт.

29

01010-81030

BOLT

SN: 10012-UP

2шт.

30

01643-31032

WASHER

SN: 10012-UP

2шт.

Выбрано товаров: 34